TOP
|
特許
|
意匠
|
商標
特許ウォッチ
Twitter
他の特許を見る
公開番号
2025176691
公報種別
公開特許公報(A)
公開日
2025-12-04
出願番号
2025080820
出願日
2025-05-13
発明の名称
インターメモリ/イントラメモリティアリングのためのシステム及び方法
出願人
三星電子株式会社
,
Samsung Electronics Co.,Ltd.
代理人
弁理士法人共生国際特許事務所
主分類
G06F
12/121 20160101AFI20251127BHJP(計算;計数)
要約
【課題】インターメモリ/イントラメモリティアリングを実行するためのシステム及び方法を提供する。
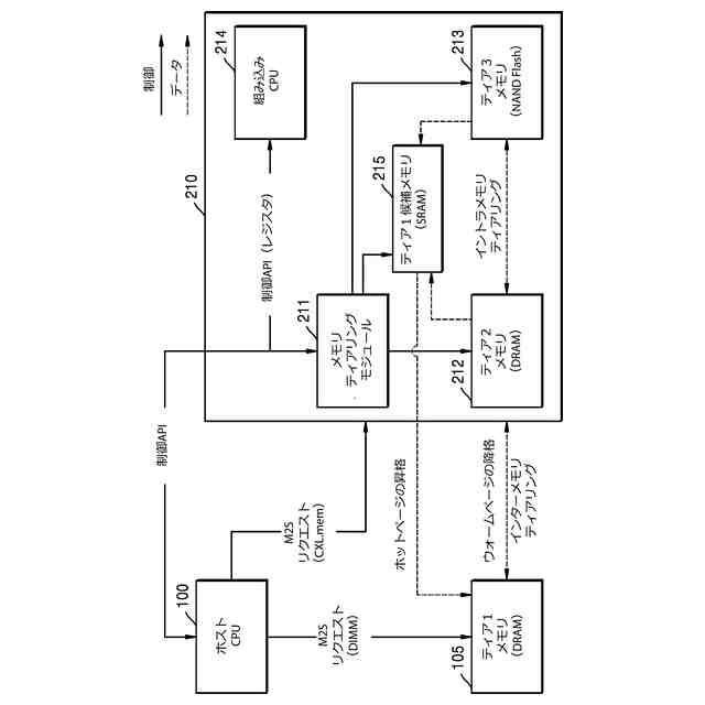
【解決手段】インターメモリ/イントラメモリティアリングシステムは、ホストCPUと、ティア1メモリと、ティア2メモリ及びティア3メモリを含むメモリモジュール110と、を備える。メモリモジュールは、ティア1メモリとメモリモジュールとの間でインターメモリティアリングを実行し、ティア2メモリとティア3メモリとの間でイントラメモリティアリングを実行する。
【選択図】図1
特許請求の範囲
【請求項1】
インターメモリ/イントラメモリティアリングを実行するためのシステムであって、
ホスト中央処理装置(CPU)と、
ティア1メモリと、
ティア2メモリ及びティア3メモリを含むメモリモジュールと、を備え、
前記メモリモジュールは、
前記ティア1メモリと前記メモリモジュールとの間でインターメモリティアリングを実行し、
前記ティア2メモリと前記ティア3メモリとの間でイントラメモリティアリングを実行するように構成されることを特徴とするシステム。
続きを表示(約 1,300 文字)
【請求項2】
前記ティア1メモリと前記メモリモジュールとの間の前記インターメモリティアリングは、前記メモリモジュールから前記ティア1メモリへのホットページの昇格、又は前記ティア1メモリから前記メモリモジュールへのウォームページの降格のうちの少なくとも1つを含むことを特徴とする請求項1に記載のシステム。
【請求項3】
前記ティア2メモリと前記ティア3メモリとの間の前記イントラメモリティアリングは、前記ティア3メモリから前記ティア2メモリへのウォームページの昇格、及び前記ティア2メモリから前記ティア3メモリへのコールドページの降格のうちの少なくとも1つを含むことを特徴とする請求項1に記載のシステム。
【請求項4】
前記メモリモジュールは、メモリティアリングモジュールを更に含み、
前記メモリティアリングモジュールは、
前記ホストCPUからインターメモリティアリング構成情報を受信し、
前記インターメモリティアリング構成情報に基づいてメモリページのページメタを追跡し、
前記追跡されたページメタに基づいて前記メモリページをホットページ又はウォームページのいずれかとして分類するように構成されることを特徴とする請求項1に記載のシステム。
【請求項5】
前記メモリティアリングモジュールは、前記メモリページがホットページとして分類された場合、前記ホットページを前記ホストCPUに報告するように更に構成されることを特徴とする請求項4に記載のシステム。
【請求項6】
前記ページメタは、アクセス頻度又は最新性(recency)の少なくとも1つを含むことを特徴とする請求項4に記載のシステム。
【請求項7】
前記メモリモジュールは、
組み込みCPUと、
メモリティアリングモジュールと、を更に含み、
前記メモリティアリングモジュールは、
前記組み込みCPUからイントラメモリティアリング構成情報を受信し、
前記イントラメモリティアリング構成情報に基づいてメモリページのページメタを追跡し、
前記追跡されたページメタに基づいて前記メモリページをホットページ、ウォームページ、又はコールドページのいずれかとして分類するように構成されることを特徴とする請求項1に記載のシステム。
【請求項8】
前記メモリティアリングモジュールは、前記メモリページがホットページとして分類された場合、前記ホットページを前記ホストCPUに報告するように更に構成されることを特徴とする請求項7に記載のシステム。
【請求項9】
前記ページメタは、アクセス頻度又は最新性のうちの少なくとも1つを含むことを特徴とする請求項7に記載のシステム。
【請求項10】
前記メモリティアリングモジュールは、前記メモリページがウォームページとして分類された場合、前記メモリページを前記ティア3メモリから前記ティア2メモリに移動するように更に構成されることを特徴とする請求項7に記載のシステム。
(【請求項11】以降は省略されています)
発明の詳細な説明
【技術分野】
【0001】
本発明は、一般的に、メモリティアリング(メモリ階層化)に関し、より詳細には、ホストシステム又は組み込み中央処理装置(CPU)と、例えばコンピュートエクスプレスリンク(CXL)メモリモジュール(CMM)などのメモリモジュールとの間で行われるインターメモリ/イントラメモリティアリング(inter/intra-memory tiering:メモリ間/メモリ内階層化)に関するシステム及び方法に関し、メモリティアリングに伴う動作オーバーヘッドを低減することによって、ホストシステム又は組み込みCPUの演算能力を向上させる。
続きを表示(約 1,800 文字)
【背景技術】
【0002】
ウェアハウススケールコンピュータ(WSC)とは、要求レベルとデータレベルとの並列性を利用できる多数のプロセッサを備えた階層的に組織されたシステムのことである。これらのシステムはクラウドインフラストラクチャの中核を構成し、検索エンジン、ソーシャルネットワーク、オンライン地図、動画共有プラットフォーム、オンラインショッピングサイト、電子メールサービスなど、何十億もの人々が日常的に利用するインターネットサービスを支える基本的なインフラストラクチャの一部を成している。
【0003】
しかし、数千ノード規模では、各アプリケーションからのアクセス頻度が低いコールドデータが平均して約25%発生し、このようなコールドデータをダイナミックランダムアクセスメモリ(DRAM)のような高価なメモリに配置すると、総所有コスト(TCO)が増加する。従って、このような問題に対処するため、データアクセス頻度に応じたメモリ階層がTCOの最適化に用いられてきた。
【0004】
より具体的に、既存のメモリティアリングは、主にデータの温度を「ホット」及び「コールド」の2つのカテゴリに分類し、例えばDRAMやNANDフラッシュなどのフラッシュメモリからなる2ティア(階層)のメモリにデータを配置することに焦点を当てている。即ち、ホットデータは、より高価なDRAM、即ちティア1メモリに保存されるのが好ましく、コールドデータは、より安価なNANDフラッシュ、即ちティア2メモリに保存されるのが好ましい。
【0005】
しかし、WSCにおいて必要とされるインメモリデータの種類は多様であり、そのサイズは常に増加し続けている。その結果、データの温度をホット及びコールドの2分類に限定し、2ティアのメモリを利用するだけでは、TCOを最適化するには不十分である。
【先行技術文献】
【特許文献】
【0006】
米国特許出願公開第2004/0486946号明細書
【発明の概要】
【発明が解決しようとする課題】
【0007】
本発明は、上記従来の問題点に鑑みてなされたものであって、本発明の目的は、複数のデータをティアリングされたメモリに効果的に配置するシステム及び方法を提供することにある。
【課題を解決するための手段】
【0008】
上記目的を達成するためになされた本発明の一態様によるインターメモリ/イントラメモリティアリングを実行するためのシステムは、ホスト中央処理装置(CPU)と、ティア1メモリと、ティア2メモリ及びティア3メモリを含むメモリモジュールと、を備え、前記メモリモジュールは、前記ティア1メモリと前記メモリモジュールとの間でインターメモリティアリングを実行し、前記ティア2メモリと前記ティア3メモリとの間でイントラメモリティアリングを実行するように構成される。
【0009】
上記目的を達成するためになされた本発明の一態様によるメモリモジュールによるインターメモリ/イントラメモリティアリングを実行するためのための方法は、ホスト中央処理装置(CPU)から、ティア1メモリと前記メモリモジュールとの間のインターメモリティアリングのための第1の構成情報を受信するステップと、前記メモリモジュールに含まれるCPUから、ティア2メモリとティア3メモリとの間のイントラメモリティアリングのための第2の構成情報を受信するステップと、メモリページのページメタを追跡するステップと、前記メモリページに対して、前記第1の構成情報及び追跡されたページメタに基づいて前記ティア1メモリと前記メモリモジュールとの間のインターメモリティアリング、又は前記第2の構成情報及び前記追跡されたページメタに基づいて前記ティア2メモリと前記ティア3メモリとの間のイントラメモリティアリングのいずれかを実行するステップと、を有し、前記ティア2メモリ及び前記ティア3メモリは、前記メモリモジュールに含まれる。
【発明の効果】
【0010】
本発明によれば、様々なワークロードに対して複数のデータ温度を効率的に分類し、ティアリングされたメモリ(階層化メモリ)の特性を考慮してそれらのデータをティアリングされたメモリに効果的に配置することができる。
(【0011】以降は省略されています)
この特許をJ-PlatPat(特許庁公式サイト)で参照する
関連特許
三星電子株式会社
半導体パッケージ
1日前
三星電子株式会社
半導体素子及びその製造方法
1日前
三星電子株式会社
半導体装置及びそれを含むデータ記憶システム
1日前
三星電子株式会社
インターメモリ/イントラメモリティアリングのためのシステム及び方法
2日前
個人
詐欺保険
1か月前
個人
縁伊達ポイン
1か月前
個人
職業自動販売機
22日前
個人
RFタグシート
1か月前
個人
5掛けポイント
29日前
個人
QRコードの彩色
1か月前
個人
ペルソナ認証方式
1か月前
個人
情報処理装置
1か月前
個人
自動調理装置
1か月前
個人
立体グラフの利用方法
1日前
個人
農作物用途分配システム
1か月前
個人
タッチパネル操作指代替具
1か月前
個人
サービス情報提供システム
24日前
NISSHA株式会社
入力装置
2日前
個人
インターネットの利用構造
1か月前
個人
学習用データ生成装置
3日前
個人
携帯端末障害問合せシステム
1か月前
個人
スケジュール調整プログラム
1か月前
個人
エリアガイドナビAIシステム
1か月前
キヤノン株式会社
情報処理装置
1か月前
トヨタ自動車株式会社
通知装置
1か月前
株式会社ワコム
電子ペン
1か月前
株式会社ワコム
電子ペン
1か月前
株式会社ケアコム
項目選択装置
1か月前
株式会社ケアコム
項目選択装置
1か月前
エッグス株式会社
情報処理装置
1か月前
キヤノン株式会社
情報処理装置
16日前
キヤノン株式会社
印刷システム
1か月前
キラル株式会社
顧客体験提供システム
4日前
キヤノン株式会社
画像認識装置
16日前
キヤノン株式会社
情報処理装置
16日前
大同大學
スーパーアプリ構築方法
16日前
続きを見る
他の特許を見る