TOP
|
特許
|
意匠
|
商標
特許ウォッチ
Twitter
他の特許を見る
10個以上の画像は省略されています。
公開番号
2025146778
公報種別
公開特許公報(A)
公開日
2025-10-03
出願番号
2025044337
出願日
2025-03-19
発明の名称
半導体素子
出願人
三星電子株式会社
,
Samsung Electronics Co.,Ltd.
代理人
弁理士法人共生国際特許事務所
主分類
H10D
30/47 20250101AFI20250926BHJP()
要約
【課題】安定した電気的特性を有し、信頼性が向上することができる半導体素子を提供する。
【解決手段】本発明による半導体素子は、メイントランジスタ、メイントランジスタの一端と接続されるサブトランジスタ、及びメイントランジスタの他端とサブトランジスタとの間に接続される抵抗素子を有し、チャンネル層の第1部分からなるメインチャンネル層、メインチャンネル層の上に配置されメインチャンネル層と異なるエネルギーバンドギャップを有する物質を含むバリア層を含み、サブトランジスタは、チャンネル層の第2部分からなり、第1二次元電子ガス(2DEG)領域を有する第1サブドリフト領域を含むサブチャンネル層を含み、抵抗素子は、チャンネル層の第3部分からなり、感知電極とメインソース電極との間に電気的に接続され、第22DEG領域を有する第2サブドリフト領域を含むチャンネルパターンを含む。
【選択図】図2
特許請求の範囲
【請求項1】
メイントランジスタと、前記メイントランジスタの一端と接続されるサブトランジスタと、前記メイントランジスタの他端と前記サブトランジスタとの間に接続される抵抗素子と、を有する半導体素子において、
前記半導体素子は、チャンネル層を含み、
前記メイントランジスタは、
前記チャンネル層の第1部分からなるメインチャンネル層と、
前記メインチャンネル層の上に配置され、前記メインチャンネル層と異なるエネルギーバンドギャップを有する物質を含むバリア層と、
前記バリア層の上に配置されるメインゲート電極と、
前記バリア層と前記メインゲート電極との間に配置されるゲート半導体層と、
前記メインゲート電極の両側に配置され、前記メインチャンネル層に接続されるメインソース電極及びメインドレイン電極と、を含み、
前記サブトランジスタは、
前記チャンネル層の第2部分からなり、第1二次元電子ガス(2DEG)領域を有する第1サブドリフト領域を含むサブチャンネル層と、
前記サブチャンネル層に接続され、前記メインドレイン電極の一端から延長されるサブドレイン電極と、
前記サブチャンネル層の上に配置されるサブゲート電極と、
前記サブチャンネル層の上に配置され、前記サブゲート電極の一側に位置する感知電極と、を含み、
前記サブチャンネル層の幅は、前記メインチャンネル層の幅と相違し、
前記抵抗素子は、前記チャンネル層の第3部分からなり、前記感知電極と前記メインソース電極との間に電気的に接続され、第2二次元電子ガス(2DEG)領域を有する第2サブドリフト領域を含むチャンネルパターンを含むことを特徴とする半導体素子。
続きを表示(約 1,000 文字)
【請求項2】
前記第2サブドリフト領域の抵抗は、正の温度抵抗係数を有し、
前記感知電極と前記チャンネルパターンとの間の第1コンタクトの抵抗及び前記メインソース電極と前記チャンネルパターンとの間の第2コンタクトの抵抗は、負の温度抵抗係数を有し、
前記第2サブドリフト領域の抵抗、第1コンタクトの抵抗、及び第2コンタクトの抵抗の合計は、温度に関係なく実質的に一定であることを特徴とする請求項1に記載の半導体素子。
【請求項3】
前記サブチャンネル層の幅は、前記メインチャンネル層の幅より小さいことを特徴とする請求項1に記載の半導体素子。
【請求項4】
前記メインドレイン電極及び前記サブドレイン電極は、第1方向に延長され、
前記チャンネルパターンは、前記第1方向に延長される部分を含むことを特徴とする請求項1に記載の半導体素子。
【請求項5】
前記チャンネルパターンの前記第1方向と交差する第2方向に沿った幅は、前記メインソース電極の前記第2方向に沿った幅と同じであることを特徴とする請求項4に記載の半導体素子。
【請求項6】
前記感知電極と前記メインソース電極との間の前記チャンネルパターンの前記第1方向に沿った長さは、1μm~10μmであることを特徴とする請求項4に記載の半導体素子。
【請求項7】
前記感知電極と前記メインソース電極との間の前記チャンネルパターンの前記第1方向に沿った長さは、3μm~4μmであることを特徴とする請求項6に記載の半導体素子。
【請求項8】
前記チャンネルパターンは、前記メインチャンネル層及び前記サブチャンネル層と同じ層に配置され、
前記チャンネルパターンは、前記メインチャンネル層及び前記サブチャンネル層と同じ物質を含むことを特徴とする請求項1に記載の半導体素子。
【請求項9】
前記バリア層は、前記サブチャンネル層及び前記チャンネルパターンの上にさらに配置されることを特徴とする請求項1に記載の半導体素子。
【請求項10】
前記サブゲート電極は、前記メインゲート電極と一体をなし、
前記サブドレイン電極は、前記メインドレイン電極と一体をなすことを特徴とする請求項9に記載の半導体素子。
(【請求項11】以降は省略されています)
発明の詳細な説明
【技術分野】
【0001】
本発明は、半導体素子に関し、特に、安定した電気的特性を有し、信頼性が向上することができる半導体素子に関する。
続きを表示(約 5,000 文字)
【背景技術】
【0002】
現代社会における半導体素子は、日常生活と密接な関連を有している。
特に、電気自動車、鉄道、電気トラムなどの交通分野、太陽光発電、風力発電などの再生エネルギーシステム、モバイル機器などの様々な分野で使用される電力半導体素子の重要度は徐々に高まっている。
電力半導体素子は、高電圧や高電流を扱うために使用される半導体素子として、大型電力システムや高出力電子装置で電力変換及び制御などの機能を行う。
電力半導体素子は、高い電力を処理することができる能力と耐久性を有しているため、大量の電流を扱うことができ、高電圧に耐えることができる。
例えば、電力半導体素子は、数百ボルトから数千ボルトの電圧、数十アンペアで数千アンペアの電流を処理する。
電力半導体素子は、電力損失を最少化して電気エネルギーの効率性を向上させることができる。
また、電力半導体素子は、高温などの環境でも安定して駆動することができる。
【0003】
このような電力半導体素子は、素材により区分することができ、例えば、SiC電力半導体素子、GaN電力半導体素子がある。
既存のシリコンウエハー(Siwafer)を代えてSiC又はGaNを活用して電力半導体素子を製造することにより、高温で不安定な特性を有するシリコンの短所を補うことができる。
SiC電力半導体素子は、高温に強く電力損失が少なく、電気自動車、再生エネルギーシステムなどに適している。
GaN電力半導体素子は、高費用が要求されるが速度面で効率的であり、モバイル機器の高速充電などに適している。
このような電力半導体素子の安定した電気的特性、信頼性の向上が常に課題となっている。
【発明の概要】
【発明が解決しようとする課題】
【0004】
本発明は上記従来の半導体素子による課題に鑑みてなされたものであって、本発明の目的は、安定した電気的特性を有し、信頼性が向上することができる半導体素子を提供することにある。
【課題を解決するための手段】
【0005】
上記目的を達成するためになされた本発明による半導体素子は、メイントランジスタと、前記メイントランジスタの一端と接続されるサブトランジスタと、前記メイントランジスタの他端と前記サブトランジスタとの間に接続される抵抗素子と、を有する半導体素子において、前記半導体素子は、チャンネル層を含み、前記メイントランジスタは、前記チャンネル層の第1部分からなるメインチャンネル層と、前記メインチャンネル層の上に配置され、前記メインチャンネル層と異なるエネルギーバンドギャップを有する物質を含むバリア層と、前記バリア層の上に配置されるメインゲート電極と、前記バリア層と前記メインゲート電極との間に配置されるゲート半導体層と、前記メインゲート電極の両側に配置され、前記メインチャンネル層に接続されるメインソース電極及びメインドレイン電極と、を含み、前記サブトランジスタは、前記チャンネル層の第2部分からなり、第1二次元電子ガス(2DEG)領域を有する第1サブドリフト領域を含むサブチャンネル層と、
前記サブチャンネル層に接続され、前記メインドレイン電極の一端から延長されるサブドレイン電極と、前記サブチャンネル層の上に配置されるサブゲート電極と、前記サブチャンネル層の上に配置され、前記サブゲート電極の一側に位置する感知電極と、を含み、前記サブチャンネル層の幅は、前記メインチャンネル層の幅と相違し、前記抵抗素子は、前記チャンネル層の第3部分からなり、前記感知電極と前記メインソース電極との間に電気的に接続され、第2二次元電子ガス(2DEG)領域を有する第2サブドリフト領域を含むチャンネルパターンを含むことを特徴とする。
【0006】
また、上記目的を達成するためになされた本発明による半導体素子は、メイントランジスタと、前記メイントランジスタの一端と接続されるサブトランジスタと、前記メイントランジスタの他端と前記サブトランジスタとの間に接続される抵抗素子と、を有する半導体素子において、前記半導体素子は、チャンネル層を含み、前記メイントランジスタは、前記チャンネル層の第1部分からなるメインチャンネル層と、前記メインチャンネル層の上に配置され、前記メインチャンネル層と異なるエネルギーバンドギャップを有する物質を含むバリア層と、前記バリア層の上に配置されるメインゲート電極と、前記バリア層と前記メインゲート電極との間に配置されるゲート半導体層と、前記メインゲート電極の両側に配置され、前記メインチャンネル層に接続されるメインソース電極及びメインドレイン電極と、を含み、前記サブトランジスタは、前記チャンネル層の第2部分からなり、第1二次元電子ガス(2DEG)領域を有する第1サブドリフト領域を含むサブチャンネル層と、前記サブチャンネル層に接続され、前記メインドレイン電極の一端から延長されるサブドレイン電極と、前記サブチャンネル層の上に配置されるサブゲート電極と、
前記サブチャンネル層の上に配置され、前記サブゲート電極の一側に位置する感知電極と、を含み、前記抵抗素子は、前記チャンネル層の第3部分からなり、前記感知電極と前記メインソース電極との間に位置し、第2二次元電子ガス(2DEG)領域を有する第2サブドリフト領域を含むチャンネルパターンを含み、前記感知電極と前記メインソース電極との間の前記チャンネルパターンの長さは、1μm~10μmであることを特徴とする。
【0007】
また、上記目的を達成するためになされた本発明による半導体素子は、メイントランジスタと、前記メイントランジスタの一端と接続されるサブトランジスタと、前記メイントランジスタの他端と前記サブトランジスタとの間に接続される抵抗素子と、を含む半導体素子において、前記半導体素子は、チャンネル層を含み、前記メイントランジスタは、前記チャンネル層の第1部分からなり、GaNを含むメインチャンネル層と、前記メインチャンネル層の上に配置され、AlGaNを含むバリア層と、前記バリア層の上に配置されるメインゲート電極と、前記バリア層と前記メインゲート電極との間に配置され、p型不純物がドーピングされるGaNを含むゲート半導体層と、前記メインゲート電極の両側に配置され、前記メインチャンネル層に接続されるメインソース電極及びメインドレイン電極と、を含み、前記サブトランジスタは、前記チャンネル層の第2部分からなり、前記メインチャンネル層と同じ物質を含み、第1二次元電子ガス(2DEG)領域を有する第1サブドリフト領域を含むサブチャンネル層と、前記サブチャンネル層に接続され、前記メインドレイン電極の一端から延長されるサブドレイン電極と、前記サブチャンネル層の上に配置されるサブゲート電極と、前記サブチャンネル層の上に配置され、前記サブゲート電極の一側に位置する感知電極と、を含み、前記サブチャンネル層の幅は、前記メインチャンネル層の幅と相違し、前記抵抗素子は、前記チャンネル層の第3部分からなり、前記メインチャンネル層と同じ物質を含み、前記感知電極と前記メインソース電極との間に位置し、第2二次元電子ガス(2DEG)領域を有する第2サブドリフト領域を含むチャンネルパターンを含み、前記第2サブドリフト領域の抵抗は、正の温度抵抗係数を有し、前記感知電極と前記チャンネルパターンとの間の第1コンタクトの抵抗及び前記メインソース電極と前記チャンネルパターンとの間の第2コンタクトの抵抗は、負の温度抵抗係数を有し、前記第2サブドリフト領域の抵抗、第1コンタクトの抵抗、及び第2コンタクトの抵抗の合計は、温度に関係なく実質的に一定であることを特徴とする。
【発明の効果】
【0008】
本発明に係る半導体素子によれば、メイントランジスタと、メイントランジスタの一端と接続されるサブトランジスタと、メイントランジスタの他端とサブトランジスタとの間に接続される抵抗素子とを有し、サブトランジスタのチャネル層の幅とメイントランジスタのチャネル層の幅を異なるように設計し、さらに、抵抗素子の二次元電子ガスとコンタクトを組み合わせて、抵抗温度係数がゼロに収束するようにすることができる。
その結果、メイントランジスタやサブトランジスタに流れる過大な電流を検出することができる。
【図面の簡単な説明】
【0009】
本発明の実施形態による半導体素子の概略構成を示す回路図である。
本発明の実施形態による半導体素子の概略構成を示す平面図である。
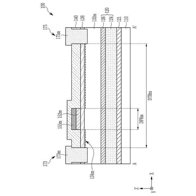
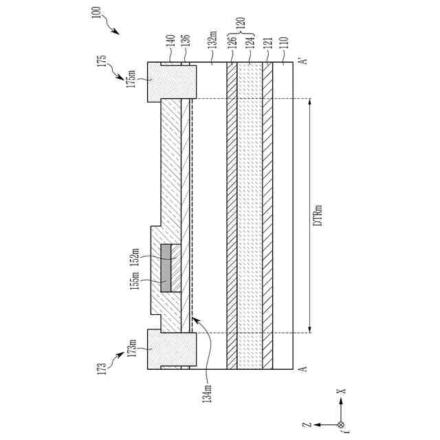
図2のA-A’線に沿って切断した断面図である。
図2のA-A’線に沿って切断した断面図である。
本発明の実施形態による半導体素子の周辺回路領域を示す平面図である。
図2のB-B’線に沿って切断した断面図である。
図2のC-C’線に沿って切断した断面図である。
図2のD-D’線に沿って切断した断面図である。
本発明のいくつかの実施形態による半導体素子を示す図2のD-D’線に対応する断面図である。
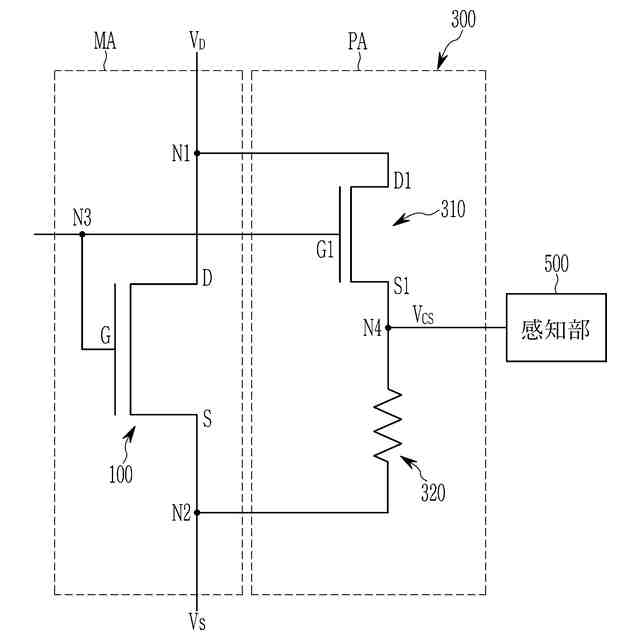
本発明の実施形態による半導体素子の抵抗素子を示す回路図である。
本発明の実施形態による半導体素子の抵抗素子の温度変化による抵抗値を示すグラフである。
本発明のいくつかの実施形態による半導体素子の周辺回路素子を示す平面図である。
本発明のいくつかの実施形態による半導体素子の周辺回路素子を示す平面図である。
本発明のいくつかの実施形態による半導体素子の周辺回路素子を示す平面図である。
本発明のいくつかの実施形態による半導体素子の周辺回路素子を示す平面図である。
本発明のいくつかの実施形態による半導体素子の周辺回路素子を示す平面図である。
本発明のいくつかの実施形態による半導体素子の周辺回路素子を示す平面図である。
本発明のいくつかの実施形態による半導体素子の周辺回路素子を示す平面図である。
本発明のいくつかの実施形態による半導体素子の周辺回路素子を示す平面図である。
本発明のいくつかの実施形態による半導体素子の抵抗素子を示す回路図である。
図20の抵抗素子を含む周辺回路素子を示す平面図である。
図20のE-E’線に沿って切断した断面図である。
図20の抵抗素子を含む周辺回路素子を示す平面図である。
図23のF-F’線に沿って切断した断面図である。
本発明のいくつかの実施形態による半導体素子の抵抗素子を示す回路図である。
図25の抵抗素子を含む周辺回路素子を示す平面図である。
図26の抵抗素子を拡大して示す平面図である。
図27のG-G’線に沿って切断した断面図である。
本発明のいくつかの実施形態による半導体素子の抵抗素子の図27のG-G’線に対応する断面図である。
本発明のいくつかの実施形態による半導体素子の抵抗素子を示す平面図である。
本発明のいくつかの実施形態による半導体素子の抵抗素子を示す回路図である。
図31の抵抗素子を拡大して示す平面図である。
本発明のいくつかの実施形態による半導体素子の抵抗素子を示す回路図である。
図32の抵抗素子を拡大して示す平面図である。
本発明のいくつかの実施形態による半導体素子を示す回路図である。
図35の実施形態による半導体素子を示す平面図である。
【発明を実施するための形態】
【0010】
次に、本発明に係る半導体素子を実施するための形態の具体例を図面を参照しながら説明する。
(【0011】以降は省略されています)
この特許をJ-PlatPat(特許庁公式サイト)で参照する
関連特許
三星電子株式会社
冷蔵庫
12日前
三星電子株式会社
冷蔵庫
4日前
三星電子株式会社
実装装置
24日前
三星電子株式会社
保持装置
24日前
三星電子株式会社
半導体装置
16日前
三星電子株式会社
半導体装置
1か月前
三星電子株式会社
半導体素子
1か月前
三星電子株式会社
半導体素子
1か月前
三星電子株式会社
半導体素子
19日前
三星電子株式会社
固体二次電池
23日前
三星電子株式会社
固体撮像素子
1か月前
三星電子株式会社
固体撮像装置
9日前
三星電子株式会社
半導体接合装置
24日前
三星電子株式会社
モータ駆動装置
16日前
三星電子株式会社
イメージセンサー
17日前
三星電子株式会社
半導体パッケージ
18日前
三星電子株式会社
半導体パッケージ
18日前
三星電子株式会社
集積回路パッケージ
11日前
三星電子株式会社
周辺回路領域を含む半導体素子
18日前
三星電子株式会社
イメージセンサ及びその動作方法
3日前
三星電子株式会社
イメージセンサー及びその動作方法
1か月前
三星電子株式会社
半導体パッケージ装置及びこの製造方法
1か月前
三星電子株式会社
回転磁気アレイ装置及び磁気冷凍システム
1か月前
三星電子株式会社
回転磁気アレイ装置及び磁気冷凍システム
1か月前
三星電子株式会社
シンプロビジョニングを通じたSSD仮想化
1か月前
三星電子株式会社
半導体装置及びこれを含むデータ記憶システム
3日前
三星電子株式会社
ハイブリッドピクセル及びハイブリッドセンサ
1か月前
三星電子株式会社
半導体装置およびこれを含む電力半導体システム
19日前
三星電子株式会社
プラズマエッチング工程を含む半導体素子の製造方法
9日前
三星電子株式会社
後面構造物を含む半導体チップを含む半導体パッケージ
3日前
三星電子株式会社
複数の波長を使用するライダーシステム及びその動作方法
19日前
三星電子株式会社
ニューロモルフィックコンピューティング装置及びその動作方法
1か月前
三星電子株式会社
キャパシタ構造物を含む半導体装置及びこれを含むデータ記憶システム
25日前
三星電子株式会社
キャパシタ構造物を含む半導体装置及びこれを含むデータ記憶システム
1か月前
三星電子株式会社
サブバンド全二重動作における複数の物理ランダム・アクセス・チャネル送信
16日前
三星電子株式会社
半導体装置及びその製造方法
3日前
続きを見る
他の特許を見る