TOP
|
特許
|
意匠
|
商標
特許ウォッチ
Twitter
他の特許を見る
10個以上の画像は省略されています。
公開番号
2025168212
公報種別
公開特許公報(A)
公開日
2025-11-07
出願番号
2024227656
出願日
2024-12-24
発明の名称
アンダーフィルフィルム及びアンダーフィルフィルムを含む半導体パッケージ
出願人
三星電子株式会社
,
Samsung Electronics Co.,Ltd.
代理人
弁理士法人共生国際特許事務所
主分類
H01L
23/29 20060101AFI20251030BHJP(基本的電気素子)
要約
【課題】改善されたアンダーフィルフィルム及びアンダーフィルフィルムを含む半導体パッケージを提供する。
【解決手段】本発明のアンダーフィルフィルムは、第1誘電率を有する第1フィルム層と、第1フィルム層上に配置されて第2誘電率を有する第2フィルム層と、を備え、第2誘電率は、第1誘電率よりも高い。
【選択図】図2
特許請求の範囲
【請求項1】
第1誘電率を有する第1フィルム層と、
前記第1フィルム層上に配置されて第2誘電率を有する第2フィルム層と、を備え、
前記第2誘電率は、前記第1誘電率よりも高いことを特徴とするアンダーフィルフィルム。
続きを表示(約 1,000 文字)
【請求項2】
前記第1フィルム層は、第1粘度を有し、
前記第2フィルム層は、第2粘度を有し、
前記第2粘度は、前記第1粘度よりも高いことを特徴とする請求項1に記載のアンダーフィルフィルム。
【請求項3】
前記第1フィルム層の最低粘度は、100Pa・s~3,000Pa・sであり、
前記第2フィルム層の最低粘度は、1,500Pa・s~10,000Pa・sであることを特徴とする請求項1に記載のアンダーフィルフィルム。
【請求項4】
前記第1フィルム層の最低粘度温度は、120℃~160℃であり、
前記第2フィルム層の最低粘度温度は、100℃~140℃であることを特徴とする請求項3に記載のアンダーフィルフィルム。
【請求項5】
前記第1フィルム層は、第1熱伝導度を有し、
前記第2フィルム層は、第2熱伝導度を有し、
前記第2熱伝導度は、前記第1熱伝導度よりも高いことを特徴とする請求項1に記載のアンダーフィルフィルム。
【請求項6】
前記第1フィルム層は、第1熱抵抗を有し、
前記第2フィルム層は、第2熱抵抗を有し、
前記第2熱抵抗は、前記第1熱抵抗よりも低いことを特徴とする請求項1に記載のアンダーフィルフィルム。
【請求項7】
第1熱硬化性樹脂及び第1無機フィラーを含む第1フィルム層と、
前記第1フィルム層上に配置されて第2熱硬化性樹脂及び第2無機フィラーを含む第2フィルム層と、を備え、
前記第1フィルム層は、第1誘電率を有し、
前記第2フィルム層は、第2誘電率を有し、
前記第2誘電率は、前記第1誘電率よりも高いことを特徴とするアンダーフィルフィルム。
【請求項8】
前記第1無機フィラーは、シリカを含むことを特徴とする請求項7に記載のアンダーフィルフィルム。
【請求項9】
前記シリカの粒子直径は、50nm~5μmであることを特徴とする請求項8に記載アンダーフィルフィルム。
【請求項10】
前記第1フィルム層のシリカ含有量は、前記第1フィルム層の総重量に対する比率として20wt%~60wt%であることを特徴とする請求項8に記載のアンダーフィルフィルム。
(【請求項11】以降は省略されています)
発明の詳細な説明
【技術分野】
【0001】
本発明は、アンダーフィルフィルム及びアンダーフィルフィルムを含む半導体パッケージに関する。
続きを表示(約 2,100 文字)
【背景技術】
【0002】
半導体産業分野は、電子機器の小型化及び軽量化要求に合わせて、電子機器に実装される半導体パッケージを小型化、軽量化、及び薄形化すると同時に高速化、多機能化、大容量化を追求している。したがって、より多いデータを貯蔵し、より速い速度のデータを送信できるパッケージング技術の必要性が高まっており、このようなパッケージング技術として、個別半導体ダイを複数個積層して形成される積層型半導体デバイス(例えば、高帯域幅メモリ(High Bandwidth Memory:HBM))が開発されている。
【0003】
積層型半導体デバイスは、同種又は異種半導体ダイの間の結合で製造されるが、このような半導体ダイの間の結合で重要なことは、半導体ダイが高いI/O(入出力)の密度を有して結合されなければならないことである。I/Oの密度を高めて、電気信号連結密度が半導体全工程(Front end process)における銅配線密度に似てくると、同種又は異種半導体チップを半導体後工程(Back end process)で結合しても半導体全工程で作った一つの半導体チップと同様の結果を出すことができる。
【0004】
このような積層型半導体デバイスを製造するために、フリップチップボンディング技術を半導体ダイの間の結合に適用する。フリップチップボンディング技術で製造された積層型半導体デバイスは、半導体ダイを電気的に接続させるためのマイクロバンプ、及び半導体ダイの間に配置されてマイクロバンプを保護するアンダーフィルフィルム(非導電性フィルム(Non-Conductive Film:NCF))を含む。アンダーフィルフィルムは、熱硬化性樹脂にシリカ基盤の無機フィラーが添加された素材、又は熱硬化性樹脂にアルミナ基盤の無機フィラーが添加された素材が使用される。
【0005】
シリカ基盤のアンダーフィルフィルムは、液体状態で低粘度を有する。これによって、シリカ基盤のアンダーフィルフィルムは、ボンディング工程を行う過程で積層された半導体ダイの間から外にアンダーフィルフィルムが突出するフィレットが形成される。フィレットが過剰に形成されると、積層型半導体デバイスの構造に影響を及ぼすようになり、積層型半導体デバイスの信頼性が低下する。また、シリカ基盤のアンダーフィルフィルムは、液体状態における低い粘度のために、ボンディング工程を行う過程でマイクロバンプのはんだを流動させ、マイクロバンプは流動したはんだによって短絡する可能性がある。それと共に、シリカ基盤のアンダーフィルフィルムは、低い熱伝導度及び高い熱抵抗を有するため、積層型半導体デバイスの放熱特性を低下させる問題がある。
【0006】
アルミナ基盤のアンダーフィルフィルムは、液体状態で高い粘度を有する。これにより、アルミナ基盤のアンダーフィルフィルムは、ボンディング工程を行う過程でボンディングパッドに対するマイクロバンプの濡れ(wetting)を妨げるようになり、このような妨害により、マイクロバンプはパッドにボンディングできないことがある。
【発明の概要】
【発明が解決しようとする課題】
【0007】
本発明は、上記従来の問題点に鑑みてなされたものであって、本発明の目的は、改善されたアンダーフィルフィルム及びアンダーフィルフィルムを含む半導体パッケージを提供することにある。
【課題を解決するための手段】
【0008】
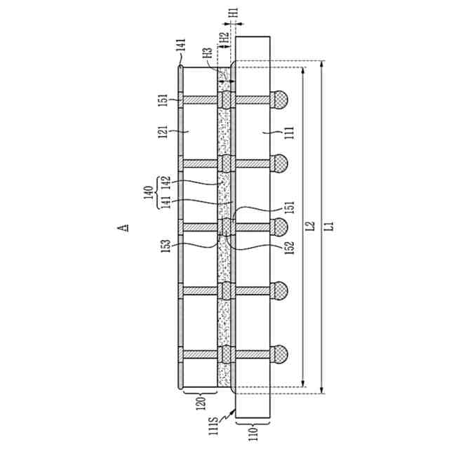
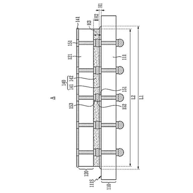
上記目的を達成するためになされた本発明の一態様によるアンダーフィルフィルムは、第1誘電率を有する第1フィルム層と、前記第1フィルム層上に配置されて第2誘電率を有する第2フィルム層と、を備え、前記第2誘電率は、前記第1誘電率よりも高い。
【0009】
上記目的を達成するためになされた本発明の他の態様によるアンダーフィルフィルムは、第1熱硬化性樹脂及び第1無機フィラーを含む第1フィルム層と、前記第1フィルム層上に配置されて第2熱硬化性樹脂及び第2無機フィラーを含む第2フィルム層と、を備え、前記第1フィルム層は、第1誘電率を有し、前記第2フィルム層は、第2誘電率を有し、前記第2誘電率は、前記第1誘電率よりも高い。
【0010】
上記目的を達成するためになされた本発明の一態様による半導体パッケージは、第1半導体ダイと、前記第1半導体ダイ上の第2半導体ダイと、前記第1半導体ダイと前記第2半導体ダイとの間の複数の接続部材と、前記第1半導体ダイと前記第2半導体ダイとの間の、前記複数の接続部材を取り囲むアンダーフィルフィルムと、を備え、前記アンダーフィルフィルムは、第1誘電率を有する第1フィルム層と、前記第1フィルム層上に配置されて第2誘電率を有する第2フィルム層と、を含み、前記第2誘電率は、前記第1誘電率よりも高い。
【発明の効果】
(【0011】以降は省略されています)
この特許をJ-PlatPat(特許庁公式サイト)で参照する
関連特許
三星電子株式会社
冷蔵庫
1か月前
三星電子株式会社
冷蔵庫
1か月前
三星電子株式会社
保持装置
1か月前
三星電子株式会社
実装装置
1か月前
三星電子株式会社
半導体素子
1か月前
三星電子株式会社
半導体装置
26日前
三星電子株式会社
半導体装置
4日前
三星電子株式会社
半導体装置
1か月前
三星電子株式会社
半導体装置
12日前
三星電子株式会社
固体撮像装置
1か月前
三星電子株式会社
固体二次電池
1か月前
三星電子株式会社
イメージセンサ
3日前
三星電子株式会社
イメージセンサ
25日前
三星電子株式会社
半導体接合装置
1か月前
三星電子株式会社
モータ駆動装置
1か月前
三星電子株式会社
半導体パッケージ
24日前
三星電子株式会社
半導体パッケージ
25日前
三星電子株式会社
半導体パッケージ
17日前
三星電子株式会社
イメージセンサー
11日前
三星電子株式会社
イメージセンサー
1か月前
三星電子株式会社
半導体パッケージ
1か月前
三星電子株式会社
半導体パッケージ
4日前
三星電子株式会社
半導体パッケージ
1か月前
三星電子株式会社
集積回路パッケージ
1か月前
三星電子株式会社
集積回路装置の製造方法
19日前
三星電子株式会社
トランスフォーマー加速装置
12日前
三星電子株式会社
周辺回路領域を含む半導体素子
1か月前
三星電子株式会社
半導体装置およびその製造方法
4日前
三星電子株式会社
スペーサを含む半導体パッケージ
3日前
三星電子株式会社
イメージセンサ及びその動作方法
1か月前
三星電子株式会社
イメージセンサ及びその動作方法
25日前
三星電子株式会社
半導体パッケージ及びその製造方法
11日前
三星電子株式会社
車両の走行を制御する方法と装置及び車両
3日前
三星電子株式会社
半導体装置及びこれを含むデータ記憶システム
1か月前
三星電子株式会社
半導体装置及びこれを含むデータ記憶システム
3日前
三星電子株式会社
オンチップ偏光ルーティングのシステム及び方法
4日前
続きを見る
他の特許を見る