TOP
|
特許
|
意匠
|
商標
特許ウォッチ
Twitter
他の特許を見る
10個以上の画像は省略されています。
公開番号
2025164918
公報種別
公開特許公報(A)
公開日
2025-10-30
出願番号
2025143649,2020204070
出願日
2025-08-29,2020-12-09
発明の名称
半導体装置及びその製造方法
出願人
三星電子株式会社
,
Samsung Electronics Co.,Ltd.
代理人
個人
,
個人
主分類
H10D
30/47 20250101AFI20251023BHJP()
要約
【課題】半導体装置及びその製造方法を提供する。
【解決手段】チャネル層、チャネル層上に提供されるチャネル供給層、チャネル供給層上に提供されるチャネル分離パターン、チャネル分離パターン上に提供されるゲート電極パターン、及びゲート電極パターンの第1側面からチャネル層の上面に平行な第1方向に沿って突出される電界緩和パターンを含み、該チャネル層は、チャネル層とチャネル供給層との界面に隣接するように形成されたチャネルを含み、ゲート電極パターンの第1方向に沿う大きさは、チャネル分離パターンの第1方向に沿う大きさと異なり、ゲート電極パターンと電界緩和パターンは、単一構造体をなす半導体装置である。
【選択図】図1
特許請求の範囲
【請求項1】
チャネル層と、
前記チャネル層上に提供されるチャネル供給層と、
前記チャネル供給層上に提供されるチャネル分離パターンと、
前記チャネル分離パターン上に提供されるゲート電極パターンと、
前記ゲート電極パターンの第1側面から、前記チャネル層の上面に平行な第1方向に沿って突出される電界緩和パターンと、を含み、
前記チャネル層は、前記チャネル層と前記チャネル供給層との界面に隣接するように形成されたチャネルを含み、
前記ゲート電極パターンの前記第1方向に沿う大きさは、前記チャネル分離パターンの前記第1方向に沿う大きさと異なり、
前記ゲート電極パターンと前記電界緩和パターンは、単一構造体をなす半導体装置。
続きを表示(約 1,100 文字)
【請求項2】
前記ゲート電極パターンの前記第1方向に沿う前記大きさは、前記チャネル分離パターンの前記第1方向に沿う前記大きさより小さい、請求項1に記載の半導体装置。
【請求項3】
前記ゲート電極パターンは、前記チャネル分離パターンの第1上面を露出させ、
前記チャネル分離パターンの前記第1上面は、前記電界緩和パターンの底面と互いに対向する、請求項2に記載の半導体装置。
【請求項4】
前記電界緩和パターンの前記底面の前記第1方向に沿う大きさは、前記チャネル分離パターンの前記第1上面の前記第1方向に沿う大きさより大きい、請求項3に記載の半導体装置。
【請求項5】
前記ゲート電極パターンは、前記チャネル分離パターンの第2上面を露出させ、
前記チャネル分離パターンの前記第1上面と前記第2上面は、前記第1方向に沿って互いに離隔され、
前記チャネル分離パターンの前記第1上面の前記第1方向に沿う大きさは、前記チャネル分離パターンの前記第2上面の前記第1方向に沿う大きさと異なる、請求項3に記載の半導体装置。
【請求項6】
前記電界緩和パターンと前記チャネル供給層との間に提供される第1パッシベーション膜をさらに含み、
前記チャネル分離パターンは、前記第1パッシベーション膜と前記チャネル供給層との間に提供され、
前記ゲート電極パターンは、前記第1パッシベーション膜を貫通し、前記チャネル分離パターンに直接接する、請求項1に記載の半導体装置。
【請求項7】
前記第1パッシベーション膜と前記チャネル分離パターンとの間に提供される第1パッシベーションパターンをさらに含み、
前記第1パッシベーション膜と前記第1パッシベーションパターンは、それぞれ互いに異なる絶縁物質を含む、請求項6に記載の半導体装置。
【請求項8】
前記第1パッシベーション膜は、窒化物を含み、
前記第1パッシベーションパターンは、酸化物を含む、請求項7に記載の半導体装置。
【請求項9】
前記第1パッシベーションパターンは、前記ゲート電極パターンの前記第1側面上に提供される、請求項7に記載の半導体装置。
【請求項10】
前記ゲート電極パターンの前記第1側面の反対側に提供される前記ゲート電極パターンの第2側面上に提供される第2パッシベーションパターンをさらに含み、
前記第2パッシベーションパターンは、前記第1パッシベーション膜と前記チャネル分離パターンとの間に提供される、請求項9に記載の半導体装置。
(【請求項11】以降は省略されています)
発明の詳細な説明
【技術分野】
【0001】
本発明は、半導体装置及びその製造方法に関する。
続きを表示(約 1,000 文字)
【背景技術】
【0002】
電力半導体装置として、高電子移動度トランジスタがある。該高電子移動度トランジスタは、バンドギャップ(band gap)が互いに異なる半導体物質層が隣接して形成された異種接合構造を含む。互いに異なるバンドギャップを有した物質が、異種接合構造に形成されることにより、バンドギャップが小さい半導体物質層に二次元電子ガス(2DEG:2-dimensional electron gas)層が誘導され、電子の移動速度などが向上しうる。
【発明の概要】
【発明が解決しようとする課題】
【0003】
本発明が解決しようとする課題は、電気的特性が向上された半導体装置を提供することである。
【0004】
本発明が解決しようとする課題は、また、電気的特性が向上された半導体装置の製造方法を提供することである。
【0005】
本発明が解決しようとする課題は、また、工程効率性が向上された半導体装置の製造方法を提供することである。
【0006】
ただし、本発明が解決しようとする課題は、上記の開示に限定されるものではない。
【課題を解決するための手段】
【0007】
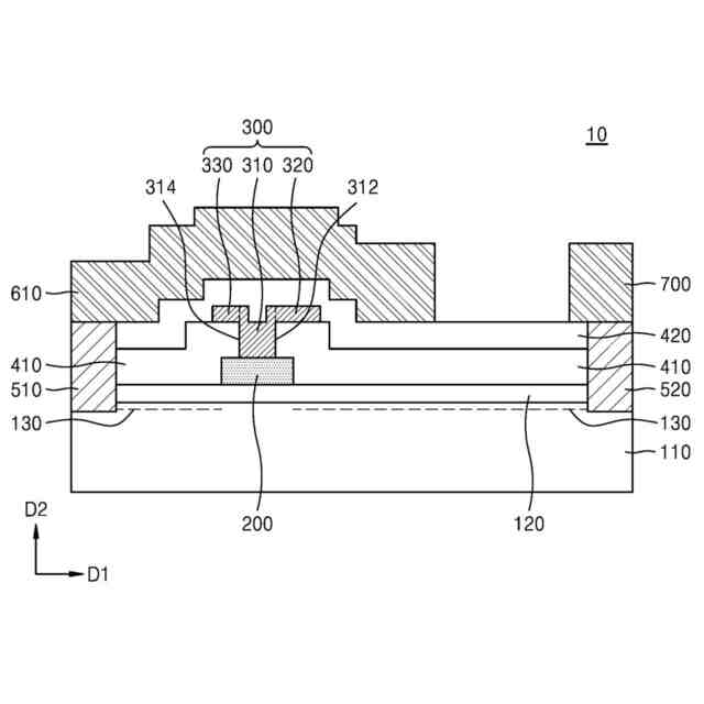
一側面において、チャネル層と、チャネル層上に提供されるチャネル供給層と、チャネル供給層上に提供されるチャネル分離パターンと、チャネル分離パターン上に提供されるゲート電極パターンと、ゲート電極パターンの第1側面から、チャネル層の上面に平行な第1方向に沿って突出される電界緩和パターンと、を含み、チャネル層は、チャネル層とチャネル供給層との界面に隣接するように形成されたチャネルを含み、ゲート電極パターンの第1方向に沿う大きさは、チャネル分離パターンの第1方向に沿う大きさと異なり、ゲート電極パターンと電界緩和パターンは、単一構造体をなす半導体装置が提供されうる。
【0008】
ゲート電極パターンの第1方向に沿う大きさは、チャネル分離パターンの第1方向に沿う大きさよりも小さい。
【0009】
ゲート電極パターンは、チャネル分離パターンの第1上面を露出させ、チャネル分離パターンの第1上面は、電界緩和パターンの底面と互いに対向することができる。
【0010】
電界緩和パターンの底面の第1方向に沿う大きさは、チャネル分離パターンの第1上面の第1方向に沿う大きさよりも大きくなる。
(【0011】以降は省略されています)
この特許をJ-PlatPat(特許庁公式サイト)で参照する
関連特許
三星電子株式会社
冷蔵庫
1か月前
三星電子株式会社
冷蔵庫
24日前
三星電子株式会社
実装装置
1か月前
三星電子株式会社
保持装置
1か月前
三星電子株式会社
半導体装置
1か月前
三星電子株式会社
半導体素子
1か月前
三星電子株式会社
半導体素子
1か月前
三星電子株式会社
半導体装置
3日前
三星電子株式会社
半導体装置
17日前
三星電子株式会社
固体撮像装置
29日前
三星電子株式会社
固体二次電池
1か月前
三星電子株式会社
イメージセンサ
16日前
三星電子株式会社
モータ駆動装置
1か月前
三星電子株式会社
半導体接合装置
1か月前
三星電子株式会社
半導体パッケージ
15日前
三星電子株式会社
半導体パッケージ
8日前
三星電子株式会社
半導体パッケージ
1か月前
三星電子株式会社
半導体パッケージ
1か月前
三星電子株式会社
イメージセンサー
2日前
三星電子株式会社
イメージセンサー
1か月前
三星電子株式会社
半導体パッケージ
16日前
三星電子株式会社
集積回路パッケージ
1か月前
三星電子株式会社
集積回路装置の製造方法
10日前
三星電子株式会社
トランスフォーマー加速装置
3日前
三星電子株式会社
周辺回路領域を含む半導体素子
1か月前
三星電子株式会社
イメージセンサ及びその動作方法
16日前
三星電子株式会社
イメージセンサ及びその動作方法
23日前
三星電子株式会社
イメージセンサー及びその動作方法
1か月前
三星電子株式会社
半導体パッケージ及びその製造方法
2日前
三星電子株式会社
シンプロビジョニングを通じたSSD仮想化
1か月前
三星電子株式会社
半導体装置及びこれを含むデータ記憶システム
23日前
三星電子株式会社
半導体装置およびこれを含む電力半導体システム
1か月前
三星電子株式会社
レジスト組成物及びそれを用いたパターン形成方法
15日前
三星電子株式会社
半導体パッケージング用フィルム及びその製造方法
15日前
三星電子株式会社
レジスト組成物及びそれを用いたパターン形成方法
2日前
三星電子株式会社
イメージセンサー及びその動作方法並びに電子装置
2日前
続きを見る
他の特許を見る