TOP
|
特許
|
意匠
|
商標
特許ウォッチ
Twitter
他の特許を見る
公開番号
2025162737
公報種別
公開特許公報(A)
公開日
2025-10-28
出願番号
2024066130
出願日
2024-04-16
発明の名称
冷却貯蔵庫
出願人
フクシマガリレイ株式会社
代理人
個人
主分類
F25C
1/00 20060101AFI20251021BHJP(冷凍または冷却;加熱と冷凍との組み合わせシステム;ヒートポンプシステム;氷の製造または貯蔵;気体の液化または固体化)
要約
【課題】製氷機が付設された冷却貯蔵庫において、ホットガス用のバイパス管を開閉する電磁弁を的確に空冷して、熱による電磁弁の劣化を防止する。
【解決手段】貯蔵室4を冷却する冷却ユニット8は、ユニットベース13上に搭載される蒸気圧縮式の冷凍機14と、冷凍機14の高圧部を空冷する冷却ファン22とを備える。製氷機10は、製氷ユニット36と、圧縮機46と凝縮器47を含み製氷ユニット36に冷媒を供給するコンデンシングユニット39と、凝縮器47を迂回して圧縮機46を製氷ユニット36に接続するバイパス管66とを備える。製氷機10の圧縮機46と冷却ユニット8の冷却ファン22との間に、冷却ファン22からの送風が圧縮機46に流れることを防ぐ遮断構造38が形成されている。バイパス管66を開閉する電磁弁68が、冷却ユニット8のユニットベース13上に配置されて、冷却ファン22によって空冷される。
【選択図】図1
特許請求の範囲
【請求項1】
冷却ユニット(8)により冷却される貯蔵室(4)と、貯蔵室(4)の外側に設置される製氷機(10)とを備える冷却貯蔵庫であって、
冷却ユニット(8)は、ユニットベース(13)と、ユニットベース(13)上に搭載される蒸気圧縮式の冷凍機(14)と、冷凍機(14)の高圧部を空冷する冷却ファン(22)とを備えており、
製氷機(10)は、製氷用水を氷結させて氷を製造する製氷ユニット(36)と、圧縮機(46)と凝縮器(47)を含み製氷ユニット(36)に冷媒を供給するコンデンシングユニット(39)と、凝縮器(47)を迂回して圧縮機(46)を製氷ユニット(36)に接続するバイパス管(66)とを備えており、
製氷機(10)の圧縮機(46)と冷却ユニット(8)の冷却ファン(22)との間に、冷却ファン(22)からの送風が圧縮機(46)に流れることを防ぐ遮断構造(38)が形成されており、
バイパス管(66)を開閉する電磁弁(68)が、冷却ユニット(8)のユニットベース(13)上に配置されて、冷却ファン(22)によって空冷されることを特徴とする冷却貯蔵庫。
続きを表示(約 220 文字)
【請求項2】
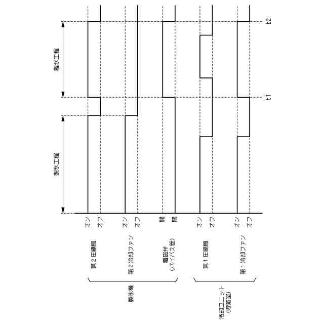
製氷機(10)は、コンデンシングユニット(39)を空冷する第2冷却ファン(50)を備えており、
電磁弁(68)の開放時に第2冷却ファン(50)が停止される請求項1に記載の冷却貯蔵庫。
【請求項3】
電磁弁(68)は、通電時にのみ開くノーマルクローズ型であり、
電磁弁(68)の閉鎖中かつ冷凍機(14)の停止中に、冷却ファン(22)が停止する請求項1または2に記載の冷却貯蔵庫。
発明の詳細な説明
【技術分野】
【0001】
本発明は、製氷機が付設された冷却貯蔵庫に関する。
続きを表示(約 2,200 文字)
【背景技術】
【0002】
この種の冷却貯蔵庫は、例えば特許文献1に開示されている。特許文献1の冷却貯蔵庫は、貯蔵対象物を貯蔵するための貯蔵室を有する断熱箱体と、貯蔵室を冷却するための第1冷却装置と、氷を生成するための製氷ユニットとを備える。縦長の直方体形状の断熱箱体は、上下および左右の4つの部屋に画成されており、その右下の部屋に製氷ユニットが収容されている。製氷ユニットは、水を凍結させる製氷部と、製氷部で生成した氷を貯蔵する貯氷部と、製氷部を冷却する第2冷却装置とを含んで構成されている。
【0003】
第2冷却装置は、圧縮機と凝縮器と膨張弁と蒸発管とを備え、これらは冷媒管によって連結されている。圧縮機で圧縮された冷媒は、凝縮器でファンの送風により冷却されて凝縮し、次いで膨張弁で減圧されたのち蒸発管に至り、製氷ユニットの製氷部を冷却する。さらに第2冷却装置は、圧縮機で圧縮された冷媒いわゆるホットガスを蒸発管へ送るバイパス管と、バイパス管を開閉する電磁弁(ホットガス弁)とを備える。この電磁弁を開くと、圧縮機から蒸発管にホットガスが供給されて、蒸発管を介して製氷部が加熱され、製氷部において形成された氷の表面が融解して、氷が製氷部から落下するように構成されている。
【先行技術文献】
【特許文献】
【0004】
特開2022-106149号公報
【発明の概要】
【発明が解決しようとする課題】
【0005】
ホットガス用のバイパス管を開閉する電磁弁は、通電により発熱するため、凝縮器を冷却するファンを利用して空冷することが望ましい。しかし、製氷ユニットの離氷工程中にファンを駆動させると、圧縮機が空冷されてホットガスの温度が下がり、離氷工程が長引くなどの不都合が生じることから、ファンを無条件で駆動させることはできない。
【0006】
本発明の目的は、製氷機が付設された冷却貯蔵庫において、ホットガス用のバイパス管を開閉する電磁弁を的確に空冷して、熱による電磁弁の劣化を防止することにある。
【課題を解決するための手段】
【0007】
本発明は、冷却ユニット8により冷却される貯蔵室4と、貯蔵室4の外側に設置される製氷機10とを備える冷却貯蔵庫を対象とする。冷却ユニット8は、ユニットベース13と、ユニットベース13上に搭載される蒸気圧縮式の冷凍機14と、冷凍機14の高圧部を空冷する冷却ファン22とを備える。製氷機10は、製氷用水を氷結させて氷を製造する製氷ユニット36と、圧縮機46と凝縮器47を含み製氷ユニット36に冷媒を供給するコンデンシングユニット39と、凝縮器47を迂回して圧縮機46を製氷ユニット36に接続するバイパス管66とを備える。製氷機10の圧縮機46と冷却ユニット8の冷却ファン22との間に、冷却ファン22からの送風が圧縮機46に流れることを防ぐ遮断構造38が形成されている。そして、バイパス管66を開閉する電磁弁68が、冷却ユニット8のユニットベース13上に配置されて、冷却ファン22によって空冷されることを特徴とする。
【0008】
製氷機10は、コンデンシングユニット39を空冷する第2冷却ファン50を備えており、電磁弁68の開放時に第2冷却ファン50が停止される。
【0009】
電磁弁68は、通電時にのみ開くノーマルクローズ型であり、電磁弁68の閉鎖中かつ冷凍機14の停止中に、冷却ファン22が停止する。
【発明の効果】
【0010】
本発明においては、冷却ユニット8に冷却される貯蔵室4と、貯蔵室4の外側に設置される製氷機10とを備える冷却貯蔵庫において、製氷機10の圧縮機46と冷却ユニット8の冷却ファン22との間に、冷却ファン22からの送風が圧縮機46に流れることを防ぐ遮断構造38を形成する。加えて、製氷機10の凝縮器47を迂回して圧縮機46を製氷ユニット36に接続するバイパス管66を開閉する電磁弁68を、冷却ユニット8のユニットベース13上に配置して、当該電磁弁68が冷却ファン22によって空冷されるようにする。上記構成によれば、冷却ファン22を駆動することで、製氷機10の電磁弁68を確実に空冷することができる。加えて、遮断構造38を設けたことにより、冷却ファン22からの送風により圧縮機46が空冷されることを防ぐことができる。以上のように、本発明によれば、冷却ファン22を駆動したとき、製氷機10の圧縮機46を空冷することなく、製氷機10の電磁弁68を空冷することができるので、冷却ファン22からの送風により製氷機10の圧縮機46が空冷される構成において生じ得る、圧縮機46内のホットガスの温度が下がり、離氷工程が長時間化する問題が生じることを防ぐことができる。また、本発明によれば、上記のように離氷工程が長時間化する問題を憂慮することなく、冷却ファン22を連続運転して、バイパス管66を開閉する電磁弁68を的確に空冷することができるので、熱により電磁弁68が劣化することを確実に防ぐことができる。さらに、冷却ユニット8の冷却ファン22により電磁弁68を空冷する構成であるため、電磁弁68を空冷するための専用のファンを設ける構成に比べて、冷却貯蔵庫のコスト上昇を抑えることができる。
(【0011】以降は省略されています)
この特許をJ-PlatPat(特許庁公式サイト)で参照する
関連特許
株式会社不二工機
膨張弁
1か月前
株式会社不二工機
膨張弁
1か月前
アクア株式会社
冷蔵庫
1日前
アクア株式会社
冷蔵庫
1日前
ホシザキ株式会社
冷凍装置
1か月前
フクシマガリレイ株式会社
断熱扉
1か月前
富士電機株式会社
自動販売機
29日前
フクシマガリレイ株式会社
冷却貯蔵庫
24日前
ダイキン工業株式会社
冷凍装置
1か月前
フクシマガリレイ株式会社
冷却貯蔵庫
1か月前
株式会社ゼロカラ
冷凍装置
9日前
株式会社ゼロカラ
冷凍装置
9日前
フクシマガリレイ株式会社
ショーケース
1か月前
アクア株式会社
冷蔵庫
1か月前
株式会社フィラディス
ワインセラー
1日前
ダイキン工業株式会社
冷媒充填方法
1か月前
フクシマガリレイ株式会社
商品販売システム
1か月前
アイ・ティ・イー株式会社
相変化判定システム
1日前
三菱電機株式会社
冷蔵庫
1日前
島田工業株式会社
製氷装置及び製氷方法
1か月前
アクア株式会社
冷却ボックス装置
14日前
株式会社アイシン
冷暖房システム
1か月前
アクア株式会社
冷却ボックス装置
14日前
株式会社富士通ゼネラル
冷凍サイクル装置
1か月前
株式会社前川製作所
冷却装置
1か月前
株式会社富士通ゼネラル
冷凍サイクル装置
1か月前
株式会社富士通ゼネラル
冷凍サイクル装置
1か月前
東芝ライフスタイル株式会社
冷却装置
1か月前
東芝ライフスタイル株式会社
冷却装置
1か月前
日本碍子株式会社
空調システム
1か月前
ダイキン工業株式会社
冷凍装置
1か月前
パナソニックIPマネジメント株式会社
冷蔵庫
14日前
パナソニックIPマネジメント株式会社
冷蔵庫
14日前
ホシザキ株式会社
冷却貯蔵庫
1か月前
東芝ライフスタイル株式会社
冷蔵庫
23日前
ダイキン工業株式会社
固体冷凍装置
1か月前
続きを見る
他の特許を見る