TOP
|
特許
|
意匠
|
商標
特許ウォッチ
Twitter
他の特許を見る
10個以上の画像は省略されています。
公開番号
2025159854
公報種別
公開特許公報(A)
公開日
2025-10-22
出願番号
2024062667
出願日
2024-04-09
発明の名称
膨張弁
出願人
株式会社不二工機
代理人
主分類
F25B
41/335 20210101AFI20251015BHJP(冷凍または冷却;加熱と冷凍との組み合わせシステム;ヒートポンプシステム;氷の製造または貯蔵;気体の液化または固体化)
要約
【課題】弁室内周面の摩耗の増大を防止しつつ、制振効果を向上できる膨張弁を提供すること。
【解決手段】膨張弁1は、弁本体10と、弁体20と、付勢装置40と、制振ばね70とを備える。付勢装置40は、弁室11内において、弁体20を挟んでオリフィス12と反対側に設けられる。付勢装置40は、コイルばね41と、コイルばね41が内方に配置されてコイルばね41を支持する筒状の支持部44とを備える。制振ばね70は、弁体20とコイルばね41との間に配置される基部71と、基部71から延出する複数の脚部72とを備える。脚部72は、弁室11の内周面に向かって延出する第1の部分と、支持部44側に屈曲するとともに弁室11の内周面に摺接する連結部と、支持部44に向かって延びてオリフィス12の軸方向で連結部を挟んでオリフィス12の反対側で支持部44の外周面に摺接する第2の部分とを備える。
【選択図】図1
特許請求の範囲
【請求項1】
弁室とオリフィスとを有する弁本体と、
前記弁室に配置された弁体と、
前記弁室内において、前記弁体を挟んで前記オリフィスと反対側に設けられる付勢装置であって、前記弁体を前記オリフィスに向かって付勢するコイルばねと、前記コイルばねが内方に配置されて前記コイルばねを支持する筒状の支持部とを備える付勢装置と、
前記弁体と前記付勢部材との間に配置される基部と、前記基部から延出する複数の脚部とを備える制振ばねと、
を具備し、
前記脚部は、前記弁室の内周面に向かって延出する第1の部分と、前記第1の部分に形成されて前記支持部側に屈曲するとともに前記弁室の内周面に圧接する肘部と、前記肘部に形成されて前記支持部に向かって延び、前記オリフィスの軸方向で、前記肘部を挟んで前記オリフィスと反対側で前記支持部の外周面に圧接する第2の部分とを備える制振ばねと、
を具備する膨張弁。
続きを表示(約 310 文字)
【請求項2】
前記肘部は、前記弁室の前記内周面に向かって突出する第1の突出部を有し、
前記第1の突出部の一部が前記内周面に圧接する、
請求項1に記載の膨張弁。
【請求項3】
前記第2の部分は、前記支持部の前記外周面に向かって突出する第2の突出部を有し、
前記第2の突出部の一部が前記外周面に圧接する、
請求項1または2に記載の膨張弁。
【請求項4】
前記第2の部分は、前記支持部から離れる側に向かって屈曲する屈曲部を有し、
前記屈曲部の、前記外周面に面する谷部の一部が前記支持部に圧接する、
請求項1または2に記載の膨張弁。
発明の詳細な説明
【技術分野】
【0001】
本発明は、膨張弁に関する。
続きを表示(約 1,900 文字)
【背景技術】
【0002】
従前から、空調用の冷凍サイクルに膨張弁が用いられている。膨張弁として、弁室に配置された弁体の振動を抑制する制振ばねを備える膨張弁が知られている。制振ばねとして、弁体と一体的に構成されて複数の脚部を備える制振ばねが知られている。複数の脚部は、弁室の内周面に圧接しており、板ばねとして作用する。この種の制振ばねは、弁体と一体的に変位し、この変位の際に複数の脚部が弁室の内周面に摺接する。弁体に生じた振動は、複数の脚部の弁室の内周面に対する摺接によって吸収されることで、抑制される(例えば、特許文献1参照)。
【先行技術文献】
【特許文献】
【0003】
特許第6697976
【発明の概要】
【発明が解決しようとする課題】
【0004】
上述の複数の脚部を備える制振ばねは、制振効果を向上する為に、複数の脚部の弁室内周面に対する荷重を増大することが考えられる。
しかしながら、弁室を内部に有する弁本体は、一般的にアルミニウムを主材料として形成されている。一方、制振ばねは、ステンレスを主材料として形成されている。このように、制振ばねの硬度が弁室内周面の硬度より高い。このため、複数の脚部の弁室内周面に対する荷重を増大すると、弁室内周面の摩耗量が大きくなるおそれがある。
【0005】
本発明は、弁室内周面の摩耗の増大を防止しつつ、制振効果を向上できる膨張弁を提供することを目的とする。
【課題を解決するための手段】
【0006】
膨張弁は、弁本体と、弁体と、付勢装置と、制振ばねとを備える。前記弁本体は、弁室とオリフィスとを有している。前記弁体は、前記弁室に配置される。前記付勢装置は、前記弁室内において、前記弁体を挟んで前記オリフィスと反対側に設けられる。前記付勢装置は、前記弁体を前記オリフィスに向かって付勢するコイルばねと、前記コイルばねが内方に配置されて前記コイルばねを支持する筒状の支持部とを備える。前記制振ばねは、前記弁体と前記コイルばねとの間に配置される基部と、前記基部から延出する複数の脚部とを備える。前記脚部は、前記弁室の内周面に向かって延出する第1の部分と、前記第1の部分に形成されて前記支持部側に屈曲するとともに前記弁室の内周面に圧接する肘部部と、前記肘部に形成されて前記支持部に向かって延び、前記オリフィスの軸方向で、前記肘部を挟んで前記オリフィスと反対側で前記支持部の外周面に圧接する第2の部分とを備える。
【発明の効果】
【0007】
本発明によれば、弁室内周面の摩耗の増大を防止しつつ、制振効果を向上できる膨張弁を提供できる。
【図面の簡単な説明】
【0008】
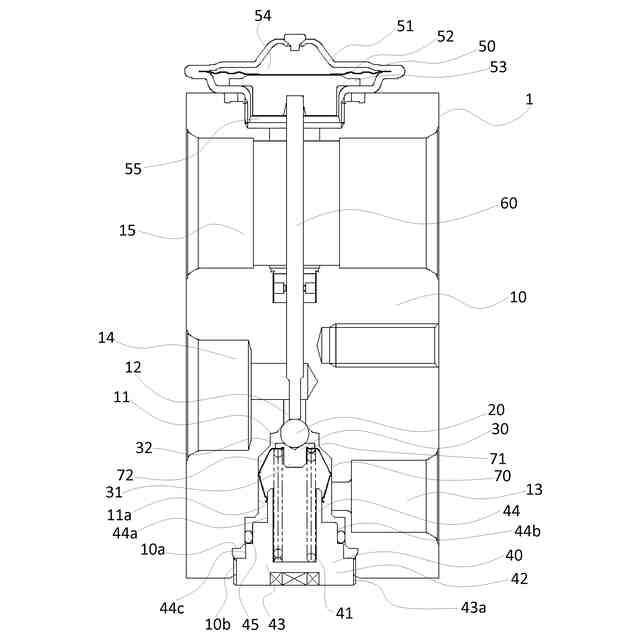
本発明の第1の実施形態に係る膨張弁を示す断面図。
同膨張弁の要部を一部分解して示す断面図。
同膨張弁の制振ばねを示す平面図。
同膨張弁の肘部及びその近傍を示す平面図。
同膨張弁の突出部及びその近傍を示す平面図。
本発明の第2の実施形態に係る膨張弁の要部を示す断面図。
同膨張弁の制振ばねの屈曲部及びその近傍を示す平面図。
図6の断面F8-F8線に沿って示す断面図。
本発明の第4の実施形態に係る膨張弁の要部を示す断面図。
同膨張弁の変形例を示す断面図。
【発明を実施するための形態】
【0009】
[第1の実施形態]
本発明の第1の実施形態に係る膨張弁1を、図1乃至図5を用いて説明する。
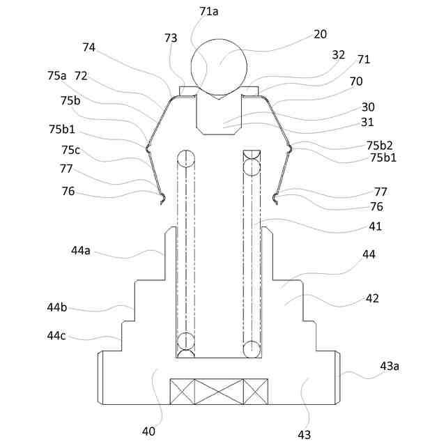
図1は、膨張弁1を示す断面図である。図2は、膨張弁1の要部を分解して示す断面図である。図2、弁体20と、弁体支持部材30と、制振ばね70と、付勢装置40とを示している。図3は、制振ばね70を示す平面図である。なお、図3は、制振ばね70の側部75の図示は省略されている。図4は、制振ばね70の脚部72の肘部75bを示す平面図である。図5は、制振ばね70の脚部72の突出部77を示す平面図である。
【0010】
図1に示すように、膨張弁1は、弁本体10と、弁体20と、弁体支持部材30と、付勢装置40と、パワーエレメント50と、作動棒60と、制振ばね70とを備えている。膨張弁1は、例えば車両に用いられる冷凍サイクルの一部である。膨張弁1は、コンデンサとエバポレータとの間の流路の一部と、エバポレータとコンプレッサとの間の流路の一部とを構成している。
(【0011】以降は省略されています)
この特許をJ-PlatPat(特許庁公式サイト)で参照する
関連特許
株式会社不二工機
電磁弁
12日前
株式会社不二工機
膨張弁
1か月前
株式会社不二工機
膨張弁
1か月前
株式会社不二工機
電動弁
2か月前
株式会社不二工機
流路切換弁
12日前
株式会社不二工機
流路切換弁
12日前
株式会社不二工機
流路切換弁
1か月前
株式会社不二工機
電動弁および弁装置
1か月前
株式会社不二工機
流路切換弁
1か月前
個人
製氷容器
10日前
株式会社不二工機
膨張弁
1か月前
株式会社不二工機
膨張弁
1か月前
アクア株式会社
冷蔵庫
18日前
アクア株式会社
冷蔵庫
18日前
富士電機株式会社
冷却装置
10日前
フクシマガリレイ株式会社
断熱扉
1か月前
ホシザキ株式会社
冷凍装置
1か月前
富士電機株式会社
自動販売機
1か月前
フクシマガリレイ株式会社
冷却貯蔵庫
1か月前
フクシマガリレイ株式会社
冷却貯蔵庫
1か月前
ダイキン工業株式会社
冷凍装置
1か月前
株式会社ゼロカラ
冷凍装置
26日前
株式会社ゼロカラ
冷凍装置
26日前
フクシマガリレイ株式会社
ショーケース
2か月前
ダイキン工業株式会社
冷媒充填方法
1か月前
株式会社フィラディス
ワインセラー
18日前
株式会社フィラディス
ワインセラー
3日前
フクシマガリレイ株式会社
商品販売システム
1か月前
FrostiX株式会社
冷凍システム
11日前
アクア株式会社
冷却ボックス装置
1か月前
アクア株式会社
冷却ボックス装置
1か月前
アイ・ティ・イー株式会社
相変化判定システム
18日前
三菱電機株式会社
冷蔵庫
18日前
東芝ライフスタイル株式会社
冷蔵庫
5日前
株式会社前川製作所
冷却装置
1か月前
株式会社富士通ゼネラル
冷凍サイクル装置
1か月前
続きを見る
他の特許を見る