TOP
|
特許
|
意匠
|
商標
特許ウォッチ
Twitter
他の特許を見る
公開番号
2025172637
公報種別
公開特許公報(A)
公開日
2025-11-26
出願番号
2024078257
出願日
2024-05-13
発明の名称
流路切換弁
出願人
株式会社不二工機
代理人
弁理士法人太陽国際特許事務所
主分類
F16K
31/53 20060101AFI20251118BHJP(機械要素または単位;機械または装置の効果的機能を生じ維持するための一般的手段)
要約
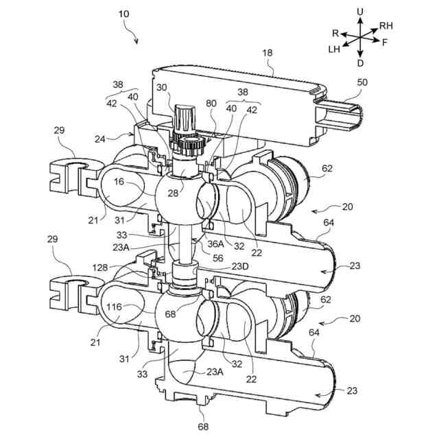
【課題】流路切換弁における切換えモードのバリエーションを増やす。
【解決手段】流路切換弁10は、上下2つの弁体16を1つの回転駆動部18により回転させると共に、歯車機構80により一方の弁体16を他方の弁体116より減速して回転させる。
【選択図】図3
特許請求の範囲
【請求項1】
上下2つの弁体を1つの回転駆動部により回転させると共に、歯車機構により一方の前記弁体を他方の前記弁体より減速して回転させる流路切換弁。
続きを表示(約 810 文字)
【請求項2】
2つの前記弁体は、互いに同方向に回転駆動される請求項1に記載の流路切換弁。
【請求項3】
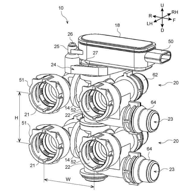
内部に弁室が形成されると共に、前記弁室を形成する壁面にそれぞれ流体が出入りする第一入出口及び第二入出口が形成され、前記弁室の底面に第三入出口が形成された弁本体と、前記弁室内に回転自在に配置され、かつ流路が形成された前記弁体と、前記第一入出口と連通する第一流路と、前記弁本体を挟んで前記第一流路に並設され、前記第二入出口と連通する第二流路と、前記第三入出口と連通し、前記第三入出口と反対側が開口した第三流路と、を備えた弁ユニットを有し、
一の前記弁ユニットに他の前記弁ユニットが重ねて連結され、
前記回転駆動部は、前記弁ユニットに連結され、前記第一入出口、前記第二入出口及び前記第三入出口の連通状態が前記弁体の前記流路を通じて選択的に切り換わるように前記弁体を回転させる請求項1又は請求項2に記載の流路切換弁。
【請求項4】
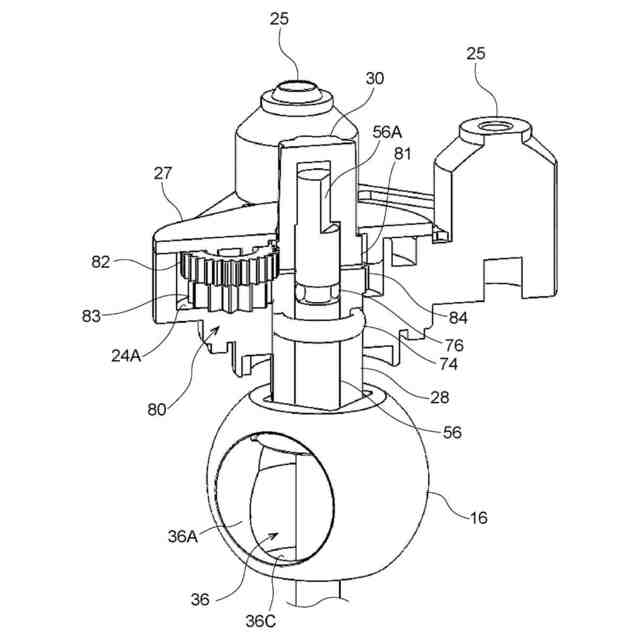
前記一方の弁体に取り付けられた一方の弁軸と、
前記他方の弁体に取り付けられた他方の弁軸と、
前記回転駆動部の駆動力を受けて回転駆動され、前記一方の弁軸に対して相対回転可能とされた駆動部材と、
一端側が前記一方の弁軸に対して回動自在に挿通されると共に前記駆動部材に結合され、他端側が前記他方の弁軸に結合された連結部材と、を有し、
前記歯車機構は、
前記駆動部材の外周に設けられた第1歯車と、
前記第1歯車と噛み合い、前記第1歯車より歯数の多い第2歯車と、
前記第2歯車の同軸上に設けられ前記第2歯車と一体的に回転する第3歯車と、
前記一方の弁軸の外周に設けられ、前記第3歯車と噛み合い、前記第3歯車より歯数の多い第4歯車と、
を有する請求項3に記載の流路切換弁。
発明の詳細な説明
【技術分野】
【0001】
本発明は、流路切換弁に関する。
続きを表示(約 1,100 文字)
【背景技術】
【0002】
バルブ本体内に回転する弁体を有し、5以上のポート(管継手)を有する制御弁(流路切換弁)が開示されている(特許文献1参照)。
【先行技術文献】
【特許文献】
【0003】
中国特許出願公開第111828682号明細書
【発明の概要】
【発明が解決しようとする課題】
【0004】
しかしながら、上記した従来例では、互いに連結された上下の弁体がモータに駆動されて同期して回転するため、上下のバルブにおいて切換えモードを異ならせることができないと考えられる。
【0005】
本発明は、流路切換弁における切換えモードのバリエーションを増やすことを目的とする。
【課題を解決するための手段】
【0006】
第1の態様に係る流路切換弁は、上下2つの弁体を1つの前記回転駆動部により回転させると共に、歯車機構により一方の前記弁体を他方の前記弁体より減速して回転させる流路切換弁。
【0007】
この流路切換弁では、上下2つの弁体を1つの回転駆動部により回転させて、流路を切り換える。このとき、歯車機構により一方の弁体を他方の弁体より減速して回転させるので、2つの弁体の回転角度に差が生じる。このため、2つの弁ユニットを互いに異なる切換えモードにすることができる。
【0008】
第2の態様は、第1の態様に係る流路切換弁において、2つの前記弁体は、互いに同方向に回転駆動される。
【0009】
この流路切換弁では、2つの弁体を互いに同方向に回転させつつ、一方の弁体の回転角度を他方の弁体の回転角度よりも小さくすることができる。
【0010】
第3の態様は、第1の態様又は第2の態様に係る流路切換弁において、内部に弁室が形成されると共に、前記弁室を形成する壁面にそれぞれ流体が出入りする第一入出口及び第二入出口が形成され、前記弁室の底面に第三入出口が形成された弁本体と、前記弁室内に回転自在に配置され、かつ流路が形成された前記弁体と、前記第一入出口と連通する第一流路と、前記弁本体を挟んで前記第一流路に並設され、前記第二入出口と連通する第二流路と、前記第三入出口と連通し、前記第三入出口と反対側が開口した第三流路と、を備えた弁ユニットを有し、一の前記弁ユニットに他の前記弁ユニットが重ねて連結され、前記回転駆動部は、前記弁ユニットに連結され、前記第一入出口、前記第二入出口及び前記第三入出口の連通状態が前記弁体の前記流路を通じて選択的に切り換わるように前記弁体を回転させる。
(【0011】以降は省略されています)
この特許をJ-PlatPat(特許庁公式サイト)で参照する
関連特許
株式会社不二工機
電磁弁
2日前
株式会社不二工機
膨張弁
1か月前
株式会社不二工機
膨張弁
1か月前
株式会社不二工機
電動弁
1か月前
株式会社不二工機
流路切換弁
2日前
株式会社不二工機
流路切換弁
2日前
株式会社不二工機
流路切換弁
1か月前
株式会社不二工機
電動弁および弁装置
1か月前
株式会社不二工機
流路切換弁
1か月前
個人
留め具
1か月前
個人
鍋虫ねじ
3か月前
個人
紛体用仕切弁
3か月前
個人
回転伝達機構
3か月前
個人
ホース保持具
7か月前
個人
差動歯車用歯形
5か月前
個人
トーションバー
7か月前
個人
ジョイント
2か月前
個人
給排気装置
1か月前
個人
ナット
2か月前
個人
地震の揺れ回避装置
4か月前
個人
ナット
23日前
株式会社不二工機
電磁弁
6か月前
株式会社不二工機
電磁弁
4か月前
個人
ゲート弁バルブ
8日前
個人
吐出量監視装置
2か月前
カヤバ株式会社
緩衝器
4か月前
兼工業株式会社
バルブ
24日前
カヤバ株式会社
緩衝器
1か月前
柿沼金属精機株式会社
分岐管
3か月前
カヤバ株式会社
緩衝器
4か月前
カヤバ株式会社
ダンパ
5か月前
株式会社三協丸筒
枠体
8か月前
カヤバ株式会社
ダンパ
5か月前
株式会社フジキン
ボールバルブ
5か月前
株式会社ニフコ
クリップ
8日前
株式会社奥村組
制振機構
2か月前
続きを見る
他の特許を見る