TOP
|
特許
|
意匠
|
商標
特許ウォッチ
Twitter
他の特許を見る
公開番号
2025173016
公報種別
公開特許公報(A)
公開日
2025-11-27
出願番号
2024078327
出願日
2024-05-14
発明の名称
冷凍システム
出願人
FrostiX株式会社
代理人
個人
,
個人
主分類
F25C
1/00 20060101AFI20251119BHJP(冷凍または冷却;加熱と冷凍との組み合わせシステム;ヒートポンプシステム;氷の製造または貯蔵;気体の液化または固体化)
要約
【課題】ブラインの流れを適切に制御できる氷スラリー製造装置を提供すること。
【解決手段】本発明の冷凍システムは、ブラインを貯えるスラリータンクと、スラリータンクの内側に配置されブラインに浸かることが可能な氷製作部と、を備え、氷製作部は、冷凍機から供給された冷媒をその内部に循環させると共に少なくともその1面でブラインの氷を生成する製氷面を有する製氷プレートと、製氷面に対し回転又は回転往復動することにより製氷面に生じた氷を製氷面から分離する掻き取り部と、掻き取り部の回転円の外周の一部に沿った曲面及び平面から構成された、ブラインの流れを制御する流れ制御部と、を有することを特徴とする冷凍システム。
【選択図】図2
特許請求の範囲
【請求項1】
ブラインを貯えるスラリータンクと、
前記スラリータンクの内側に配置されブラインに浸かることが可能な氷製作部と、
を備え、
前記氷製作部は、冷凍機から供給された冷媒をその内部に循環させると共に少なくとも片側の面でブラインの氷を生成する製氷面を有する製氷プレートと、
前記製氷面に対し回転又は回転往復動する回転部と、
前記回転部の回転円の外周の一部に沿った曲面を含む壁として構成された、流れ制御部と、
を有する冷凍システム。
続きを表示(約 350 文字)
【請求項2】
前記回転部は、
前記ブラインの流れを生成するブライン流生成部と、
前記製氷面に生じた氷を当該製氷面から分離する掻き取り部と、
を含む、請求項1に記載の冷凍システム。
【請求項3】
前記流れ制御部は、前記回転部の回転円の中心角が0°より大きく270°以下の弧に沿った曲面及び平面から構成された、請求項1又は請求項2に記載の冷凍システム。
【請求項4】
前記流れ制御部は、前記回転部の回転円の中心角が略180°の弧に沿った曲面を含む壁として構成された、請求項1又は請求項2に記載の冷凍システム。
【請求項5】
前記回転部は、前記製氷プレートの上側及び下側の両方に配置された、請求項4に記載の冷凍システム。
発明の詳細な説明
【技術分野】
【0001】
本発明は、例えば、食品、医薬品、動植物細胞やその他の被冷凍品を冷凍する氷スラリーを製造する冷凍システムに関する。
続きを表示(約 2,500 文字)
【背景技術】
【0002】
例えば、魚介類や精肉等といった生鮮食品を被冷凍品として冷凍し、これらの被冷凍品を保管したり輸送したりすることが一般に行われている。そして、被冷凍品の冷凍には氷スラリーが用いられ、被冷凍品を氷スラリーに浸け、瞬間的に凍らせて食材の鮮度が保たれる。また、後掲の特許文献1には、氷スラリー製造装置が開示されている。氷スラリー製造装置は、ブラインを貯える冷凍槽と、冷凍槽内に配置された氷スラリー作成部と、を備え、氷スラリー作成部は、冷凍機から供給された冷媒をその内部に循環させると共にブラインの氷を生成する板面を有するディスク部と、板面にブラインの流れを与えるノズル部と、板面に対し変位することにより板面に生じた氷を板面から分離する掃き取り部を有する。
【先行技術文献】
【特許文献】
【0003】
特開2022-108702号公報
【発明の概要】
【発明が解決しようとする課題】
【0004】
ところで、氷スラリー製造装置では、均一な氷濃度の氷スラリーを作製するために、生成したフレークアイスを冷凍槽内に混合分散できるようにブラインの流れを形成する必要がある。特許文献1に開示されたような氷スラリー製造装置では、氷スラリー作成部が作成した氷を冷凍槽内に循環させるために、ブラインに流れを与える噴射用ノズル部が設けられていた。しかしながら、ノズル部からの流れは、水溶液ポンプにより送出されるため、電気エネルギーを消費することやブラインの流れを最適に形成できないおそれがあった。
【0005】
本発明は、氷スラリーのブラインの流れを適切に制御できる冷凍システムを提供することを課題とする。
【課題を解決するための手段】
【0006】
(1)上記課題を解決するための本発明は、ブラインを貯えるスラリータンクと、前記スラリータンクの内側に配置されブラインに浸かることが可能な氷製作部と、を備え、前記氷製作部は、冷凍機から供給された冷媒をその内部に循環させると共に少なくとも片側の面でブラインの氷を生成する製氷面を有する製氷プレートと、前記製氷面に対し回転又は回転往復動する回転部と、前記回転部の回転円の外周の一部に沿った曲面及び平面から構成された、ブラインの流れを制御する流れ制御部と、を有することを特徴とする冷凍システムである。
(2)上記課題を解決するための他の発明は、前記回転部は、前記ブラインの流れを生成するブライン流生成部と、前記製氷面に生じた氷を当該製氷面から分離する掻き取り部と、を含む、請求項1に記載の冷凍システム。
(3)上記課題を解決するための他の発明は、前記流れ制御部は、前記回転部の回転円の中心角が0°より大きく270°以下の弧に沿った曲面及び平面から構成された、請求項1又は請求項2に記載の冷凍システムである。
(4)上記課題を解決するための他の発明は、前記流れ制御部は、前記回転部の回転円の中心角が略180°の弧に沿った曲面及び平面から構成された、請求項1又は請求項2に記載の冷凍システムである。
(5)上記課題を解決するための他の発明は、前記回転部は、前記製氷プレートの上側及び下側の両方に配置された、請求項4に記載の冷凍システムである。
【発明の効果】
【0007】
本発明によれば、氷スラリーのブラインの流れを適切に制御できる冷凍システムを提供することができる。
【図面の簡単な説明】
【0008】
本発明の冷凍システムの第1実施形態を概略的に示す斜視図である。
冷凍システムの内部構造を概略的に示す斜視図である。
冷凍機及び氷スラリー作成部などの配置例を示す側面図である。
冷凍機及び氷スラリー作成部などの配置例を示す側面図である。
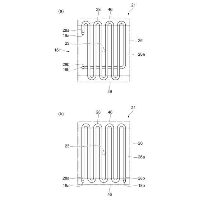
(a)はディスク部の冷媒配管に係る第1実施形態を模式的に示す平面図、(b)はディスク部の冷媒配管に係る第2実施形態を模式的に示す平面図である。
(a)は第1実施形態のブレードがディスク部から氷を分離する原理を模式的に示す側面図、(b)は第2実施形態のブレードがディスク部から氷を分離する原理を模式的に示す側面図、(c)は第3実施形態のブレードがディスク部から氷を分離する原理を模式的に示す側面図である。
(a)はケーシングの無いケース、(b)はフィンの回転円の中心角270°の円周を覆うケーシングを配置したケース、(c)はフィンの回転円の中心角180°の円周を覆うケーシングを配置したケース、の模式図である。
(a)はケーシングの無いケース、(b)はフィンの回転円の中心角270°の円周を覆うケーシングを配置したケース、(c)はフィンの回転円の中心角180°の円周を覆うケーシングを配置したケース、のブラインの流れのシミュレーション結果である。
【発明を実施するための形態】
【0009】
以下、添付図面を参照して、本発明の実施の形態について詳細に説明する。
図1は、本実施の形態が適用される冷凍システムの構成を示す図である。
図1に示す冷凍システム1は、氷製作部としての氷スラリー製氷機10、制御盤11、スラリータンク12、筐体13、断熱蓋13a、冷凍機14などを組み合わせて構成されている。
【0010】
氷スラリー製氷機10は、例えば食塩等の水溶液(ブラインとなる塩水)から氷を析出させてフレーク状(薄片状、剥片状、小塊状、或いは、粒状などともいう)の氷(フレークアイス)を作成する。ここで、ブラインは、元来は塩水のことを意味することもあるが、本実施形態では、間接冷凍法として使用する二次冷媒を意味する。ブラインは、比熱が大きく、伝導率が良く、粘性が小さく、凍結温度が低ければよい。塩化カルシウム水溶液、エチレングリコール水溶液、またはアルコールなどがブラインとして用いられる。
(【0011】以降は省略されています)
この特許をJ-PlatPat(特許庁公式サイト)で参照する
関連特許
株式会社不二工機
膨張弁
1か月前
株式会社不二工機
膨張弁
1か月前
アクア株式会社
冷蔵庫
8日前
アクア株式会社
冷蔵庫
8日前
フクシマガリレイ株式会社
断熱扉
1か月前
ホシザキ株式会社
冷凍装置
1か月前
富士電機株式会社
冷却装置
2か月前
富士電機株式会社
自動販売機
1か月前
フクシマガリレイ株式会社
冷却貯蔵庫
1か月前
ダイキン工業株式会社
冷凍装置
1か月前
フクシマガリレイ株式会社
冷却貯蔵庫
1か月前
フクシマガリレイ株式会社
ショーケース
1か月前
株式会社ゼロカラ
冷凍装置
16日前
株式会社ゼロカラ
冷凍装置
16日前
アクア株式会社
冷蔵庫
1か月前
株式会社フィラディス
ワインセラー
8日前
ダイキン工業株式会社
冷媒充填方法
1か月前
FrostiX株式会社
冷凍システム
1日前
フクシマガリレイ株式会社
商品販売システム
1か月前
島田工業株式会社
製氷装置及び製氷方法
1か月前
株式会社アイシン
冷暖房システム
1か月前
アイ・ティ・イー株式会社
相変化判定システム
8日前
三菱電機株式会社
冷蔵庫
8日前
アクア株式会社
冷却ボックス装置
21日前
アクア株式会社
冷却ボックス装置
21日前
株式会社富士通ゼネラル
冷凍サイクル装置
1か月前
株式会社前川製作所
冷却装置
1か月前
株式会社富士通ゼネラル
冷凍サイクル装置
1か月前
株式会社富士通ゼネラル
冷凍サイクル装置
1か月前
株式会社MARS Company
ドラム式製氷機
1日前
東芝ライフスタイル株式会社
冷却装置
1か月前
日本碍子株式会社
空調システム
1か月前
株式会社MARS Company
ドラム式製氷機
1日前
株式会社MARS Company
ドラム式製氷機
1日前
株式会社MARS Company
ドラム式製氷機
1日前
東芝ライフスタイル株式会社
冷却装置
1か月前
続きを見る
他の特許を見る