TOP
|
特許
|
意匠
|
商標
特許ウォッチ
Twitter
他の特許を見る
10個以上の画像は省略されています。
公開番号
2025171767
公報種別
公開特許公報(A)
公開日
2025-11-20
出願番号
2024077420
出願日
2024-05-10
発明の名称
冷蔵庫
出願人
アクア株式会社
代理人
個人
,
個人
主分類
F25D
23/00 20060101AFI20251113BHJP(冷凍または冷却;加熱と冷凍との組み合わせシステム;ヒートポンプシステム;氷の製造または貯蔵;気体の液化または固体化)
要約
【課題】 被皮剥食品の品質を落とすことなく、迅速に皮剥に適切な状態にする冷蔵庫を提供する。
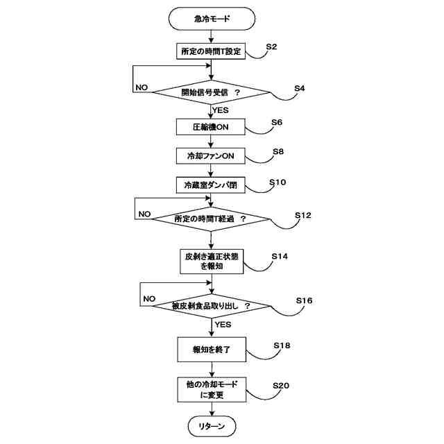
【解決手段】 収納部20と、収納部20に冷気を供給して冷却する冷却部と、冷却部を制御する制御部と、収納部20に配置された金属板状部材30と、を備え、金属板状部材30の上面に被皮剥食品Fが載置された状態で、制御部が冷却部を制御して、急冷モードで収納部20の冷却を開始し、急冷モードの冷却を開始した後、報知タイミングに達したとき、制御部により被皮剥食品Fが皮剥適正状態となったことを報知する冷蔵庫2を提供する。
【選択図】図3A
特許請求の範囲
【請求項1】
収納部と、
前記収納部に冷気を供給して冷却する冷却部と、
前記冷却部を制御する制御部と、
前記収納部に配置された金属板状部材と、
を備え、
前記金属板状部材の上面に被皮剥食品が載置された状態で、前記制御部が前記冷却部を制御して、急冷モードで前記収納部の冷却を開始し、
前記急冷モードの冷却を開始した後、報知タイミングに達したとき、前記制御部により前記被皮剥食品が皮剥適正状態となったことを報知することを特徴とする冷蔵庫。
続きを表示(約 620 文字)
【請求項2】
前記冷却部により生成された冷気が、前記収納部内において上側から斜め下側に吹き出され、冷気の一部が前記被皮剥食品に当たるとともに、冷気の一部が前記金属板状部材の上面に当たることを特徴とする請求項1に記載の冷蔵庫。
【請求項3】
前記冷却部により生成された冷気が、急冷ノズルを介して前記収納部の後方上側から前方下側へ向けて斜め下側に吹き出されることを特徴とする請求項2に記載の冷蔵庫。
【請求項4】
前記急冷ノズルの吹出中心軸が、前記金属板状部材の上面に対して5度以上46度以下の範囲の角度をなすように配置されていることを特徴とする請求項3に記載の冷蔵庫。
【請求項5】
上面視において、前記金属板状部材の上面に載置された前記被皮剥食品の投影総面積が、前記金属板状部材の上面の面積の20%以上70%以下の範囲にあることを特徴とする請求項1から4の何れか1項に記載の冷蔵庫。
【請求項6】
入力装置からの信号により、前記報知タイミングに対応する時間が設定される、または予め設定された複数の候補時間の中から選択されることを特徴とする請求項1から4の何れか1項に記載の冷蔵庫。
【請求項7】
前記収納部の冷却を行うとき、制御部が、通常の急冷モードよりも更に強い冷却を行うように前記冷却部を制御することを特徴とする請求項1から4の何れか1項に記載の冷蔵庫。
発明の詳細な説明
【技術分野】
【0001】
本発明は、野菜や果物といった被皮剥食品を冷却し、皮剥に適切な状態となったことを報知する機能を有する冷蔵庫に関する。
続きを表示(約 1,300 文字)
【背景技術】
【0002】
使用者の様々な要望に応えるため、冷蔵、冷凍機能に加えて、その他の様々な機能を有する冷蔵庫が提案されている。その中には、野菜または果物を冷却し、皮剥に適切な状態となったことを報知する機能を有する冷蔵庫が提案されている(例えば、特許文献1参照)。
【先行技術文献】
【特許文献】
【0003】
特開2016-223728号
【発明の概要】
【発明が解決しようとする課題】
【0004】
特許文献1に記載の冷蔵庫では、野菜室内に配置された皮剥用ボックスに野菜や果物を収納して冷却し、報知タイミングに達したときに皮が剥き易くなったことを報知するようになっている。しかし、樹脂製の皮剥用ボックスの底面に野菜や果物を載置し、上方の冷気吹出口から冷気を供給して冷却するので、吹き出された冷気が当たりにくい野菜や果物の下側の部分の冷却が不十分となり、野菜や果物の全体が皮剥に適切な状態となるまで長い時間を要する。
【0005】
また、冷却が不十分な野菜や果物の下側の部分が皮剥に適切な状態となったときには、野菜や果物の上側の部分が内部まで凍結し、ドリップが生じて品質が低下する問題が生じる。
【0006】
よって、本発明の目的は、上記の課題を解決するものであり、被皮剥食品を適切に冷却して、被皮剥食品の品質を落とすことなく、迅速に皮剥に適切な状態にする冷蔵庫を提供することにある。
【課題を解決するための手段】
【0007】
上記の目的を達成するため、本発明の第1の態様は、
収納部と、
前記収納部に冷気を供給して冷却する冷却部と、
前記冷却部を制御する制御部と、
前記収納部に配置された金属板状部材と、
を備え、
前記金属板状部材の上面に被皮剥食品が載置された状態で、前記制御部が前記冷却部を制御して、急冷モードで前記収納部の冷却を開始し、
前記急冷モードの冷却を開始した後、報知タイミングに達したとき、前記制御部により前記被皮剥食品が皮剥適正状態となったことを報知する冷蔵庫である。
【0008】
本態様によれば、収納部に供給された冷気により、被皮剥食品とともに金属板状部材も冷却される。よって、金属板状部材の上面に載置された被皮剥食品は、供給された冷気により冷却されるとともに、冷気が届きにくい下側の領域は金属板状部材により効果的に冷却される。よって、被皮剥食品を偏り少なく冷却することができ、被皮剥食品の全周の表面及びその近傍を偏り少なく凍結させることができる。
【0009】
これにより、被皮剥食品の品質を落とすことなく、迅速に皮剥に適切な状態にする冷蔵庫を提供できる。
【0010】
本発明の第2の態様は、第1の態様において、
前記冷却部から供給された冷気が、前記収納部内において上側から斜め下側に吹き出され、冷気の一部が前記被皮剥食品に当たるとともに、冷気の一部が前記金属板状部材の上面に当たる冷蔵庫である。
(【0011】以降は省略されています)
この特許をJ-PlatPat(特許庁公式サイト)で参照する
関連特許
アクア株式会社
冷蔵庫
2日前
アクア株式会社
冷蔵庫
2日前
アクア株式会社
冷却ボックス装置
15日前
アクア株式会社
冷却ボックス装置
15日前
日本アクア株式会社
スパウト及びスパウト付き容器
1か月前
アクア株式会社
冷蔵庫用マグネットパッキン、冷蔵庫扉および冷蔵庫
1か月前
青島海爾洗衣机有限公司
洗濯機
23日前
青島海爾洗衣机有限公司
洗濯機
23日前
青島海爾洗衣机有限公司
ドラム式洗濯機
17日前
青島海爾洗衣机有限公司
ドラム式洗濯機
17日前
青島海爾洗衣机有限公司
ランドリー機器
24日前
青島海爾洗衣机有限公司
乾燥機および洗濯機
2日前
青島海爾洗衣机有限公司
排水フィルタ及び洗濯機
1か月前
青島海爾洗衣机有限公司
排水フィルタ及び洗濯機
1か月前
株式会社不二工機
膨張弁
1か月前
株式会社不二工機
膨張弁
1か月前
アクア株式会社
冷蔵庫
2日前
アクア株式会社
冷蔵庫
2日前
ホシザキ株式会社
製氷機
1か月前
個人
ヒートポンプ型空気調和機
2か月前
ホシザキ株式会社
冷凍装置
1か月前
富士電機株式会社
冷却装置
1か月前
フクシマガリレイ株式会社
断熱扉
1か月前
富士電機株式会社
自動販売機
1か月前
富士ベンダーサービス株式会社
保管庫
2か月前
ダイキン工業株式会社
冷凍装置
1か月前
フクシマガリレイ株式会社
冷却貯蔵庫
1か月前
富士電機株式会社
冷却システム
2か月前
フクシマガリレイ株式会社
冷却貯蔵庫
25日前
三菱重工冷熱株式会社
低温冷水供給装置
2か月前
フクシマガリレイ株式会社
ショーケース
1か月前
株式会社ゼロカラ
冷凍装置
10日前
株式会社ゼロカラ
冷凍装置
10日前
株式会社フィラディス
ワインセラー
2日前
アクア株式会社
冷蔵庫
1か月前
ダイキン工業株式会社
冷媒充填方法
1か月前
続きを見る
他の特許を見る