TOP
|
特許
|
意匠
|
商標
特許ウォッチ
Twitter
他の特許を見る
10個以上の画像は省略されています。
公開番号
2025144039
公報種別
公開特許公報(A)
公開日
2025-10-02
出願番号
2024043611
出願日
2024-03-19
発明の名称
冷蔵庫
出願人
アクア株式会社
代理人
個人
,
個人
,
個人
,
個人
主分類
F25D
23/06 20060101AFI20250925BHJP(冷凍または冷却;加熱と冷凍との組み合わせシステム;ヒートポンプシステム;氷の製造または貯蔵;気体の液化または固体化)
要約
【課題】従来の冷蔵庫では、断熱部材の製造コストが嵩み、冷蔵庫の省エネルギ化と製造コストの低減とを両立し難いという課題がある。
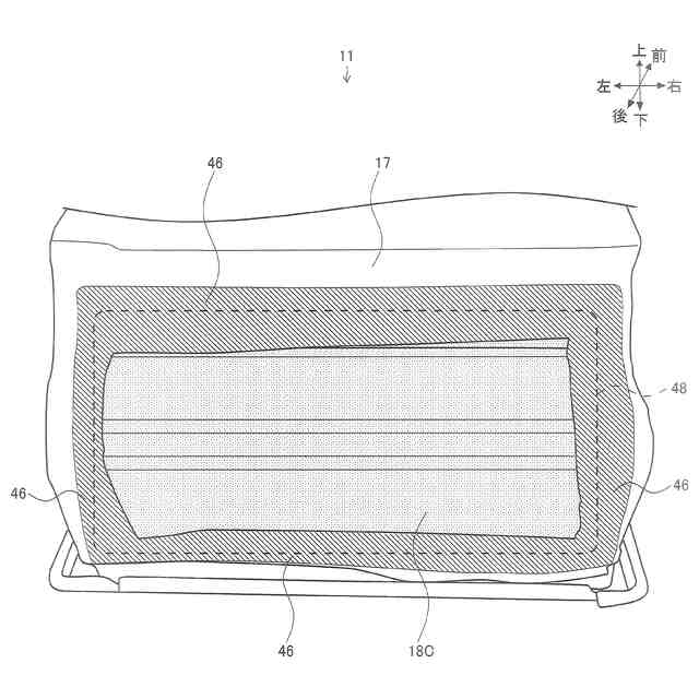
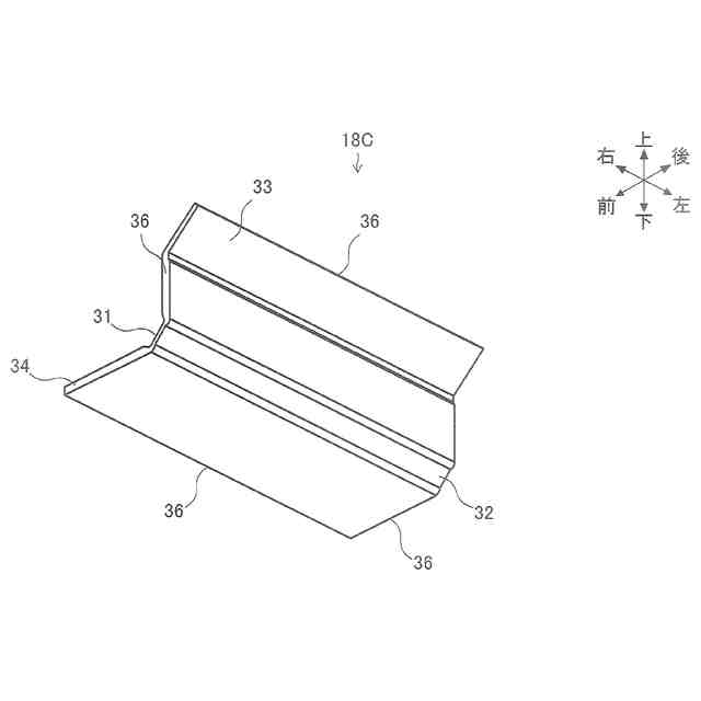
【解決手段】本発明の冷蔵庫10では、真空断熱材18Cは、第1の凹部31を用いて冷凍室13の内箱17の形状に沿って折り曲げ加工され易くなる。そして、第1の凹部31の幅W1が、内箱17のコーナー部35の幅W4よりも広くなる。その結果、真空断熱材18Cは、内箱17に接触した状態にて配設されることで、冷凍室13に対して真空断熱材18Cによるカバー率が高められ、冷蔵庫10の省エネルギ化が実現される。
【選択図】図5
特許請求の範囲
【請求項1】
断熱箱体と、
機械室と、
前記機械室に対して前記断熱箱体の奥行方向の前方側であり、前記断熱箱体に形成される第1の貯蔵室と、
前記断熱箱体の内箱と外箱との間の断熱空間に配設される複数の真空断熱材と、を備え、
前記第1の貯蔵室を区画する前記内箱は、前記真空断熱材の第1の真空断熱材が接触して配設される第1の側面及び第2の側面と、前記第1の側面と前記第2の側面との間に形成されるコーナー部とを有し、
前記機械室と前記第1の貯蔵室との間の前記断熱空間に配設される前記第1の真空断熱材の表面側には、前記コーナー部の形成領域に配設される第1の凹部が形成され、
前記第1の凹部は、前記断熱箱体の側面視における前記コーナー部の幅よりも広いことを特徴とする冷蔵庫。
続きを表示(約 590 文字)
【請求項2】
前記第1の真空断熱材の裏面側には、前記第1の凹部の形成領域に沿って第2の凹部が形成されることを特徴とする請求項1に記載の冷蔵庫。
【請求項3】
前記第1の真空断熱材は、前記内箱に対して接着部材により貼り付けられると共に、前記第1の真空断熱材の外周端部の全周に渡り、前記第1の真空断熱材と前記内箱との隙間とは、前記接着部材により塞がれることを特徴とする請求項2に記載の冷蔵庫。
【請求項4】
前記断熱箱体の天面側に形成される第2の貯蔵室と、
前記第2の貯蔵室の上方の前記断熱空間に配設される第2の真空断熱材と、を備え、
前記第2の真空断熱材の裏面側には、第3の凹部が形成され、
前記第2の真空断熱材は、前記第3の凹部を用いて折り曲げ加工されると共に、前記第2の真空断熱材は、前記第2の貯蔵室の上方の前記内箱に接触して配設されることを特徴とする請求項3に記載の冷蔵庫。
【請求項5】
前記第1の真空断熱材の裏面側には、前記第3の凹部が形成され、
前記第2の真空断熱材の表面側には、前記第1の凹部が形成されると共に、前記第2の真空断熱材の裏面側には、前記第2の凹部が形成され、
前記第1の真空断熱材と前記第2の真空断熱材は、同一形状であることを特徴とする請求項4に記載の冷蔵庫。
発明の詳細な説明
【技術分野】
【0001】
本発明は、冷蔵庫に関し、特に、冷蔵庫の組み立て作業時の真空断熱材の折り曲げ加工性を向上させ、真空断熱材によるカバー率を高め、冷蔵庫の省エネルギ化を実現する冷蔵庫に関する。
続きを表示(約 1,700 文字)
【背景技術】
【0002】
特許文献1には、従来の冷蔵庫が開示されている。冷蔵庫は、貯蔵室として用いられる断熱箱体と、断熱箱体の前面開口部を塞ぐ断熱扉と、を備える。断熱箱体は、鋼板製の外箱と、合成樹脂製の内箱と、外箱と内箱との間の断熱空間に形成される断熱材と、を有する。そして、断熱材としては、金属断熱材及び発泡断熱材が用いられる。
【0003】
また、断熱箱体の貯蔵空間としては、断熱箱体の上部から、冷蔵室、製氷室及び上段冷凍室、下段冷凍室及び野菜室が形成される。そして、断熱箱体の天面板の上部には、冷蔵庫の運転を制御する電気部品が配設される。また、断熱箱体の野菜室の奥行方向の後方には、圧縮機等を配設する機械室が形成される。
【先行技術文献】
【特許文献】
【0004】
特開2023-47155号公報
【発明の概要】
【発明が解決しようとする課題】
【0005】
上記断熱材は、例えば、野菜室と機械室との間の断熱空間に配設される。そして、金属断熱材は、野菜室を区画する内箱の形状に沿って折り曲げ加工され、内箱と接触した状態にて配設される。一方、発泡断熱材は、上記金属断熱材を被覆するように、上記断熱空間に充填して形成される。
【0006】
ここで、上記金属断熱材は、一対の鋼板と、上記鋼板の外周端部に沿って配設されるエンドピースと、シール材と、を備える。そして、一対の鋼板は、その間に一定の空間を保った状態となるようにエンドピースにより固定される。シール材が、エンドピースと鋼板との境界をシールすることで、上記内部空間が減圧状態に維持される。
【0007】
従来の冷蔵庫では、金属断熱材が、野菜室の底面に沿って配設されることで、野菜室と外部とを良好に断熱でき、冷蔵庫の冷却運転に要するエネルギを低減することができる。しかしながら、金属断熱材は、野菜室の内箱形状に沿って板金加工し、また、上記減圧状態へと組み付ける必要があり、製造コストを低減し難いという課題がある。
【0008】
また、機械室の前方側の断熱箱体の野菜室のように、内箱が複雑な形状となる場合には、金属断熱材の形状も複雑な形状となる。上記金属断熱材は、予め、所望の形状へと加工される。そして、冷蔵庫の組み立て工場への搬送時には、複数枚の金属断熱材を積層し梱包するが、搬送時の体積が嵩み、また、重量が重くなることで、搬送コストが増大するという課題がある。
【0009】
本発明は、上記の事情に鑑みてなされたものであり、冷蔵庫の組み立て作業時の真空断熱材の折り曲げ加工性を向上させ、真空断熱材によるカバー率を高め、冷蔵庫の省エネルギ化を実現する冷蔵庫を提供することにある。
【課題を解決するための手段】
【0010】
本発明の冷蔵庫の第1の態様では、断熱箱体と、機械室と、前記機械室に対して前記断熱箱体の奥行方向の前方側であり、前記断熱箱体に形成される第1の貯蔵室と、前記断熱箱体の内箱と外箱との間の断熱空間に配設される複数の真空断熱材と、を備え、前記第1の貯蔵室を区画する前記内箱は、前記真空断熱材の第1の真空断熱材が接触して配設される第1の側面及び第2の側面と、前記第1の側面と前記第2の側面との間に形成されるコーナー部とを有し、前記機械室と前記第1の貯蔵室との間の前記断熱空間に配設される前記第1の真空断熱材の表面側には、前記コーナー部の形成領域に配設される第1の凹部が形成され、前記第1の凹部は、前記断熱箱体の側面視における前記コーナー部の幅よりも広いことを特徴とする。この構造により、真空断熱材は、第1の凹部を用いて第1の貯蔵室の内箱の形状に沿って折り曲げ加工され易くなる。そして、第1の凹部の幅が、内箱のコーナー部の幅よりも広くなる。その結果、真空断熱材は、内箱に接触した状態にて配設されることで、第1の貯蔵室に対して真空断熱材によるカバー率が高められ、冷蔵庫の省エネルギ化が実現される。
(【0011】以降は省略されています)
この特許をJ-PlatPat(特許庁公式サイト)で参照する
関連特許
アクア株式会社
冷蔵庫
1か月前
アクア株式会社
冷却ボックス装置
2日前
アクア株式会社
冷却ボックス装置
2日前
日本アクア株式会社
スパウト及びスパウト付き容器
26日前
アクア株式会社
冷蔵庫用マグネットパッキン、冷蔵庫扉および冷蔵庫
1か月前
青島海爾洗衣机有限公司
洗濯機
10日前
青島海爾洗衣机有限公司
洗濯機
10日前
青島海爾洗衣机有限公司
洗濯機
1か月前
青島海爾洗衣机有限公司
洗濯機
1か月前
青島海爾洗衣机有限公司
ドラム式洗濯機
4日前
青島海爾洗衣机有限公司
ドラム式洗濯機
4日前
青島海爾洗衣机有限公司
ランドリー機器
11日前
青島海爾洗衣机有限公司
排水フィルタ及び洗濯機
1か月前
青島海爾洗衣机有限公司
排水フィルタ及び洗濯機
1か月前
株式会社不二工機
膨張弁
18日前
タニコー株式会社
貯水槽
2か月前
株式会社不二工機
膨張弁
18日前
アクア株式会社
冷蔵庫
2か月前
個人
ヒートポンプ型空気調和機
1か月前
ホシザキ株式会社
製氷機
1か月前
フクシマガリレイ株式会社
断熱扉
19日前
ホシザキ株式会社
冷凍装置
23日前
富士電機株式会社
冷却装置
1か月前
富士電機株式会社
自動販売機
17日前
シャープ株式会社
冷蔵庫
2か月前
フクシマガリレイ株式会社
冷却貯蔵庫
12日前
ダイキン工業株式会社
冷凍装置
1か月前
富士ベンダーサービス株式会社
保管庫
1か月前
フクシマガリレイ株式会社
冷却貯蔵庫
23日前
富士電機株式会社
冷却システム
2か月前
フクシマガリレイ株式会社
ショーケース
1か月前
三菱重工冷熱株式会社
低温冷水供給装置
1か月前
シャープ株式会社
冷却装置
2か月前
ダイキン工業株式会社
冷媒充填方法
1か月前
アクア株式会社
冷蔵庫
1か月前
フクシマガリレイ株式会社
商品販売システム
25日前
続きを見る
他の特許を見る