TOP
|
特許
|
意匠
|
商標
特許ウォッチ
Twitter
他の特許を見る
10個以上の画像は省略されています。
公開番号
2025171745
公報種別
公開特許公報(A)
公開日
2025-11-20
出願番号
2024077390
出願日
2024-05-10
発明の名称
ワインセラー
出願人
株式会社フィラディス
代理人
個人
,
個人
主分類
F25D
23/02 20060101AFI20251113BHJP(冷凍または冷却;加熱と冷凍との組み合わせシステム;ヒートポンプシステム;氷の製造または貯蔵;気体の液化または固体化)
要約
【課題】ワインセラーの内部の温度および湿度の変動と、作業を行う際に、開いた扉部が意図せずに回動することと、摩耗により扉部の円滑な開閉動作が困難になることを抑制する。
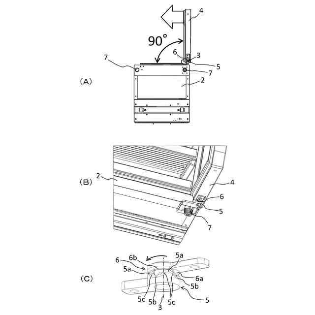
【解決手段】ワインセラー1が、一部が開口している中空の本体部2と、回転軸3を中心として回動可能な扉部4を有する。本体部2は回転軸3と同心の固定カム部5を有し、扉部4は回転軸3と同心の可動カム部6を有し、可動カム部6は固定カム部5の上方に位置する。固定カム部5の上面は、上向きに突出する円弧状凸部5aと、少なくとも2つの上向きに開口する円弧状凹部5bと、円弧状凸部5aと円弧状凹部5bとを接続する傾斜部5cとを有する。可動カム部6の下面は、下向きに突出する円弧状凸部6aを有する。可動カム部6の下面の一部が固定カム部5の上面に当接して摺動しながら、扉部4が本体部2に対して相対的に回動する。
【選択図】図5
特許請求の範囲
【請求項1】
一部が開口している筐体状であり内部にボトルを収納可能な中空の本体部と、前記本体部に対して回転軸を中心として回動可能に取り付けられており、回動することによって前記本体部の開口部を開閉可能な扉部と、を有し、
前記本体部は前記回転軸と同心で回動不能な固定カム部を有し、
前記扉部は前記回転軸および前記固定カム部と同心で回動可能な可動カム部を有し、
前記可動カム部は前記固定カム部の上方に位置し、前記固定カム部の上面は、上向きに突出する円弧状凸部と、少なくとも2つの上向きに開口する円弧状凹部と、前記上向きに突出する円弧状凸部と前記上向きに開口する円弧状凹部とを接続する傾斜部と、を有し、
前記可動カム部の下面は、下向きに突出する円弧状凸部を有し、
前記可動カム部の下面の一部が前記固定カム部の上面に当接して摺動しながら、前記扉部が前記本体部に対して相対的に回動することを特徴とする、ワインセラー。
続きを表示(約 960 文字)
【請求項2】
前記固定カム部の上面の前記上向きに突出する円弧状凸部と前記傾斜部と前記上向きに開口する円弧状凹部とは、正弦曲線を構成している、請求項1に記載のワインセラー。
【請求項3】
前記可動カム部の下面は、前記下向きに突出する円弧状凸部と、平坦面部とを有する、請求項2に記載のワインセラー。
【請求項4】
前記可動カム部の下面は、前記下向きに突出する円弧状凸部と、下向きに開口する円弧状凹部と、前記下向きに突出する円弧状凸部と前記下向きに開口する円弧状凹部とを接続する傾斜部とを有する、請求項2に記載のワインセラー。
【請求項5】
前記可動カム部の下面の前記下向きに突出する円弧状凸部と前記傾斜部と前記下向きに開口する円弧状凹部とは、正弦曲線を構成している、請求項4に記載のワインセラー。
【請求項6】
前記固定カム部の上面の前記正弦曲線と前記可動カム部の下面の前記正弦曲線とは、互いに同一の形状である、請求項5に記載のワインセラー。
【請求項7】
前記固定カム部の上面の前記正弦曲線と前記可動カム部の下面の前記正弦曲線とは、互いに異なる形状である、請求項5に記載のワインセラー。
【請求項8】
少なくとも前記可動カム部の下面の前記下向きに突出する円弧状凸部が前記固定カム部の上面の前記上向きに開口する円弧状凹部に嵌合していない状態で、前記可動カム部の下面と前記固定カム部の上面とは線接触している、請求項1から7のいずれか1項に記載のワインセラー。
【請求項9】
前記可動カム部の下面と前記固定カム部の上面とは常に線接触している、請求項8に記載のワインセラー。
【請求項10】
前記回転軸を中心として、前記固定カム部の上面の2つの前記上向きに開口する円弧状凹部の最下点同士がなす角度が90度であり、
前記可動カム部の下面は、少なくとも2つの前記下向きに突出する円弧状凸部を有し、前記回転軸を中心として2つの前記下向きに突出する円弧状凸部の頂点同士がなす角度が90度である、請求項1から7のいずれか1項に記載のワインセラー。
(【請求項11】以降は省略されています)
発明の詳細な説明
【技術分野】
【0001】
本発明はワインセラーに関する。
続きを表示(約 2,100 文字)
【背景技術】
【0002】
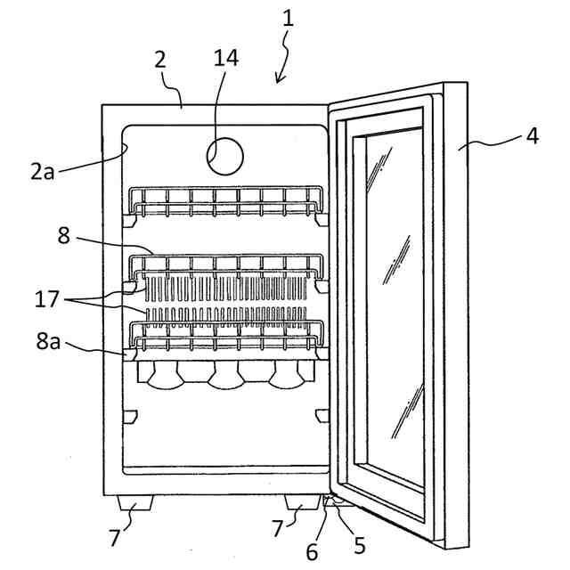
ワインは葡萄果汁のアルコール発酵による醸造酒であり、原料の味わい、香り、風味等が直接反映される飲料であり、酵母添加や澱粉糖化や加水を行うことなく製造されるため、味や香りが貯蔵環境に大きく影響を受ける。そのため、ワインを適切な環境(適切な温度や湿度)下で保存するためにワイン専用の貯蔵庫であるワインセラーが用いられている。一般的なワインセラーは、一部が開口している中空の筐体状の本体部と、本体部の開口部を塞ぐように取り付けられ開閉可能な扉部とを有する。本体部は、断熱性を有する壁部で構成されている。
【0003】
このように、ワインセラーでは、収納しているワインの品質を維持するために、筐体内部の温度および湿度の管理が重要である。従って、扉部が開いた状態で放置されることは好ましくない。特許文献1には、冷蔵庫において、扉を開いた際に扉を上昇させるスロープと、扉を下方に付勢する扉付勢手段とが設けられ、扉の重量が小さくても下方に付勢される扉がスロープにより降下して扉を自閉させることができる構成が開示されている。
【先行技術文献】
【特許文献】
【0004】
特開2009-47361号公報
【発明の概要】
【発明が解決しようとする課題】
【0005】
特許文献1に記載の冷蔵庫によると、開いた扉が自動的に閉じるため、内部の温度および湿度の変動を抑えることができる。しかし、ワインセラーの場合、扉を開けた状態で飲料入りボトル(例えばワインボトル)の出し入れを行う。扉が開いた状態でボトルの出し入れを行っている最中に、意図せずに扉が閉じようとすると、ボトルの出し入れの作業の妨げになる。
【0006】
また、ワイン愛飲家は、扉を閉めた状態でも飲料入りボトルのエチケット(ラベル)やコルク栓のキャップシールが視認可能であることを望む場合が多いため、ワインセラーの扉部は主にガラスからなるガラス扉である。扉部を介して筐体の内外で熱が伝達して筐体内を予め設定された温度に維持できなくなることを防ぐため、および使用者の安全確保のために、扉部は多層(例えば3層)の強化ガラスと金属製(例えばアルミニウム製)のフレームとからなる。そのため、扉部の重量はかなり重い。従って、ボトルの出し入れを行っている最中に、意図せずに扉部が閉じる方向に回動すると、前述したように重い飲料入りボトルの取り出し作業が円滑に行えないだけでなく、作業者の身体に重い扉部がぶつかって衝撃を与え、負傷させる危険性もある。
【0007】
このように、ワインセラーにおいては、扉部が開いたまま放置されることによる内部の温度および湿度の変動を抑制するために、開いた扉部が自動的に閉じることが望まれる一方で、扉部が開いた状態で重い飲料入りボトルの出し入れ等の作業を行う際に、良好な作業性を維持するとともに作業者への衝撃や負傷を防ぐために、開いた扉部が閉じる方向に意図せずに回動することを防ぐことも望まれる。また、扉部の重量が重いため、特許文献1に記載された構成では、スロープとそのスロープに当接して摺動する部分が摩耗によって損傷し、扉部の円滑な開閉動作が困難になる場合がある。
【0008】
そこで本発明の目的は、扉部が開いたまま放置されることによる内部の温度および湿度の変動を抑制するとともに、扉部を開いて作業を行う際に、開いた扉部が閉じる方向に意図せずに回動することを抑制し、さらに、摩耗によって扉部の円滑な開閉動作が困難になることを抑えられるワインセラーを提供することにある。
【課題を解決するための手段】
【0009】
本発明のワインセラーは、一部が開口している筐体状であり内部にボトルを収納可能な中空の本体部と、前記本体部に対して回転軸を中心として回動可能に取り付けられており、回動することによって前記本体部の開口部を開閉可能な扉部と、を有し、前記本体部は前記回転軸と同心で回動不能な固定カム部を有し、前記扉部は前記回転軸および前記固定カム部と同心で回動可能な可動カム部を有し、前記可動カム部は前記固定カム部の上方に位置し、前記固定カム部の上面は、上向きに突出する円弧状凸部と、少なくとも2つの上向きに開口する円弧状凹部と、前記上向きに突出する円弧状凸部と前記上向きに開口する円弧状凹部とを接続する傾斜部と、を有し、前記可動カム部の下面は、下向きに突出する円弧状凸部を有し、前記可動カム部の下面の一部が前記固定カム部の上面に当接して摺動しながら、前記扉部が前記本体部に対して相対的に回動することを特徴とする。
【発明の効果】
【0010】
本発明のワインセラーによると、扉部が開いたまま放置されることによる内部の温度および湿度の変動を抑制するとともに、扉部を開いて作業を行う際に、開いた扉部が閉じる方向に意図せずに回動することを抑制し、さらに、摩耗によって扉部の円滑な開閉動作が困難になることを抑えられる。
【図面の簡単な説明】
(【0011】以降は省略されています)
この特許をJ-PlatPat(特許庁公式サイト)で参照する
関連特許
株式会社不二工機
膨張弁
1か月前
株式会社不二工機
膨張弁
1か月前
アクア株式会社
冷蔵庫
2日前
アクア株式会社
冷蔵庫
2日前
ホシザキ株式会社
冷凍装置
1か月前
フクシマガリレイ株式会社
断熱扉
1か月前
富士電機株式会社
自動販売機
1か月前
フクシマガリレイ株式会社
冷却貯蔵庫
25日前
ダイキン工業株式会社
冷凍装置
1か月前
フクシマガリレイ株式会社
冷却貯蔵庫
1か月前
株式会社ゼロカラ
冷凍装置
10日前
株式会社ゼロカラ
冷凍装置
10日前
フクシマガリレイ株式会社
ショーケース
1か月前
アクア株式会社
冷蔵庫
1か月前
株式会社フィラディス
ワインセラー
2日前
ダイキン工業株式会社
冷媒充填方法
1か月前
フクシマガリレイ株式会社
商品販売システム
1か月前
アイ・ティ・イー株式会社
相変化判定システム
2日前
三菱電機株式会社
冷蔵庫
2日前
島田工業株式会社
製氷装置及び製氷方法
1か月前
アクア株式会社
冷却ボックス装置
15日前
株式会社アイシン
冷暖房システム
1か月前
アクア株式会社
冷却ボックス装置
15日前
株式会社富士通ゼネラル
冷凍サイクル装置
1か月前
株式会社前川製作所
冷却装置
1か月前
株式会社富士通ゼネラル
冷凍サイクル装置
1か月前
株式会社富士通ゼネラル
冷凍サイクル装置
1か月前
東芝ライフスタイル株式会社
冷却装置
1か月前
東芝ライフスタイル株式会社
冷却装置
1か月前
日本碍子株式会社
空調システム
1か月前
ダイキン工業株式会社
冷凍装置
1か月前
パナソニックIPマネジメント株式会社
冷蔵庫
15日前
パナソニックIPマネジメント株式会社
冷蔵庫
15日前
ホシザキ株式会社
冷却貯蔵庫
1か月前
東芝ライフスタイル株式会社
冷蔵庫
24日前
ダイキン工業株式会社
固体冷凍装置
1か月前
続きを見る
他の特許を見る