TOP
|
特許
|
意匠
|
商標
特許ウォッチ
Twitter
他の特許を見る
10個以上の画像は省略されています。
公開番号
2025158801
公報種別
公開特許公報(A)
公開日
2025-10-17
出願番号
2024061687
出願日
2024-04-05
発明の名称
圧縮機、および冷凍サイクル装置
出願人
ダイキン工業株式会社
代理人
弁理士法人新樹グローバル・アイピー
主分類
F04C
23/02 20060101AFI20251009BHJP(液体用容積形機械;液体または圧縮性流体用ポンプ)
要約
【課題】省エネのため、マグネットプルフォースを発生させるための電力は、できる限り削減することが望ましい。
【解決手段】圧縮機は、モータと、圧縮機構と、を備える。圧縮機構は、モータに固定されたシャフトを介して駆動される。モータは、固定子と、回転子124と、第1バランスウェイトBW1と、第2バランスウェイトと、を有する。回転子124は、固定子の径方向内側に配置される。第1バランスウェイトBW1は、回転子124の圧縮機構側の第1面81に配置される。第2バランスウェイトは、回転子124の圧縮機構とは反対側の第2面に配置される。第1バランスウェイトBW1は、回転子124が回転する際、冷媒の流れを利用して、回転子124に作用する回転軸A1の方向の力F2を発生させる形状を有する。
【選択図】図4
特許請求の範囲
【請求項1】
モータ(120)と、
前記モータに固定されたシャフト(140)を介して駆動される圧縮機構(130)と、
を備え、
前記モータは、
円筒状の固定子(122)と、
前記固定子の径方向内側に配置され、冷媒中を回転する、円筒状の回転子(124)と、
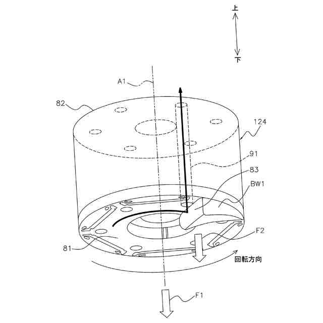
前記回転子の前記圧縮機構側の第1面(81)に配置される第1バランスウェイト(BW1)、または前記回転子の前記圧縮機構とは反対側の第2面(82)に配置される第2バランスウェイト(BW2)と、
を有し、
前記第1バランスウェイトまたは前記第2バランスウェイトは、前記回転子が回転する際、冷媒の流れを利用して、前記回転子に作用する回転軸(A1)の方向の力(F2,F3)を発生させる形状を有する、
圧縮機(100)。
続きを表示(約 1,200 文字)
【請求項2】
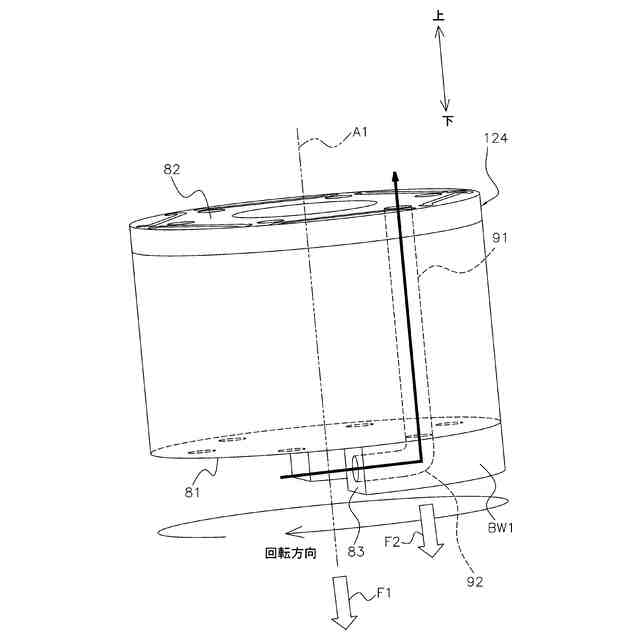
前記回転子は、前記回転子の内部を前記回転軸の方向に貫通する、第1冷媒流路(91)を有し、
前記第1バランスウェイトは、前記回転子が回転する際、衝突する冷媒を前記第1冷媒流路に誘導する形状を有する、
請求項1に記載の圧縮機(100)。
【請求項3】
前記第1バランスウェイトは、前記第1面に接合され、
前記第1バランスウェイトは、前記第1面の円周に沿った円弧上の形状を有し、
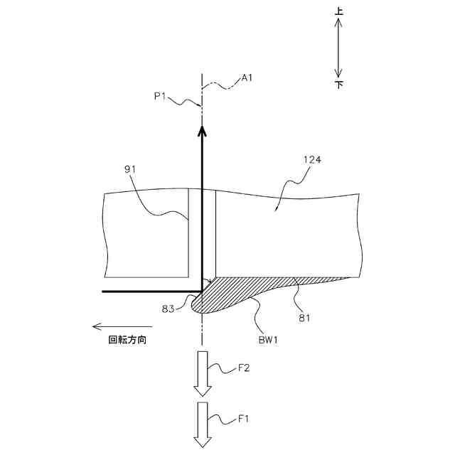
前記第1バランスウェイトの回転方向の前側の第3面(83)は、前記回転子の径方向に沿って見たときに、前記回転子の前記回転軸を含み前記回転子の径方向に延びる第1平面(P1)に対して、前記第1冷媒流路に向けて、前記回転子の逆回転方向に傾斜している、
請求項2に記載の圧縮機(100)。
【請求項4】
前記第1バランスウェイトは、前記第1面に接合され、
前記第1バランスウェイトは、前記第1面の円周に沿った円弧上の形状を有し、
前記第1バランスウェイトは、前記第1バランスウェイトの回転方向の前側の第3面(83)と、前記第1冷媒流路とを結ぶ、第2冷媒流路(92)を有する、
請求項2に記載の圧縮機(100)。
【請求項5】
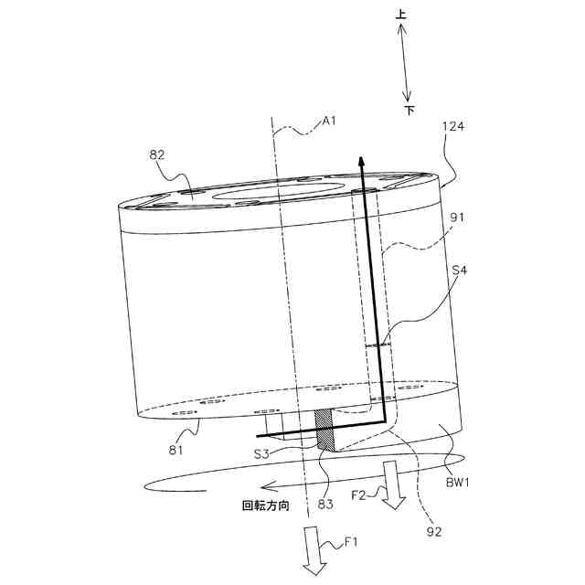
前記第2冷媒流路は、前記第1バランスウェイトの内部を貫通する、
請求項4に記載の圧縮機(100)。
【請求項6】
前記第3面における前記第2冷媒流路の開口面積(S3)は、前記第1冷媒流路の断面積(S4)よりも大きい、
請求項5に記載の圧縮機(100)。
【請求項7】
前記第2冷媒流路は、前記第1面側が開口しているトンネル状の形状を有する、
請求項4に記載の圧縮機(100)。
【請求項8】
前記第1バランスウェイトは、支柱(99)を介して、前記第1面に設けられ、
前記第1バランスウェイトは、前記第1面の円周に沿った円弧上の形状を有し、
前記回転子の回転方向の断面における前記第1バランスウェイトの形状は、前記回転子に作用する前記回転軸の方向の揚力(F2)を発生させる翼型である、
請求項1に記載の圧縮機(100)。
【請求項9】
前記第2バランスウェイトは、支柱(98)を介して、前記第2面に設けられ、
前記第2バランスウェイトは、前記第2面の円周に沿った円弧上の形状を有し、
前記回転子の回転方向の断面における前記第2バランスウェイトの形状は、前記回転子に作用する前記回転軸の方向の揚力(F3)を発生させる翼型である、
請求項1から8のいずれか1つに記載の圧縮機(100)。
【請求項10】
請求項1から8のいずれか1つに記載の圧縮機(100)を有する冷媒回路(10)、
を備える、
冷凍サイクル装置(1)。
発明の詳細な説明
【技術分野】
【0001】
圧縮機、および冷凍サイクル装置に関する。
続きを表示(約 1,400 文字)
【背景技術】
【0002】
特許文献1(特開平11-093874号公報)に示されるように、回転子に、回転子の回転軸の方向のマグネットプルフォースを作用させて、回転子の回転を安定させる技術がある。
【発明の概要】
【発明が解決しようとする課題】
【0003】
省エネのため、マグネットプルフォースを発生させるための電力は、できる限り削減することが望ましい。
【課題を解決するための手段】
【0004】
第1観点の圧縮機は、モータと、圧縮機構と、を備える。圧縮機構は、モータに固定されたシャフトを介して駆動される。モータは、固定子と、回転子と、を有する。モータは、第1バランスウェイトまたは第2バランスウェイトを有する。言い換えると、モータは、第1バランスウェイトと第2バランスウェイトとの内のいずれか一方のみを有するか、第1バランスウェイトと第2バランスウェイトの両方を有するか、のいずれかである。固定子は、円筒状である。回転子は、固定子の径方向内側に配置される。回転子は、冷媒中を回転する。回転子は、円筒状である。第1バランスウェイトは、回転子の圧縮機構側の第1面に配置される。第2バランスウェイトは、回転子の圧縮機構とは反対側の第2面に配置される。第1バランスウェイトまたは第2バランスウェイトは、回転子が回転する際、冷媒の流れを利用して、回転子に作用する回転軸の方向の力を発生させる形状を有する。
【0005】
第1観点の圧縮機は、発生させた回転子の回転軸の方向の力を用いて、マグネットプルフォースを補助することにより、マグネットプルフォースを発生させるための電力を削減することができる。
【0006】
第2観点の圧縮機は、第1観点の圧縮機であって、回転子は、第1冷媒流路を有する。第1冷媒流路は、回転子の内部を回転軸の方向に貫通する。第1バランスウェイトは、回転子が回転する際、衝突する冷媒を第1冷媒流路に誘導する形状を有する。
【0007】
第2観点の圧縮機は、第1バランスウェイトに衝突する冷媒を第1冷媒流路に誘導する(回転子の回転軸の方向に押し出す)ことによる反作用により、回転子に作用する回転軸の方向の力を発生させることができる。
【0008】
第3観点の圧縮機は、第2観点の圧縮機であって、第1バランスウェイトは、第1面に接合される。第1バランスウェイトは、第1面の円周に沿った円弧上の形状を有する。第1バランスウェイトの回転方向の前側の第3面は、回転子の径方向に沿って見たときに、回転子の回転軸を含み回転子の径方向に延びる第1平面に対して、第1冷媒流路に向けて、回転子の逆回転方向に傾斜している。
【0009】
第3観点の圧縮機は、このような構成により、第1バランスウェイトの第3面に衝突する冷媒を、第1冷媒流路に誘導することができる。
【0010】
第4観点の圧縮機は、第2観点の圧縮機であって、第1バランスウェイトは、第1面に接合される。第1バランスウェイトは、第1面の円周に沿った円弧上の形状を有する。第1バランスウェイトは、第2冷媒流路を有する。第2冷媒流路は、第1バランスウェイトの回転方向の前側の第3面と、第1冷媒流路とを結ぶ。
(【0011】以降は省略されています)
この特許をJ-PlatPat(特許庁公式サイト)で参照する
関連特許
ダイキン工業株式会社
撥剤
13日前
ダイキン工業株式会社
流体機械
15日前
ダイキン工業株式会社
冷凍装置
16日前
ダイキン工業株式会社
監視装置
13日前
ダイキン工業株式会社
冷凍装置
13日前
ダイキン工業株式会社
空気調和装置
13日前
ダイキン工業株式会社
空気調和装置
20日前
ダイキン工業株式会社
固体冷凍装置
20日前
ダイキン工業株式会社
空気調和装置
9日前
ダイキン工業株式会社
空気調和装置
13日前
ダイキン工業株式会社
冷媒充填方法
13日前
ダイキン工業株式会社
電力変換装置
13日前
ダイキン工業株式会社
インバータ制御装置
9日前
ダイキン工業株式会社
空調ゾーニング方法
14日前
ダイキン工業株式会社
圧縮機及び冷凍装置
9日前
ダイキン工業株式会社
熱交換器及び冷凍装置
22日前
ダイキン工業株式会社
制御回路及び電子機器
9日前
ダイキン工業株式会社
電力変換装置及び冷凍装置
13日前
ダイキン工業株式会社
熱源ユニット及び冷凍装置
16日前
ダイキン工業株式会社
空調機のための保守システム
13日前
ダイキン工業株式会社
ノイズ抑制回路、空気調和機
9日前
ダイキン工業株式会社
ノイズ抑制回路、空気調和機
13日前
ダイキン工業株式会社
電力変換システム、空気調和機
13日前
ダイキン工業株式会社
正極合剤、正極および二次電池
今日
ダイキン工業株式会社
電力変換システム、空気調和機
13日前
ダイキン工業株式会社
積層体の製造方法および積層体
9日前
ダイキン工業株式会社
磁気冷凍ユニット及び冷凍装置
9日前
ダイキン工業株式会社
スクロール圧縮機、及び冷凍装置
20日前
ダイキン工業株式会社
紫外線照射装置および空気調和機
13日前
ダイキン工業株式会社
圧縮機、および冷凍サイクル装置
6日前
ダイキン工業株式会社
圧縮機、および冷凍サイクル装置
6日前
ダイキン工業株式会社
部材、及び、半導体製造関連装置
9日前
ダイキン工業株式会社
情報生成装置、及び、情報生成方法
9日前
ダイキン工業株式会社
磁気ユニット、圧縮機及び冷凍装置
13日前
ダイキン工業株式会社
ゴム部材、及び、半導体製造関連装置
9日前
ダイキン工業株式会社
樹脂組成物、成形体、及び、相溶化剤
13日前
続きを見る
他の特許を見る