TOP
|
特許
|
意匠
|
商標
特許ウォッチ
Twitter
他の特許を見る
10個以上の画像は省略されています。
公開番号
2025172825
公報種別
公開特許公報(A)
公開日
2025-11-26
出願番号
2025140135,2024072988
出願日
2025-08-26,2024-04-26
発明の名称
制御システム、制御装置、制御方法
出願人
ダイキン工業株式会社
代理人
弁理士法人ITOH
主分類
H02J
13/00 20060101AFI20251118BHJP(電力の発電,変換,配電)
要約
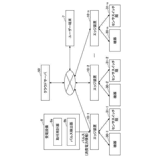
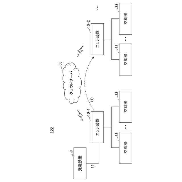
【課題】制御装置と受電設備を配線するためのコストを低減すると共に、配線自体が困難な場合でもデマンド制御するための情報を取得する制御システム、制御装置及び制御方法を提供する。
【解決手段】受電設備9と有線で通信する第1制御装置であるエッジ装置10-1と、電力を消費する機器30と接続された1つ以上の第2制御装置であるエッジ装置10-2と、を備える制御システムであって、前記第1制御装置は第1制御部を有し、前記第1制御部は、前記受電設備から前記機器の消費電力情報を取得し、前記第1制御部は、前記消費電力情報又は前記消費電力情報に基づく情報を前記第2制御装置に送信する。
【選択図】図3
特許請求の範囲
【請求項1】
受電設備と有線で通信する第1制御装置と、電力を消費する機器と接続された1つ以上の第2制御装置と、を備える制御システムであって、
前記第1制御装置は第1制御部を有し、
前記第1制御部は、前記受電設備から前記機器の消費電力情報を取得し、
前記第1制御部は、前記消費電力情報に基づいてデマンドレベル、デマンドレベルの差分、又は、目標の消費電力量に対する余裕度を判断し、
前記第2制御装置に、消費電力情報に基づく情報として、前記デマンドレベル、前記デマンドレベルの差分、又は、前記目標の消費電力量に対する余裕度を無線通信にて直接、又は、他の装置を介して送信する、
制御システム。
続きを表示(約 830 文字)
【請求項2】
前記制御システムはサーバ装置を有し、
前記第1制御部は、前記サーバ装置を介して、前記消費電力情報又は前記消費電力情報に基づく情報を前記第2制御装置に送信する、
請求項1に記載の制御システム。
【請求項3】
前記第1制御部は、前記消費電力情報又は前記消費電力情報に基づく情報を、直接、前記第2制御装置に無線で送信する、
請求項1に記載の制御システム。
【請求項4】
電力を消費する機器と接続された1つ以上の第2制御装置と無線で通信でき、受電設備と有線で通信する制御装置であって、
前記制御装置が有する第1制御部は、前記受電設備から前記機器の消費電力情報を取得し、
前記第1制御部は、前記消費電力情報に基づいてデマンドレベル、デマンドレベルの差分、又は、目標の消費電力量に対する余裕度を判断し、
前記第2制御装置に、消費電力情報に基づく情報として、前記デマンドレベル、前記デマンドレベルの差分、又は、前記目標の消費電力量に対する余裕度を無線通信にて直接、又は、他の装置を介して送信する、
制御装置。
【請求項5】
電力を消費する機器と接続された1つ以上の第2制御装置と無線で通信でき、受電設備と有線で通信する第1制御装置が行う制御方法であって、
前記第1制御装置が有する第1制御部が、前記受電設備から前記機器の消費電力情報を取得する処理と、
前記第1制御部が、前記消費電力情報に基づいてデマンドレベル、デマンドレベルの差分、又は、目標の消費電力量に対する余裕度を判断する処理と、
前記第1制御部が、前記第2制御装置に、消費電力情報に基づく情報として、前記デマンドレベル、前記デマンドレベルの差分、又は、前記目標の消費電力量に対する余裕度を無線通信にて直接、又は、他の装置を介して送信する処理と、
を行う制御方法。
発明の詳細な説明
【技術分野】
【0001】
本発明は、制御システム、制御装置、及び、制御方法に関する。
続きを表示(約 1,300 文字)
【背景技術】
【0002】
工場などの事業設備で消費される消費電力量を監視して、消費電力量の増大が予測される場合に電力消費を削減するデマンド制御が知られている。デマンド制御を行う装置は、定期的に消費電力量を算出し、目標として設定された目標の消費電力量を超えないように機器の電力消費を抑制する。
【0003】
複数の拠点の消費電力を1台のサーバでデマンド制御する技術が知られている(例えば、特許文献1参照)。特許文献1には、統合受電点における受電電力を監視し、受電電力がベースライン電力から要求削減電力だけ削減されるように、複数の拠点の出力調整量を決定し、出力調整量を各拠点への配分する管理サーバが開示されている。
【先行技術文献】
【特許文献】
【0004】
特開2020-156132号公報
【発明の概要】
【発明が解決しようとする課題】
【0005】
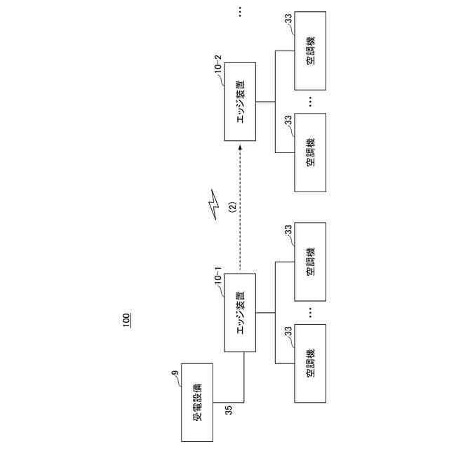
しかしながら、例えば受電設備が電柱にあるケースでは、受電設備と各制御装置が遠く、地下配線をしなければならない場合があり敷設作業にコストがかかる。また、例えば、高速道路の上りと下りのサービスエリアで受電設備が共通の場合、高架の道路を横断させる必要があるため、配線自体ができないケースがある。
【0006】
本開示は、制御装置と受電設備を配線するためのコストを低減すると共に、配線自体が困難な場合でも制御装置がデマンド制御するための情報を取得する技術を提供する。
【課題を解決するための手段】
【0007】
本開示の第1の態様は、
受電設備と有線で通信する第1制御装置と、電力を消費する機器と接続された1つ以上の第2制御装置と、を備える制御システムであって、
前記第1制御装置は第1制御部を有し、
前記第1制御部は、前記受電設備から前記機器の消費電力情報を取得し、
前記第1制御部は、前記消費電力情報又は前記消費電力情報に基づく情報を前記第2制御装置に送信する。
【0008】
本開示の第1の態様によれば、制御装置と受電設備を配線するためのコストを低減すると共に、配線自体が困難な場合でもデマンド制御するための情報を取得できる。
【0009】
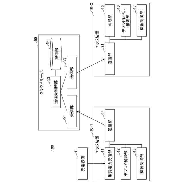
本開示の第2の態様は、第1の態様に記載の制御システムであって、
前記第1制御部は、前記消費電力情報に基づいてデマンドレベル、デマンドレベルの差分、又は、目標の消費電力量に対する余裕度を判断し、
前記第2制御装置に前記デマンドレベル、前記デマンドレベルの差分、又は、前記目標の消費電力量に対する余裕度を送信する。
【0010】
本開示の第3の態様は、第1の態様に記載の制御システムであって、
前記第1制御部は、前記消費電力情報を前記第2制御装置に送信し、
前記第2制御装置は、第2制御部を有し、
前記第2制御部は、前記消費電力情報に基づいて自身のデマンドレベル、デマンドレベルの差分、又は、目標の消費電力量に対する余裕度を判断する。
(【0011】以降は省略されています)
この特許をJ-PlatPat(特許庁公式サイト)で参照する
関連特許
ダイキン工業株式会社
撥水剤組成物
6日前
ダイキン工業株式会社
回転式圧縮機及び冷凍装置
今日
ダイキン工業株式会社
圧縮機及び冷凍サイクル装置
6日前
ダイキン工業株式会社
圧縮機及び冷凍サイクル装置
6日前
ダイキン工業株式会社
制御システム、制御装置、制御方法
今日
個人
高圧電気機器の開閉器
7日前
個人
電気を重力で発電装置
20日前
キヤノン電子株式会社
モータ
19日前
キヤノン電子株式会社
モータ
27日前
コーセル株式会社
電源装置
28日前
日星電気株式会社
ケーブル組立体
1か月前
トヨタ自動車株式会社
モータ
19日前
株式会社アイドゥス企画
減反モータ
7日前
株式会社デンソー
端子台
今日
株式会社デンソー
回転機
1か月前
個人
二次電池繰返パルス放電器用印刷基板
1か月前
株式会社デンソー
電力変換装置
1か月前
株式会社ミツバ
回転電機
1か月前
株式会社デンソー
非接触受電装置
1か月前
トヨタ自動車株式会社
固定子の加熱装置
1か月前
矢崎総業株式会社
電源回路
6日前
個人
非対称鏡像力を有する4層PWB電荷搬送体
14日前
山洋電気株式会社
モータ
1か月前
ローム株式会社
モータドライバ回路
14日前
日産自動車株式会社
ロータシャフト
14日前
日産自動車株式会社
ロータシャフト
14日前
トヨタ自動車株式会社
ステータの製造装置
20日前
京商株式会社
模型用非接触電力供給システム
7日前
トヨタ自動車株式会社
可変界磁ロータ
22日前
個人
電線盗難防止方法及び電線盗難防止装置
27日前
株式会社明治ゴム化成
ワイヤレス給電用部品
29日前
株式会社アイシン
電力変換装置
19日前
株式会社TMEIC
電力変換装置
1か月前
株式会社マキタ
電動作業機
27日前
トヨタ紡織株式会社
ロータの製造装置
28日前
本田技研工業株式会社
回転電機用ロータ
7日前
続きを見る
他の特許を見る