TOP
|
特許
|
意匠
|
商標
特許ウォッチ
Twitter
他の特許を見る
10個以上の画像は省略されています。
公開番号
2025167374
公報種別
公開特許公報(A)
公開日
2025-11-07
出願番号
2024071917
出願日
2024-04-25
発明の名称
冷蔵庫
出願人
パナソニックIPマネジメント株式会社
代理人
個人
,
個人
主分類
F25D
21/04 20060101AFI20251030BHJP(冷凍または冷却;加熱と冷凍との組み合わせシステム;ヒートポンプシステム;氷の製造または貯蔵;気体の液化または固体化)
要約
【課題】防露パイプを予め内箱に設置して、開口部の結露を抑制するもので、特に仕切り部の防露パイプによる結露抑制性能のバラツキを低減した冷蔵庫を提供する。
【解決手段】前面に開口部が設けられ、内部に貯蔵室が設けられた断熱箱体を備え、断熱箱体は、貯蔵室となる内箱と、外箱と、断熱材と、貯蔵室内を複数室に仕切る仕切り部と、仕切り部の前面を形成する前面板と、開口部の結露を抑制する防露パイプとを備え、防露パイプに前面板を予め固定した状態で、防露パイプを内箱と仕切り部に配置される。
【選択図】図10
特許請求の範囲
【請求項1】
前面に開口部が設けられ、内部に貯蔵室が設けられた断熱箱体を備え、
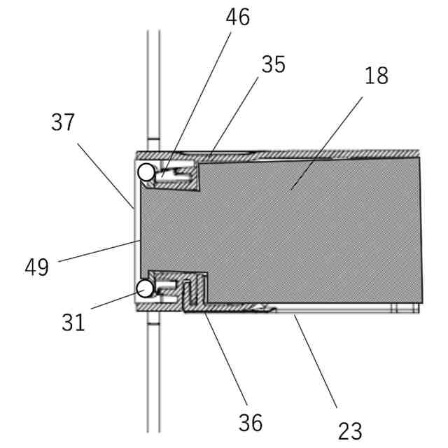
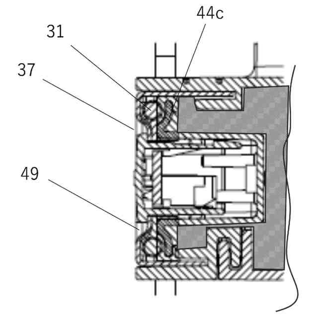
前記断熱箱体は、前記貯蔵室となる内箱と、外箱と、断熱材と、前記貯蔵室内を複数室に仕切る仕切り部と、前記仕切り部の前面を形成する前面板と、前記開口部の結露を抑制する防露パイプとを備え、
前記防露パイプに前記前面板を予め固定した状態で、前記防露パイプを前記内箱と前記仕切り部に配置したことを特徴とする冷蔵庫。
続きを表示(約 390 文字)
【請求項2】
前記防露パイプは、前記前面板にアルミテープで固定したことを特徴とする請求項1に記載の冷蔵庫。
【請求項3】
前記前面板は上面部、前面部、下面部を一体に断面略コ字状で形成され、前記上面部と前記前面部とで形成される上コーナ部と、前記下面部と前記前面部とで形成される下コーナ部とに前記防露パイプが配置され、前記アルミテープは前記上面部から前記前面部を通って前記下面部に亘って1枚で固定されることを特徴とする請求項2に記載の冷蔵庫。
【請求項4】
前記仕切り部にはドアスイッチを保持するベーススイッチが備えられ、前記防露パイプは前記ベーススイッチに保持されることを特徴とする請求項3のいずれかに記載の冷蔵庫。
【請求項5】
前記外箱は、複数の外板が接続されて構成されたことを特徴とする請求項1から4のいずれかの記載の冷蔵庫。
発明の詳細な説明
【技術分野】
【0001】
本発明は、冷蔵庫に関する。
続きを表示(約 1,500 文字)
【背景技術】
【0002】
特許文献1は、冷蔵庫の仕切壁にドアの開閉を検知するドアスイッチ(リードスイッチ)を備えた冷蔵庫を開示している。この冷蔵庫のドアスイッチの背面には成形断熱材が配置し、成形断熱材は、仕切壁に充填され現場発泡するウレタンがドアスイッチが配置する箇所に侵入しないように左右幅方向全体に構成されている。このため仕切壁の前面にはウレタンは充填されない構成となっている。また仕切壁に押圧して仕切壁の結露を抑制する防露パイプが備えられ、さらにドアを保持するヒンジが仕切壁にビス等の工具で固定されている。これによって、仕切壁にはヒンジが固定され、防露パイプが押圧されて形成されている。
【先行技術文献】
【特許文献】
【0003】
特開2008-101804号公報
【発明の概要】
【発明が解決しようとする課題】
【0004】
本開示は、防露パイプを予め内箱に設置して、開口部の結露を抑制するもので、特に仕切り部の防露パイプによる結露抑制性能のバラツキを低減した冷蔵庫を提供する。
【課題を解決するための手段】
【0005】
本開示における冷蔵庫は、前面に開口部が設けられ、内部に貯蔵室が設けられた断熱箱体を備え、断熱箱体は、貯蔵室となる内箱と、外箱と、断熱材と、貯蔵室内を複数室に仕切る仕切り部と、仕切り部の前面を形成する前面板と、開口部の結露を抑制する防露パイプとを備え、防露パイプに前面板を予め固定した状態で、防露パイプを内箱と仕切り部に配置される。
【発明の効果】
【0006】
本開示における冷蔵庫は、仕切り部の前面板に設置される防露パイプの配置バラツキを低減し、結露を抑制することができる。
【図面の簡単な説明】
【0007】
本開示の実施の形態に係る冷蔵庫の斜視図
冷蔵庫の分解斜視図
仕切り部を示す斜視図
仕切り部を示す要部斜視図
仕切り部のベーススイッチ取付け前の平面図
仕切り部のベーススイッチ取付け後の平面図
仕切り部のドアスイッチ分解図
仕切り部のドアスイッチ縦断面図
断熱材が充填された仕切り部を示す縦断面図
防露パイプに前面板固定時の斜視図
内箱に防露パイプを設置した状態の斜視図
図10の要部断面図
【発明を実施するための形態】
【0008】
以下、図面を参照しながら、実施の形態を詳細に説明する。但し、必要以上に詳細な説明は省略する場合がある。例えば、既によく知られた事項の詳細説明、または、実質的に同一の構成に対する重複説明を省略する場合がある。これは、以下の説明が必要以上に冗長になるのを避け、当業者の理解を容易にするためである。
【0009】
なお、添付図面および以下の説明は、当業者が本開示を十分に理解するために提供されるのであって、これらにより特許請求の範囲に記載の主題を限定することを意図していない。
【0010】
(実施の形態)
以下、図1~図9を用いて、実施の形態を説明する。なお、各図に示す符号Xは、設置状態における冷蔵庫1、及び断熱箱体10の前方を示し、符号Zは、冷蔵庫1の上方を示し、符号Yは、冷蔵庫1、及び断熱箱体10の左方を示す。以下の説明において、各方向は、これらの冷蔵庫1の方向に沿った方向である。
(【0011】以降は省略されています)
この特許をJ-PlatPat(特許庁公式サイト)で参照する
関連特許
個人
製氷容器
9日前
株式会社不二工機
膨張弁
1か月前
株式会社不二工機
膨張弁
1か月前
アクア株式会社
冷蔵庫
17日前
アクア株式会社
冷蔵庫
17日前
ホシザキ株式会社
冷凍装置
1か月前
富士電機株式会社
冷却装置
9日前
フクシマガリレイ株式会社
断熱扉
1か月前
富士電機株式会社
自動販売機
1か月前
フクシマガリレイ株式会社
冷却貯蔵庫
1か月前
フクシマガリレイ株式会社
冷却貯蔵庫
1か月前
ダイキン工業株式会社
冷凍装置
1か月前
フクシマガリレイ株式会社
ショーケース
2か月前
株式会社ゼロカラ
冷凍装置
25日前
株式会社ゼロカラ
冷凍装置
25日前
ダイキン工業株式会社
冷媒充填方法
1か月前
株式会社フィラディス
ワインセラー
17日前
株式会社フィラディス
ワインセラー
2日前
FrostiX株式会社
冷凍システム
10日前
フクシマガリレイ株式会社
商品販売システム
1か月前
アクア株式会社
冷却ボックス装置
1か月前
アクア株式会社
冷却ボックス装置
1か月前
株式会社アイシン
冷暖房システム
2か月前
三菱電機株式会社
冷蔵庫
17日前
アイ・ティ・イー株式会社
相変化判定システム
17日前
株式会社前川製作所
冷却装置
1か月前
株式会社富士通ゼネラル
冷凍サイクル装置
1か月前
株式会社富士通ゼネラル
冷凍サイクル装置
1か月前
東芝ライフスタイル株式会社
冷蔵庫
4日前
株式会社富士通ゼネラル
冷凍サイクル装置
1か月前
東芝ライフスタイル株式会社
冷却装置
1か月前
東芝ライフスタイル株式会社
冷却装置
1か月前
日本碍子株式会社
空調システム
1か月前
三菱電機株式会社
冷凍冷蔵庫
2日前
株式会社MARS Company
ドラム式製氷機
10日前
株式会社MARS Company
ドラム式製氷機
10日前
続きを見る
他の特許を見る