TOP
|
特許
|
意匠
|
商標
特許ウォッチ
Twitter
他の特許を見る
10個以上の画像は省略されています。
公開番号
2025140135
公報種別
公開特許公報(A)
公開日
2025-09-29
出願番号
2024039322
出願日
2024-03-13
発明の名称
車両運転支援システム
出願人
マツダ株式会社
代理人
個人
,
個人
,
個人
,
個人
,
個人
主分類
B60W
50/08 20200101AFI20250919BHJP(車両一般)
要約
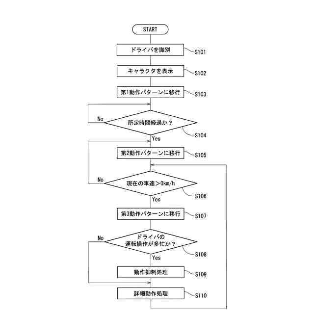
【課題】ドライバ以外の乗員が乗車していない場合でも同乗者効果を得られる車両運転支援システム10を提供することを目的とする。
【解決手段】車両1の走行挙動及び自車周辺の状況に基づいて自車状況を検出する自車状況検出手段(ECU26)と、自車状況検出手段で検出した自車状況に基づく音声案内を車両1のドライバに報知する音声案内手段(スピーカー15及びECU26)とを備えた車両運転支援システム10であって、三次元仮想空間Sに配置されたキャラクタVを表示する表示部14と、三次元仮想空間SにおけるキャラクタVの動作を制御するキャラクタ制御手段(ECU26)とを備え、キャラクタ制御手段は、大きさ及び形状が1/fゆらぎで変化する動きに所定の移動特性で移動する動きを組み合わせた動作である第2動作パターンで、三次元仮想空間Sで待機するキャラクタVの動作を制御する構成であることを特徴とする。
【選択図】図5
特許請求の範囲
【請求項1】
車両の走行挙動及び自車周辺の状況に基づいて自車状況を検出する自車状況検出手段と、該自車状況検出手段で検出した前記自車状況に基づく音声案内を前記車両のドライバに報知する音声案内手段とを備えた車両運転支援システムであって、
三次元仮想空間に配置されたキャラクタを表示する表示部と、
前記三次元仮想空間における前記キャラクタの動作を制御するキャラクタ制御手段とを備え、
該キャラクタ制御手段は、
大きさ及び形状が1/fゆらぎで変化する動きに所定の移動特性で移動する動きを組み合わせた動作である第1動作態様で、前記三次元仮想空間で待機する前記キャラクタの動作を制御する構成である
車両運転支援システム。
続きを表示(約 870 文字)
【請求項2】
前記ドライバの視線移動を検出する視線検出手段を備え、
前記キャラクタ制御手段は、
前記視線検出手段で前記ドライバの視線移動を検出した場合、大きさ及び形状が1/fゆらぎで変化する動きに、前記ドライバの視線移動に追従して移動する動きを組み合わせた動作である第2動作態様で前記キャラクタの動作を制御する構成である
請求項1に記載の車両運転支援システム。
【請求項3】
前記音声案内手段は、
前記自車状況が前記車両の進行方向以外の方向に対する注意喚起を要する状況の場合、前記ドライバに対する注意喚起を音声案内で報知する構成であり、
前記キャラクタ制御手段は、
前記ドライバに対する注意喚起が音声案内で報知される際、大きさ及び形状が1/fゆらぎで変化する動きに、注意を要する前記進行方向以外の方向へ移動する動きを組み合わせた動作である第3動作態様で前記キャラクタの動作を制御する構成である
請求項1に記載の車両運転支援システム。
【請求項4】
前記キャラクタ制御手段は、
前記自車状況検出手段で検出した前記自車状況が走行中の場合、大きさ及び形状が1/fゆらぎで変化する動きに、前記車両の進行方向を向く動きを組み合わせた動作である第4動作態様で前記キャラクタの動作を制御し、前記音声案内手段による前記音声案内が報知される際、大きさ及び形状が1/fゆらぎで変化する動きに、前記ドライバに正対する動きを組み合わせた動作である第5動作態様で前記キャラクタの動作を制御する構成である
請求項1に記載の車両運転支援システム。
【請求項5】
運転中の前記ドライバの状態を検出するドライバ状態検出手段を備え、
前記キャラクタ制御手段は、
前記ドライバ状態検出手段で検出した前記ドライバの状態が多忙な場合、前記第2動作態様における前記キャラクタの動きを抑える構成である
請求項2に記載の車両運転支援システム。
発明の詳細な説明
【技術分野】
【0001】
この発明は、例えば車両の走行挙動や自車周辺の状況に基づく音声案内をドライバに報知して、ドライバの運転操作を支援するような車両運転支援システムに関する。
続きを表示(約 1,400 文字)
【背景技術】
【0002】
自動車などの車両では、ドライバの運転操作を支援する車両運転支援システムとして、例えばドライバの運転操作に部分的に介入する先進運転支援システムや、所定条件下においてドライバから運転操作を譲受して自動運転を行う自動運転システムなどが知られている。
【0003】
このような車両運転支援システムでは、例えば車両の周囲の状況に応じた各種案内や、ドライバと車両との間で運転操作の受け渡しを行う案内を、音声や文字だけでなく車両の分身であるキャラクタを介して報知している。
【0004】
例えば特許文献1には、車両を擬人化したキャラクタを車室内の表示部に表示し、ドライバの運転操作及び車両の走行挙動に基づき識別した自車状況を、キャラクタの表情変化によりドライバに伝達している。
【0005】
ところで、自動車などの車両では、車両にドライバ以外の乗員が乗車している場合、ドライバ自身と他者の心理状態に注意を向け理解するドライバのメンタライジングによって、ドライバの運転が安全運転傾向となり、同乗者がいない場合に比べて事故率が低くなるという、所謂、同乗者効果が知られている。
【0006】
しかしながら、ドライバ以外の乗員が車両に常に乗車しているとは限らないため、同乗者不在の場合、同乗者効果が得られ難いという問題がある。
そこで、表示部に表示するキャラクタを同乗者として機能させることが考えられるが、例えば特許文献1のようにドライバの運転操作及び車両の走行挙動に基づき識別した自車状況の伝達を目的としたキャラクタでは、ドライバに同乗者として十分に認知されず、同乗者効果を期待できないおそれがあった。
【先行技術文献】
【特許文献】
【0007】
特開2003-72488号公報
【発明の概要】
【発明が解決しようとする課題】
【0008】
本発明は、上述の問題に鑑み、ドライバ以外の乗員が乗車していない場合でも同乗者効果を得られる車両運転支援システムを提供することを目的とする。
【課題を解決するための手段】
【0009】
この発明は、車両の走行挙動及び自車周辺の状況に基づいて自車状況を検出する自車状況検出手段と、該自車状況検出手段で検出した前記自車状況に基づく音声案内を前記車両のドライバに報知する音声案内手段とを備えた車両運転支援システムであって、三次元仮想空間に配置されたキャラクタを表示する表示部と、前記三次元仮想空間における前記キャラクタの動作を制御するキャラクタ制御手段とを備え、該キャラクタ制御手段は、大きさ及び形状が1/fゆらぎで変化する動きに所定の移動特性で移動する動きを組み合わせた動作である第1動作態様で、前記三次元仮想空間で待機する前記キャラクタの動作を制御する構成であることを特徴とする。
【0010】
上記キャラクタは、表示部に表示される三次元立体形状または二次元画像の物体、車両の分身体であるアバター、あるいは擬人化キャラクタなどのことをいう。
上記1/fゆらぎとは、周波数fをf>0で有限な範囲をとるものとして、スペクトル密度が周波数fに反比例するゆらぎである。
(【0011】以降は省略されています)
この特許をJ-PlatPat(特許庁公式サイト)で参照する
関連特許
マツダ株式会社
エンジン
1か月前
マツダ株式会社
二次電池
1か月前
マツダ株式会社
車載機器
1か月前
マツダ株式会社
二次電池
1か月前
マツダ株式会社
車体後部構造
13日前
マツダ株式会社
排気システム
1か月前
マツダ株式会社
排気システム
1か月前
マツダ株式会社
運転支援装置
1か月前
マツダ株式会社
運転支援装置
1か月前
マツダ株式会社
運転支援装置
1か月前
マツダ株式会社
車両の前部構造
1か月前
マツダ株式会社
インバータ装置
1か月前
マツダ株式会社
インバータ装置
1か月前
マツダ株式会社
インバータ装置
1か月前
マツダ株式会社
インバータ装置
1か月前
マツダ株式会社
車両の上部構造
20日前
マツダ株式会社
バッテリユニット
12日前
マツダ株式会社
バッテリユニット
12日前
マツダ株式会社
二次電池の制御装置
1か月前
マツダ株式会社
車両の下部車体構造
1か月前
マツダ株式会社
バッテリの制御装置
1か月前
マツダ株式会社
エンジンの制御装置
1か月前
マツダ株式会社
二次電池の制御装置
1か月前
マツダ株式会社
バッテリ状態推定装置
1か月前
マツダ株式会社
エンジンの燃焼室構造
1か月前
マツダ株式会社
自動変速機の油路構造
1か月前
マツダ株式会社
被覆金属材の試験方法
1か月前
マツダ株式会社
エンジンの燃焼室構造
1か月前
マツダ株式会社
バッテリ温度制御システム
1か月前
マツダ株式会社
車両のパワートレイン構造
1か月前
マツダ株式会社
車両のパワートレイン構造
1か月前
マツダ株式会社
車両のパワートレイン構造
1か月前
マツダ株式会社
車両のパワートレイン構造
1か月前
マツダ株式会社
電気自動車のバッテリ搭載構造
1か月前
マツダ株式会社
車両の合流位置評価装置及び方法
1か月前
マツダ株式会社
車両の合流位置評価装置及び方法
1か月前
続きを見る
他の特許を見る