TOP
|
特許
|
意匠
|
商標
特許ウォッチ
Twitter
他の特許を見る
公開番号
2025162072
公報種別
公開特許公報(A)
公開日
2025-10-27
出願番号
2024065181
出願日
2024-04-15
発明の名称
車両用内燃機関のトルクダウン制御方法および装置
出願人
日産自動車株式会社
代理人
個人
,
個人
,
個人
,
個人
主分類
F02P
5/15 20060101AFI20251020BHJP(燃焼機関;熱ガスまたは燃焼生成物を利用する機関設備)
要約
【課題】過給内燃機関において、自動変速機のアップシフト変速中にアクセルペダルが全閉に操作されたときに、残存した過給圧の影響により目標トルクダウン量TD2が過大に算出され、不要な二次的なトルクダウンが生じてしまう。
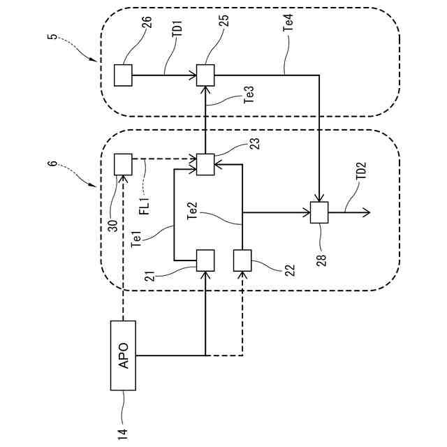
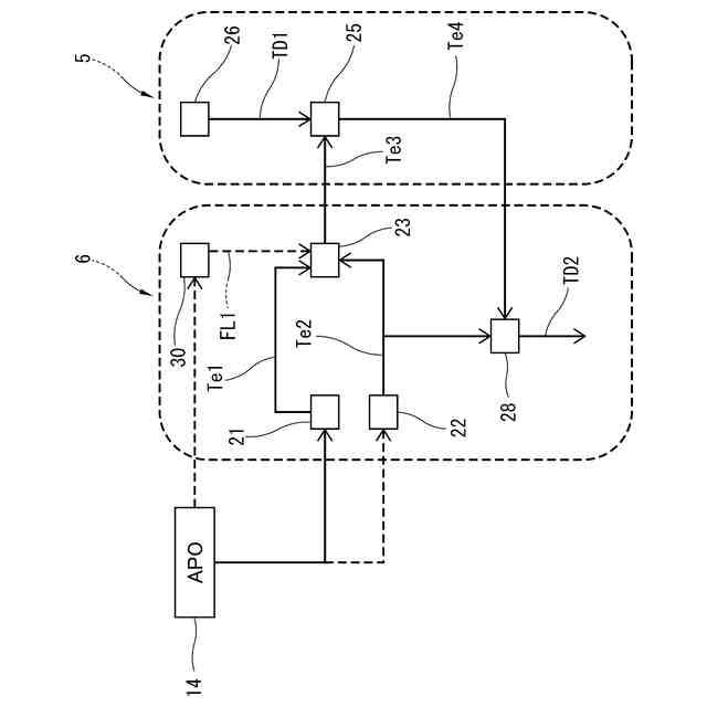
【解決手段】AT送信トルク算出部23は、通常は、アクセルペダル開度に応じたドライバ要求トルクTe1と充填効率に基づく推定トルクTe2との間の中間的な値としてAT送信トルクTe3を求め、AT要求トルク算出部25へ出力する。アップシフト変速中にアクセルペダルが全閉となったときに、トルク信号切換フラグFL1がONとなり、AT送信トルク算出部部23は、推定トルクTe2の値をAT送信トルクTe3としてATコントローラ5へ与える。これにより、AT要求トルクTe4が大きくなり、二次的なトルクダウンが生じない。
【選択図】図2
特許請求の範囲
【請求項1】
過給機を有する内燃機関に接続された有段自動変速機の変速もしくは無段変速機のステップ変速によるアップシフト変速の際に、内燃機関の点火時期リタードによるトルクダウンを行う車両用内燃機関のトルクダウン制御方法であって、
アクセルペダル開度に沿ってドライバ要求トルクを算出し、
内燃機関の充填効率を求め、この充填効率に基づいて基準点火時期の下で出力される推定トルクを算出し、
上記ドライバ要求トルクと上記推定トルクとに基づき、上記点火時期リタードによるトルクダウンおよびスロットル開度補正によるトルクダウンを除いたトルク値としてAT送信トルクを算出し、
イナーシャ吸収に必要な要求トルクダウン量を求め、この要求トルクダウン量と上記AT送信トルクとからAT要求トルクを算出し、
上記推定トルクと上記AT要求トルクとの比較に基づいて上記点火時期リタードによる目標トルクダウン量を決定する、
車両用内燃機関のトルクダウン制御方法において、
アップシフト変速中にアクセルペダルが閉操作されたときに、上記AT要求トルクの算出に用いる上記AT送信トルクの値として、上記推定トルクの値に切り換える、
車両用内燃機関のトルクダウン制御方法。
続きを表示(約 1,000 文字)
【請求項2】
アップシフト変速中にアクセルペダル開度が所定の閾値よりも大きい状態から閾値以下に変化したときに上記の推定トルクの値への切り換えを行う、
請求項1に記載の車両用内燃機関のトルクダウン制御方法。
【請求項3】
変速の進行により実変速比が所定の閾値以下となっていることを条件として、上記の推定トルクの値への切り換えを行う、
請求項1に記載の車両用内燃機関のトルクダウン制御方法。
【請求項4】
上記内燃機関は、過給機として、ターボチャージャを備えている、
請求項1に記載の車両用内燃機関のトルクダウン制御方法。
【請求項5】
過給機を有する内燃機関に接続された有段自動変速機の変速もしくは無段変速機のステップ変速によるアップシフト変速の際に、内燃機関の点火時期リタードによるトルクダウンを行う車両用内燃機関のトルクダウン制御装置であって、
上記内燃機関を制御するエンジンコントローラと、
上記有段自動変速機ないし無段変速機の変速を制御するATコントローラと、
を有し、
上記エンジンコントローラは、アクセルペダル開度に沿ってドライバ要求トルクを算出し、内燃機関の充填効率を求め、この充填効率に基づいて基準点火時期の下で出力される推定トルクを算出し、上記ドライバ要求トルクと上記推定トルクとに基づき、上記点火時期リタードによるトルクダウンおよびスロットル開度補正によるトルクダウンを除いたトルク値としてAT送信トルクを算出して、当該AT送信トルクを上記ATコントローラへ出力し、さらに、上記ATコントローラから入力されるAT要求トルクと上記推定トルクとの比較に基づいて点火時期リタードによる目標トルクダウン量を決定するように構成され、
上記ATコントローラは、イナーシャ吸収に必要な要求トルクダウン量を求め、この要求トルクダウン量と上記AT送信トルクとからAT要求トルクを算出して、当該AT要求トルクを上記エンジンコントローラへ出力するように構成されている、
車両用内燃機関のトルクダウン制御装置において、
上記エンジンコントローラは、アップシフト変速中にアクセルペダルが閉操作されたときに、上記AT要求トルクの算出に用いる上記AT送信トルクの値として、上記推定トルクの値に切り換えて上記ATコントローラへ出力する、
車両用内燃機関のトルクダウン制御装置。
発明の詳細な説明
【技術分野】
【0001】
この発明は、過給機付き内燃機関に接続された有段自動変速機の変速もしくは無段変速機のステップ変速によるアップシフト変速の際に、内燃機関の点火時期リタードによるトルクダウンを行う車両用内燃機関のトルクダウン制御に関する。
続きを表示(約 2,000 文字)
【背景技術】
【0002】
車両の内燃機関に接続された有段自動変速機の変速もしくは無段変速機のステップ変速によるアップシフト変速の際に、主に変速ショックの緩和のために、特許文献1に記載されているように、内燃機関の点火時期リタードによるトルクダウンを行うことが知られている。
【0003】
点火時期リタードの量ないし程度は、基本的に、特許文献1に記載のように、トルクダウンが要求されている間の目標トルクと基準点火時期(例えばMBT点)の下で出力されるべき推定トルクとを比較することで決定される。つまり、MBT点での推定トルクに比較して目標トルクが小さいほど必要なトルクダウン量つまり点火時期リタードの量ないし程度が大となる。
【先行技術文献】
【特許文献】
【0004】
特開2006-316632号公報
【発明の概要】
【発明が解決しようとする課題】
【0005】
自動変速機のアップシフト変速は、例えば、車両が平坦路を緩加速走行しているような状況で車速が上昇することによって実行される。従って、一般に、アクセルペダル開度は、ある程度の大きさの中間開度となっている。ここで、いわゆるチェンジオブマインドとして、変速処理が完了する前(換言すれば点火時期リタードが許容されている期間中)に、運転者がアクセルペダルを解放つまりアクセルペダル開度を全閉とすることがある。このような場合に、過給機を備えた内燃機関にあっては、アクセルペダルの閉操作に伴ってスロットルバルブ開口面積が縮小しても過給圧の低下が遅れる。
【0006】
従って、トルクダウン量の演算の基礎となるMBT点での推定トルクの値が、吸気系に残存する過給圧分だけ大きくなる。仮にトルクダウン後の目標トルクを、残存する過給圧を加味せずに単純に決定したとすると、目標トルクとMBT点での推定トルクとの乖離が大きくなるため、変速処理と無関係な二次的なトルクダウン(点火時期リタード)が発生する。
【0007】
アクセルペダル開度が全閉となるタイミングによっては、変速に伴う本来のトルクダウンが終了した後に上記の変速処理と無関係な二次的なトルクダウンが発生する場合もあり、変速機に入力されるトルクが一時的に大きく変動する。例えば、このようなトルク変動に伴い、車両の前後振動が引き起こされてしまう。
【課題を解決するための手段】
【0008】
この発明は、過給機を有する内燃機関に接続された有段自動変速機の変速もしくは無段変速機のステップ変速によるアップシフト変速の際に、内燃機関の点火時期リタードによるトルクダウンを行う車両用内燃機関のトルクダウン制御方法であって、
アクセルペダル開度に沿ってドライバ要求トルクを算出し、
内燃機関の充填効率を求め、この充填効率に基づいて基準点火時期の下で出力される推定トルクを算出し、
上記ドライバ要求トルクと上記推定トルクとに基づき、上記点火時期リタードによるトルクダウンおよびスロットル開度補正によるトルクダウンを除いたトルク値としてAT送信トルクを算出し、
イナーシャ吸収に必要な要求トルクダウン量を求め、この要求トルクダウン量と上記AT送信トルクとからAT要求トルクを算出し、
上記推定トルクと上記AT要求トルクとの比較に基づいて上記点火時期リタードによる目標トルクダウン量を決定する、
車両用内燃機関のトルクダウン制御方法において、
アップシフト変速中にアクセルペダルが閉操作されたときに、上記AT要求トルクの算出に用いる上記AT送信トルクの値として、上記推定トルクの値に切り換える。
【0009】
アップシフト変速中にアクセルペダルが閉操作されたときに、充填効率に基づく上記の推定トルクは、吸気系に残存する過給圧の影響を含んでいる。AT要求トルクの算出に用いるAT送信トルクの値として、上記推定トルクの値に切り換えることで、AT要求トルクも吸気系に残存する過給圧の影響を含んだものとなる。換言すれば、アクセルペダル開度に沿ったドライバ要求トルクに比較してAT要求トルクが大きくなり、推定トルクとAT要求トルクとの比較に基づく目標トルクダウン量が小さく(例えば0に)なる。つまり、残存する過給圧の影響による二次的なトルクダウンの発生が回避される。
【発明の効果】
【0010】
この発明によれば、過給機を有する内燃機関において、点火時期リタードによるトルクダウンを行うアップシフト変速中にアクセルペダルが閉操作されたときに、吸気系に残存する過給圧の影響による二次的なトルクダウンの発生が回避され、この二次的なトルクダウンに起因したトルク変動や車両振動の発生を防止できる。
【図面の簡単な説明】
(【0011】以降は省略されています)
この特許をJ-PlatPat(特許庁公式サイト)で参照する
関連特許
日産自動車株式会社
二次電池
22日前
日産自動車株式会社
二次電池
25日前
日産自動車株式会社
保持機構
1か月前
日産自動車株式会社
内燃機関
11日前
日産自動車株式会社
電動車両
14日前
日産自動車株式会社
保持機構
26日前
日産自動車株式会社
積層型電池
1か月前
日産自動車株式会社
面圧付与機構
1か月前
日産自動車株式会社
面圧付与機構
28日前
日産自動車株式会社
ロータシャフト
6日前
日産自動車株式会社
電池モジュール
19日前
日産自動車株式会社
電池モジュール
12日前
日産自動車株式会社
ロータシャフト
6日前
日産自動車株式会社
車両用排気部構造
11日前
日産自動車株式会社
リチウム二次電池
11日前
日産自動車株式会社
リチウム二次電池
25日前
日産自動車株式会社
塗装方法及び自動車
13日前
日産自動車株式会社
ギヤ装置のブリーザ構造
28日前
日産自動車株式会社
エンジンのアンダカバー
19日前
株式会社ニフコ
締結構造
19日前
日産自動車株式会社
車両用荷室における排熱構造
22日前
日産自動車株式会社
相乗り可否判定方法及び装置
22日前
日産自動車株式会社
車載機能制御方法及び車載端末
27日前
日産自動車株式会社
経路案内方法及び経路案内装置
27日前
日産自動車株式会社
配車管理装置及び配車管理方法
1か月前
日産自動車株式会社
車両制御装置及び車両制御方法
1か月前
日産自動車株式会社
施錠制御方法及び施錠制御装置
21日前
日産自動車株式会社
画像処理方法及び画像処理装置
1か月前
日産自動車株式会社
運転支援方法及び運転支援装置
19日前
日産自動車株式会社
運転支援方法及び運転支援装置
20日前
日産自動車株式会社
車両制御方法および車両制御装置
20日前
日産自動車株式会社
車両制御方法および車両制御装置
20日前
日産自動車株式会社
固体酸化物形燃料電池の製造方法
1か月前
日産自動車株式会社
車両制御方法および車両制御装置
20日前
日産自動車株式会社
物体検出方法、及び物体検出装置
11日前
日産自動車株式会社
衝突回避方法、及び衝突回避装置
11日前
続きを見る
他の特許を見る