TOP
|
特許
|
意匠
|
商標
特許ウォッチ
Twitter
他の特許を見る
公開番号
2025166549
公報種別
公開特許公報(A)
公開日
2025-11-06
出願番号
2024070648
出願日
2024-04-24
発明の名称
電池モジュール
出願人
日産自動車株式会社
代理人
個人
,
個人
,
個人
主分類
H01M
10/655 20140101AFI20251029BHJP(基本的電気素子)
要約
【課題】電極端子で生じる熱を効率的に放熱することが可能な電池モジュールを提供する。
【解決手段】電池モジュールは、外装材でパックされた電池セルと、電池セルの第1面の側に位置する冷却部と、電池セルと冷却部との間に位置する放熱層と、を備える。電池セルは、第1面と第1面の反対側である第2面との間から側方へ突出する電極端子を有する。電極端子は放熱層と接している。
【選択図】図2
特許請求の範囲
【請求項1】
外装材でパックされた電池セルと、
前記電池セルの第1面の側に位置する冷却部と、
前記電池セルと前記冷却部との間に位置する放熱層と、を備え、
前記電池セルは、
前記第1面と前記第1面の反対側である第2面との間から側方へ突出する第1電極端子及び第2電極端子を有し、
前記第1電極端子及び前記第2電極端子の少なくとも一方は、前記放熱層と接している、電池モジュール。
続きを表示(約 820 文字)
【請求項2】
前記電池セルの前記外装材は前記放熱層と接している、請求項1に記載の電池モジュール。
【請求項3】
前記第1電極端子及び前記第2電極端子の少なくとも一方において、前記冷却部に近い側の端部を覆う絶縁層、をさらに備える請求項1又は2に記載の電池モジュール。
【請求項4】
前記第1電極端子及び前記第2電極端子の両方が前記放熱層と接している、請求項1又は2に記載の電池モジュール。
【請求項5】
前記第1電極端子及び前記第2電極端子の少なくとも一方は、前記第1面と前記第2面との間の中心位置よりも前記第1面側に偏って配置されている、請求項1又は2に記載の電池モジュール。
【請求項6】
前記第1電極端子及び前記第2電極端子の少なくとも一方の表面に凹凸が設けられている請求項1又は2に記載の電池モジュール。
【請求項7】
前記第1電極端子及び前記第2電極端子の少なくとも一方は、前記側方から見てL字の形状を有する、請求項1又は2に記載の電池モジュール。
【請求項8】
前記放熱層において、前記第1電極端子及び前記第2電極端子の少なくとも一方と接する部分は、前記電池セルの前記外装材と接する部分よりも厚みが厚い、請求項1又は2に記載の電池モジュール。
【請求項9】
前記放熱層は、絶縁性の材料で構成されている、請求項1又は2に記載の電池モジュール。
【請求項10】
前記電池セルを複数備え、
前記複数の電池セルは一方向に並んで配置されており、
前記複数の電池セルの各々が有する前記第1電極端子同士、又は、前記複数の電池セルの各々が有する前記第2電極端子同士を接続するバスバー、をさらに備え、
前記バスバーは前記放熱層と接している、請求項1又は2に記載の電池モジュール。
発明の詳細な説明
【技術分野】
【0001】
本発明は、電池モジュールに関する。
続きを表示(約 1,700 文字)
【背景技術】
【0002】
特許文献1には、電池積層体の各層を構成する電池ユニットにそれぞれ金属板を用意し、各電池ユニットの電極端子を金属板に接続することで、電極端子で生じた熱を、金属板を介して電池ユニットに放熱する技術が開示されている。
【先行技術文献】
【特許文献】
【0003】
特開2016-59585号公報
【発明の概要】
【発明が解決しようとする課題】
【0004】
近年の電池モジュールでは、電離ユニット(電池セル)の高容量化、高エネルギー密度化が進みつつある。電池セルの高容量化、高エネルギー密度化に伴い、電極端子に流れる電流値が大きくなり、電極端子の発熱が増えてきている。電極端子の発熱を抑制するために、電極端子で生じる熱を効率的に放熱する技術が求められる。
【0005】
本発明は、このような事情に鑑みてなされたものであって、電極端子で生じる熱を効率的に放熱することが可能な電池モジュールを提供することを目的とする。
【課題を解決するための手段】
【0006】
本発明の一態様に係る電池モジュールは、外装材でパックされた電池セルと、電池セルの第1面の側に位置する冷却部と、電池セルと冷却部との間に位置する放熱層と、を備える。電池セルは、第1面と第1面の反対側である第2面との間から側方へ突出する電極端子を有する。電極端子は放熱層と接している。
【発明の効果】
【0007】
本発明の一態様によれば、電極端子で生じる熱を効率的に放熱することが可能な電池モジュールを提供することができる。
【図面の簡単な説明】
【0008】
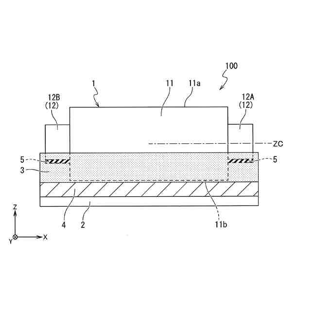
図1は、本発明の実施形態1に係る電池モジュールの構成例を示す斜視図である。
図2は、本発明の実施形態1に係る電池モジュールの構成例を示す正面図である。
図3は、本発明の実施形態1に係る電池モジュールの構成例を示す側面図である。
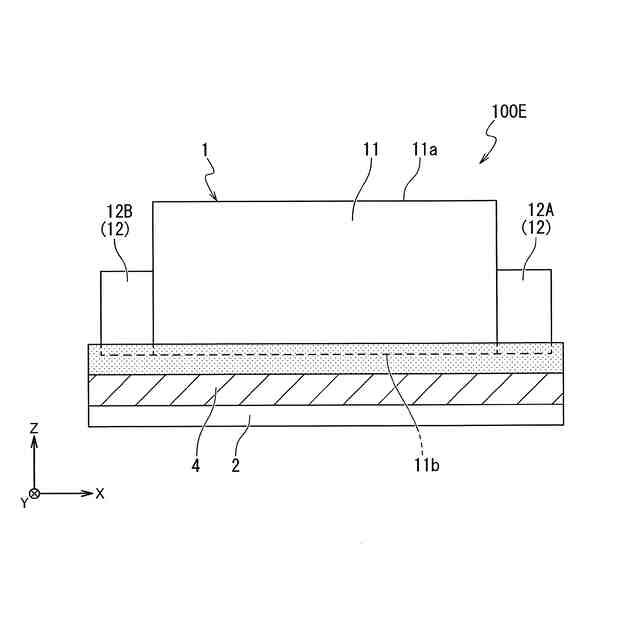
図4は、本発明の実施形態2に係る電池モジュールの構成例を示す正面図である。
図5は、本発明の実施形態3に係る電池モジュールの構成例を示す正面図である。
図6は、本発明の実施形態4に係る電池モジュールの構成例を示す正面図である。
図7は、本発明の実施形態5に係る電池モジュールの構成例を示す正面図である。
図8は、本発明の実施形態6に係る電池モジュールの構成例を示す正面図である。
図9は、本発明の実施形態7に係るタブの表面を示す図である。
図10は、図9に示す図をA-A´線で切断した断面図である。
図11は、本発明の実施形態8に係る電池モジュールの構成例を示す側面図である。
図12は、本発明の実施形態8に係るタブの構成例を示す斜視図である。
図13は、本発明の実施形態9に係る電池モジュールの構成例を示す斜視図である。
図14は、本発明の実施形態9に係る電池モジュールの構成例を示す側面図である。
図15は、本発明の実施形態に係る電池モジュールの変形例(その1)を示す側面図である。
図16は、本発明の実施形態に係る電池モジュールの変形例(その2)を示す側面図である。
図17は、本発明の実施形態に係る電池モジュールの変形例(その3)を示す側面図である。
【発明を実施するための形態】
【0009】
以下において、図面を参照して本発明の実施形態を説明する。以下の説明で参照する図面の記載において、同一又は類似の部分には同一又は類似の符号を付している。ただし、図面は模式的なものであり、厚みと平面寸法との関係、各層の厚みの比率等は現実のものとは異なることに留意すべきである。
【0010】
以下の説明では、X軸方向、Y軸方向及びZ軸方向の文言を用いて、方向を説明する場合がある。Z軸方向は、電池セル1の厚さ方向である。X軸方向及びY軸方向は、電池セル1の上面11a又は下面11bに平行な方向であり、電池セル1の厚さ方向と直交する方向でもある。
(【0011】以降は省略されています)
この特許をJ-PlatPat(特許庁公式サイト)で参照する
関連特許
日産自動車株式会社
二次電池
1か月前
日産自動車株式会社
電動車両
25日前
日産自動車株式会社
電子機器
9日前
日産自動車株式会社
内燃機関
22日前
日産自動車株式会社
吸気装置
3日前
日産自動車株式会社
二次電池
1か月前
日産自動車株式会社
電池モジュール
1か月前
日産自動車株式会社
電池モジュール
1日前
日産自動車株式会社
ロータシャフト
17日前
日産自動車株式会社
ロータシャフト
17日前
日産自動車株式会社
電池モジュール
23日前
日産自動車株式会社
リチウム二次電池
22日前
日産自動車株式会社
車両用排気部構造
22日前
日産自動車株式会社
全固体電池システム
1日前
日産自動車株式会社
塗装方法及び自動車
24日前
日産自動車株式会社
エアレスタイヤ構造
9日前
日産自動車株式会社
ピックアップトラック
3日前
日産自動車株式会社
支援方法及び支援装置
3日前
日産自動車株式会社
エンジンのアンダカバー
1か月前
日産自動車株式会社
パワー半導体モジュール
1日前
株式会社ニフコ
締結構造
1か月前
日産自動車株式会社
車両用荷室における排熱構造
1か月前
日産自動車株式会社
車両乗り合わせ方法及び装置
2日前
日産自動車株式会社
相乗り可否判定方法及び装置
1か月前
日産自動車株式会社
車両制御装置及び車両制御方法
2日前
日産自動車株式会社
情報処理装置及び情報処理方法
1日前
日産自動車株式会社
運転支援方法及び運転支援装置
1か月前
日産自動車株式会社
運転支援方法及び運転支援装置
1か月前
日産自動車株式会社
情報提供方法及び情報提供装置
9日前
日産自動車株式会社
施錠制御方法及び施錠制御装置
1か月前
日産自動車株式会社
車両制御装置及び車両制御方法
2日前
日産自動車株式会社
衝突回避方法、及び衝突回避装置
22日前
日産自動車株式会社
物体検出方法、及び物体検出装置
22日前
日産自動車株式会社
車両制御方法および車両制御装置
1か月前
日産自動車株式会社
車両制御方法および車両制御装置
1か月前
日産自動車株式会社
車両制御方法および車両制御装置
1か月前
続きを見る
他の特許を見る