TOP
|
特許
|
意匠
|
商標
特許ウォッチ
Twitter
他の特許を見る
公開番号
2025157801
公報種別
公開特許公報(A)
公開日
2025-10-16
出願番号
2024060045
出願日
2024-04-03
発明の名称
車両制御装置及び車両制御方法
出願人
日産自動車株式会社
代理人
個人
,
個人
,
個人
主分類
B60W
60/00 20200101AFI20251008BHJP(車両一般)
要約
【課題】 他車両の走行による交通流の阻害に対して円滑な交通流を実現する。
【解決手段】 本発明は、自動運転可能な自車両を制御する車両制御装置は、前記自車両の外部に対して所定の情報を出力するように外部出力装置を制御する外部出力制御部と、所定の走行状態で道路を走行中の自車両が先行車両による交通流阻害状況があるか否かを検知する交通流阻害状況検知部と、所定の許容基準に従って、前記先行車両による前記交通流阻害状況を許容できるか否かを判断する交通流阻害状況許容判断部と、を備える。前記外部出力制御部は、前記交通流阻害状況を許容できると判断される場合に、後続車両に前記自車両の前記走行状態を維持する旨を報知するように前記外部出力装置を制御し、前記交通流阻害状況を許容できないと判断される場合に、前記先行車両に対して前前記交通流阻害状況がなされている旨を第1出力形態で報知するように前記外部出力装置を制御する。
【選択図】 図2
特許請求の範囲
【請求項1】
自律走行可能な自車両を制御するための車両制御装置であって、
前記自車両の外部に対して所定の情報を所定の出力形態で出力するように外部出力装置を制御する外部出力制御部と、
所定の走行状態で道路を走行中の自車両が先行車両による交通流阻害状況があるか否かを検知する交通流阻害状況検知部と、
所定の許容基準に従って、前記先行車両による前記交通流阻害状況を許容できるか否かを判断する交通流阻害状況許容判断部と、を備え、
前記外部出力制御部は、
前記交通流阻害状況を許容できると判断される場合に、後続車両に前記自車両の前記走行状態を維持する旨を報知するように前記外部出力装置を制御し、
前記交通流阻害状況を許容できないと判断される場合に、前記先行車両に対して前前記交通流阻害状況がなされている旨を第1出力形態で報知するように前記外部出力装置を制御する、
車両制御装置。
続きを表示(約 1,000 文字)
【請求項2】
前記交通流阻害状況許容判断部は、許容できない前記交通流阻害状況が第1しきい値時間を超えて継続しているか否かを判断し、
前記外部出力制御部は、前記交通流阻害状況が前記第1しきい値時間を超えて継続していると判断される場合に、前記先行車両に対して前記交通流阻害状況がなされている旨を、前記第1出力形態よりも認知され易い第2出力形態で報知するように前記外部出力装置を制御する、
請求項1に記載の車両制御装置。
【請求項3】
前記交通流阻害状況許容判断部は、許容できない前記交通流阻害状況が前記第1しきい値時間よりも長い第2しきい値時間を超えて継続しているか否かを判断し、
前記外部出力制御部は、前記交通流阻害状況が前記第2しきい値時間を超えて継続していると判断される場合に、前記第1出力形態での報知を終了し、前記後続車両に対して前記自車両の前記走行状態を維持する旨を報知するように前記外部出力装置を制御する、
請求項2に記載の車両制御装置。
【請求項4】
前記交通流阻害状況許容判断部は、前記第1しきい値時間及び/又は前記第2しきい値時間を、前記自車両が目的地に到着する予想到着時刻に対する予想遅延時間に基づいて、決定する、
請求項3に記載の車両制御装置。
【請求項5】
前記交通流阻害状況許容判断部は、前記自車両に乗客が乗っているか否かに基づいて、前記先行車両による前記交通流阻害状況を許容するか否かを判断する、
請求項1に記載の車両制御装置。
【請求項6】
自律走行可能な自車両を制御するための車両制御方法であって、
前記自車両の外部に対して所定の情報を所定の出力形態で出力するように外部出力装置を制御することと、
所定の走行状態で道路を走行中の自車両が先行車両による交通流阻害状況があるか否かを検知することと、
所定の許容基準に従って、前記先行車両による前記交通流阻害状況を許容できるか否かを判断することと、を含み、
前記外部出力装置を制御することは、
前記交通流阻害状況を許容できると判断される場合に、後続車両に前記自車両の前記走行状態を維持する旨を報知するように前記外部出力装置を制御することと、
前記交通流阻害状況を許容できないと判断される場合に、前記先行車両に対して前前記交通流阻害状況がなされている旨を第1出力形態で報知するように前記外部出力装置を制御することと、を含む、
車両制御方法。
発明の詳細な説明
【技術分野】
【0001】
本発明は、車両制御装置及び車両制御方法に関する。
続きを表示(約 1,400 文字)
【背景技術】
【0002】
下記特許文献1には、自動運転中に自車両が他車両の走行を妨げている場合や、自車両が交通の流れに乗っていない場合に、運転者にとって違和感のない走行状態とするために、HMI装置に対して報知を行わせる技術が開示されている。
【先行技術文献】
【特許文献】
【0003】
WO2018/186012
【発明の概要】
【発明が解決しようとする課題】
【0004】
上記特許文献1に開示された技術は、自動運転中の車両が他車両の走行を妨げている場合や交通の流れ(交通流)に乗っていない場合に、HMI装置によってドライバーに報知することを前提としているため、ドライバーが乗車していない自動運転型車両には適さなかった。
【0005】
そこで、本発明は、ドライバーが不在の自動運転型(自律走行型)車両であっても、他車両の走行による交通流の阻害に対して自車両の外部に報知して円滑な交通流にするための車両制御技術を提案することを目的としている。
【課題を解決するための手段】
【0006】
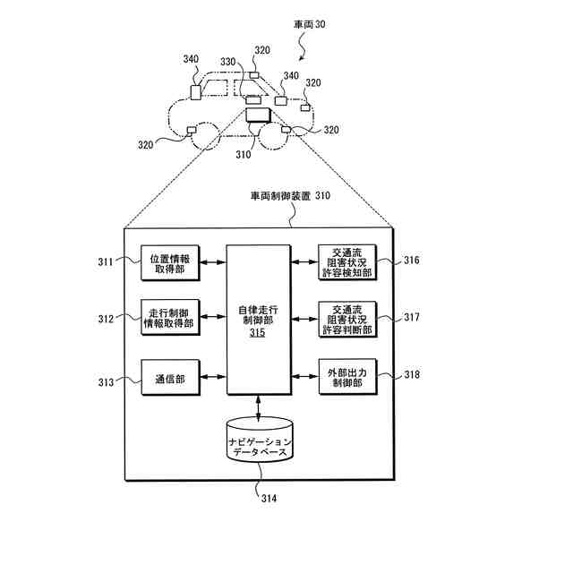
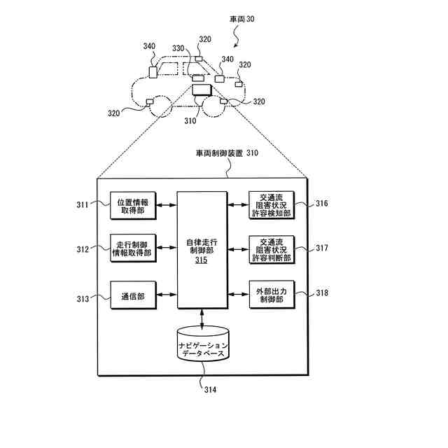
ある観点に従う本発明は、自律走行可能な自車両を制御するための車両制御装置である。前記車両制御装置は、前記自車両の外部に対して所定の情報を所定の出力形態で出力するように外部出力装置を制御する外部出力制御部と、所定の走行状態で道路を走行中の自車両が先行車両による交通流阻害状況があるか否かを検知する交通流阻害状況検知部と、所定の許容基準に従って、前記先行車両による前記交通流阻害状況を許容できるか否かを判断する交通流阻害状況許容判断部と、を備える。前記外部出力制御部は、前記交通流阻害状況を許容できると判断される場合に、後続車両に前記自車両の前記走行状態を維持する旨を報知するように前記外部出力装置を制御する。また、前記外部出力制御部は、前記交通流阻害状況を許容できないと判断される場合に、前記先行車両に対して前前記交通流阻害状況がなされている旨を第1出力形態で報知するように前記外部出力装置を制御する。
【0007】
また、本発明は、配車要求に応答して車両の配車を管理する配車管理装置による配車管理方法並びに該方法を実行するためのコンピュータプログラム及びこれを非一時的に記録した記録媒体としても成立する。
【発明の効果】
【0008】
本発明によれば、ドライバーが不在の自律走行型車両であっても、他車両の走行による交通流の阻害に対して自車両の外部(周囲)に報知して円滑な交通流を実現することができるようになる。
【0009】
本発明の他の技術的特徴、目的、及び作用効果乃至は利点は、添付した図面を参照して説明される以下の実施形態により明らかにされる。本明細書に記載された効果はあくまで例示であって限定されるものではなく、また他の効果があっても良い。
【図面の簡単な説明】
【0010】
図1は、本発明の一実施形態に係る配車管理システムの概略的構成の一例を説明するための図である。
図2は、本発明の一実施形態に係る車両制御装置の機能構成モデルの一例を示すブロックダイアグラム図である。
図3は、本発明の一実施形態に係る車両制御装置による交通流阻害状況に対する処理の一例を示すフローチャートである。
【発明を実施するための形態】
(【0011】以降は省略されています)
この特許をJ-PlatPat(特許庁公式サイト)で参照する
関連特許
日産自動車株式会社
ロータシャフト
7日前
日産自動車株式会社
ロータシャフト
7日前
日産自動車株式会社
車両用排気部構造
12日前
日産自動車株式会社
リチウム二次電池
12日前
日産自動車株式会社
物体検出方法、及び物体検出装置
12日前
日産自動車株式会社
衝突回避方法、及び衝突回避装置
12日前
日産自動車株式会社
車両の発進制御方法、車両の発進制御装置
12日前
日産自動車株式会社
ターボチャージャの潤滑油吸い出し抑制方法および装置
12日前
日産自動車株式会社
固体酸化物形燃料電池セル、固体酸化物形燃料電池セルの製造方法、及び固体酸化物形電解セル
12日前
個人
前輪キャスター
2か月前
個人
上部一体型自動車
1か月前
個人
空間形成装置
20日前
個人
タイヤ脱落防止構造
2か月前
日本精機株式会社
表示装置
3か月前
個人
マスタシリンダ
1か月前
日本精機株式会社
照明装置
15日前
個人
常設収納型サンバイザー
26日前
日本精機株式会社
車室演出装置
2か月前
株式会社豊田自動織機
産業車両
15日前
日本精機株式会社
車載表示装置
28日前
日本精機株式会社
画像投映装置
1か月前
日本精機株式会社
車載表示装置
23日前
日本精機株式会社
車載表示装置
2か月前
株式会社ニフコ
収納装置
2か月前
個人
回転窓ワイパー装置
20日前
株式会社ニフコ
照明装置
3か月前
日本精機株式会社
車載表示装置
21日前
日本精機株式会社
車両用投射装置
1か月前
井関農機株式会社
作業車両
2か月前
日本精機株式会社
車両用表示装置
1か月前
個人
音による速度計とプログラム
26日前
株式会社SUBARU
車両
1か月前
日本精機株式会社
車両用投影装置
2か月前
日本精機株式会社
車両用報知装置
27日前
日本化薬株式会社
ガス発生器
13日前
日本化薬株式会社
ガス発生器
1か月前
続きを見る
他の特許を見る