TOP
|
特許
|
意匠
|
商標
特許ウォッチ
Twitter
他の特許を見る
公開番号
2025159376
公報種別
公開特許公報(A)
公開日
2025-10-21
出願番号
2024061858
出願日
2024-04-08
発明の名称
ギヤ装置のブリーザ構造
出願人
日産自動車株式会社
代理人
個人
,
個人
,
個人
,
個人
主分類
F16H
57/027 20120101AFI20251014BHJP(機械要素または単位;機械または装置の効果的機能を生じ維持するための一般的手段)
要約
【課題】ブリーザ室の内部容積を十分に活用することができるギヤ装置のブリーザ構造を提供する。
【解決手段】本発明に係るギヤ装置(減速機2)のブリーザ構造では、第1開口部341が、ブリーザ室33の上方に開口するかたちで設けられている。このため、第1開口部341がブリーザ室33の側方に開口する横穴により形成された場合と比べて、ブリーザ室33の内部容積を最大限に活用することが可能となり、当該ブリーザ室33の有効容積を拡大することができる。
【選択図】図2
特許請求の範囲
【請求項1】
モータの出力側に接続されるギヤ装置のブリーザ構造であって、
前記モータの軸方向端部に設けられた第1ハウジングと、
前記第1ハウジングと接合され、前記第1ハウジングとの間にギヤ収容部を形成する第2ハウジングと、
前記ギヤ収容部の内部に回転可能に収容され、前記ギヤ収容部に貯留される潤滑油に浸漬されたギヤと、
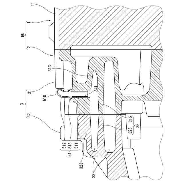
前記ギヤ収容部の上部に設けられ、前記ギヤ収容部の外部に開口して前記ギヤ収容部の内部圧力を調整するブリーザ室と、
前記ブリーザ室の上方に開口する第1開口部と、
を備えたギヤ装置のブリーザ構造。
続きを表示(約 550 文字)
【請求項2】
請求項1に記載のギヤ装置のブリーザ構造であって、
前記第1ハウジングに設けられ、前記第1ハウジングと前記モータとの間に形成される閉空間に開口する第2開口部と、
前記第1開口部と前記第2開口部とを接続する接続管と、
を備えた、ギヤ装置のブリーザ構造。
【請求項3】
請求項2に記載のギヤ装置のブリーザ構造であって、
前記第2開口部は、前記第1開口部よりも下方に位置する、ギヤ装置のブリーザ構造。
【請求項4】
請求項2に記載のギヤ装置のブリーザ構造であって、
前記第1開口部には、筒状に形成された第1プラグが圧入され、
前記第2開口部には、筒状に形成された第2プラグが圧入され、
前記接続管は、弾性変形容易な材料からなるホースにより形成され、一端が前記第1プラグに差し込まれ、他端が前記第2プラグに差し込まれる、ギヤ装置のブリーザ構造。
【請求項5】
請求項1~4のいずれか一項に記載のギヤ装置のブリーザ構造であって、
前記ブリーザ室における前記第1開口部と対向する位置に、前記ギヤの回転により掻き上げられる前記潤滑油を遮蔽可能な遮蔽部を有する、ギヤ装置のブリーザ構造。
発明の詳細な説明
【技術分野】
【0001】
本発明は、ギヤ装置のブリーザ構造に関する。
続きを表示(約 1,500 文字)
【背景技術】
【0002】
従来のギヤ装置のブリーザ構造としては、例えば以下の特許文献1に記載されたものが知られている。
【0003】
概略を説明すれば、このギヤ装置のブリーザ構造は、モータの軸方向端部に設けられる第1ハウジングと、第1ハウジングに接合される第2ハウジングとの間に形成されたギヤ収容部の上部に、当該ギヤ収容部の内部圧力の調整に供するブリーザ室を有している。このブリーザ室は、当該ブリーザ室の側方に開口する貫通孔を介して大気開放されていることで、ギヤ収容部の内部圧力を調整可能となっている。
【先行技術文献】
【特許文献】
【0004】
特開2004-316766号公報
【発明の概要】
【発明が解決しようとする課題】
【0005】
しかしながら、前記従来のギヤ装置のブリーザ構造では、前記貫通孔がブリーザ室の側方に開口している。このため、ブリーザ室に流入した潤滑油が前記貫通孔を介して外部へと漏出してしまうおそれがあった。さらには、前記貫通孔がブリーザ室の側方に開口していることにより、ブリーザ室の内部容積を十分に活用することが困難である点で、なおも改善の余地が残されていた。
【0006】
そこで、本発明は、前記従来のギヤ装置のブリーザ構造の技術的課題に鑑みて案出されたものであって、ブリーザ室の内部容積を十分に活用することができるギヤ装置のブリーザ構造を提供することを目的としている。
【課題を解決するための手段】
【0007】
本発明は、その一態様として、モータの出力側に接続されるギヤ装置のブリーザ構造であって、前記モータの軸方向端部に設けられた第1ハウジングと、前記第1ハウジングと接合され、前記第1ハウジングとの間にギヤ収容部を形成する第2ハウジングと、前記ギヤ収容部の内部に回転可能に収容され、前記ギヤ収容部に貯留される潤滑油に浸漬されたギヤと、前記ギヤ収容部の上部に設けられ、前記ギヤ収容部の外部に開口して前記ギヤ収容部の内部圧力を調整するブリーザ室と、前記ブリーザ室の上方に開口する第1開口部と、を備えている。
【発明の効果】
【0008】
本発明によれば、第1開口部が、ブリーザ室の上方へ開口する縦穴によって形成されている。このため、第1開口部がブリーザ室の側方に開口する横穴によって形成される場合と比べて、ブリーザ室の内部容積を最大限に活用することが可能となり、ブリーザ室の有効容積を拡大することができる。
【図面の簡単な説明】
【0009】
モータの出力側端部に本発明に係るギヤ装置を付設してなる減速機付きモータユニットの斜視図である。
ブリーザ室近傍を拡大表示した第1ハウジングの正面視要部拡大図である。
ブリーザ室近傍を拡大表示した第1ハウジングの背面視要部拡大図である。
図1に示す減速機付きモータユニットを図2のA-A線で切断した第1開口部近傍の拡大断面図である。
図1に示す減速機付きモータユニットを図2のB-B線で切断した第2開口部近傍の拡大断面図である。
【発明を実施するための形態】
【0010】
以下に、本発明に係るギヤ装置のブリーザ構造の実施形態を、図面に基づいて詳述する。なお、下記の実施形態では、本発明に係るギヤ装置を電気自動車の走行駆動源として用いるモータの減速機に適用した例について説明する。
(【0011】以降は省略されています)
この特許をJ-PlatPat(特許庁公式サイト)で参照する
関連特許
日産自動車株式会社
電子機器
2日前
日産自動車株式会社
ロータシャフト
10日前
日産自動車株式会社
エアレスタイヤ構造
2日前
日産自動車株式会社
情報提供方法及び情報提供装置
2日前
個人
留め具
1か月前
個人
鍋虫ねじ
2か月前
個人
ホース保持具
7か月前
個人
回転伝達機構
3か月前
個人
紛体用仕切弁
2か月前
個人
差動歯車用歯形
4か月前
個人
ジョイント
2か月前
個人
給排気装置
1か月前
個人
地震の揺れ回避装置
4か月前
株式会社不二工機
電磁弁
6か月前
個人
ナット
2か月前
個人
ナット
17日前
株式会社不二工機
電磁弁
4か月前
個人
吐出量監視装置
2か月前
個人
ゲート弁バルブ
2日前
カヤバ株式会社
緩衝器
4か月前
柿沼金属精機株式会社
分岐管
3か月前
カヤバ株式会社
ダンパ
5か月前
カヤバ株式会社
ダンパ
5か月前
兼工業株式会社
バルブ
18日前
カヤバ株式会社
緩衝器
1か月前
カヤバ株式会社
緩衝器
4か月前
株式会社ノーリツ
分配弁
6か月前
株式会社奥村組
制振機構
1か月前
株式会社奥村組
制振機構
1か月前
株式会社フジキン
ボールバルブ
5か月前
株式会社三五
ドライブシャフト
1か月前
株式会社不二工機
電動弁
1か月前
株式会社ニフコ
クリップ
1か月前
個人
固着具と固着具の固定方法
6か月前
個人
固着具と固着具の固定方法
6か月前
株式会社ノーリツ
分配弁
6か月前
続きを見る
他の特許を見る