TOP
|
特許
|
意匠
|
商標
特許ウォッチ
Twitter
他の特許を見る
10個以上の画像は省略されています。
公開番号
2025165289
公報種別
公開特許公報(A)
公開日
2025-11-04
出願番号
2024069320
出願日
2024-04-22
発明の名称
燃料蓄圧装置および燃料供給システム
出願人
株式会社SOKEN
,
株式会社デンソー
代理人
個人
,
個人
主分類
F02M
55/02 20060101AFI20251027BHJP(燃焼機関;熱ガスまたは燃焼生成物を利用する機関設備)
要約
【課題】排出系統における気泡に起因する不具合が抑制された燃料蓄圧装置および燃料供給システムを提供する。
【解決手段】燃料供給システム1は、燃料蓄圧装置5を備える。燃料蓄圧装置5は、蓄圧容器21と、圧力制御弁22と、フィルタ23とを有する。燃料は、蓄圧容器21から、フィルタ23を通して圧力制御弁22に到達する。圧力制御弁22が開くと、燃料は、フィルタ23を通って、リターン通路19から燃料タンク12に戻る。抑制手段は、フィルタ23への気泡の到達を抑制する。フィルタ23へ到達する気泡が抑制されることにより、気泡に起因する不具合が抑制される。
【選択図】図1
特許請求の範囲
【請求項1】
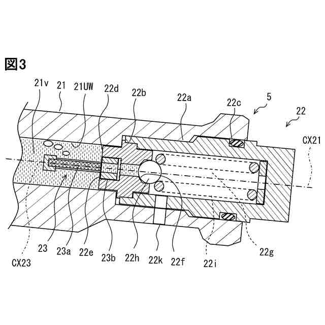
噴射圧力に加圧された燃料が導入される蓄圧室(21v)を区画しており、内燃機関に燃料を供給する複数の噴射装置(18)に流体的に連結されている蓄圧容器(21)と、
前記蓄圧容器に設けられ、前記蓄圧室内の燃料圧力に応答して開弁し、前記蓄圧室から燃料を排出する圧力制御弁(22)と、
前記蓄圧室と前記圧力制御弁との間に設けられ、前記蓄圧室から排出される燃料を濾過する濾過部材(23a)を備えるフィルタ(23、723、823、A23)と、
前記内燃機関の運転期間中において前記濾過部材へ到達する気泡量を抑制する気泡到達抑制手段(21L、224、324、424、562、625S、723、826、926、A26)とを備える燃料蓄圧装置。
続きを表示(約 2,000 文字)
【請求項2】
噴射圧力に加圧された燃料が導入される蓄圧室(21v)を区画しており、内燃機関に燃料を供給する複数の噴射装置(18)に流体的に連結されている蓄圧容器(21)と、
前記蓄圧容器に設けられ、前記蓄圧室内の燃料圧力に応答して開弁し、前記蓄圧室から燃料を排出する圧力制御弁(22)と、
前記蓄圧室と前記圧力制御弁との間に設けられ、前記蓄圧室から排出される燃料を濾過する濾過部材(23a)を備えるフィルタ(23、723、823、A23)と、
前記圧力制御弁と前記フィルタとを、前記蓄圧容器における重力方向の下方に位置付ける下方設置部(21L、224、324、424)とを備える燃料蓄圧装置。
【請求項3】
前記蓄圧容器は、
軸方向に延びており、水平に対して傾斜角(SA21)だけ傾斜している中心軸(CX21)と、
前記傾斜角によって重力方向の下方に位置づけられており、前記下方設置部を提供する前記蓄圧容器の下端(21L)とを有する請求項2に記載の燃料蓄圧装置。
【請求項4】
前記蓄圧容器は、
軸方向に延びる中心軸(CX21)を有する主幹部(21a)と、
前記主幹部から重力方向の下方に向けて延び出しており、前記下方設置部を提供する排出分岐部(224、324、424)とを有する請求項2または請求項3に記載の燃料蓄圧装置。
【請求項5】
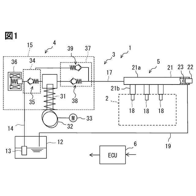
燃料を噴射圧力に加圧する高圧ポンプ(15)と、
噴射圧力に加圧された燃料が導入される蓄圧室を区画しており、内燃機関に燃料を供給する複数の噴射装置(18)に流体的に連結されている蓄圧容器(21)と、
前記蓄圧容器に設けられ、前記蓄圧室内の燃料圧力に応答して開弁し、前記蓄圧室から燃料を排出する圧力制御弁(22)と、
前記蓄圧室と前記圧力制御弁との間に設けられ、前記蓄圧室から排出される燃料を濾過する濾過部材(23a)を備えるフィルタ(23、723、823、A23)と、
前記高圧ポンプを制御する制御装置であって、少なくともひとつのプロセッサを含み、前記蓄圧容器を含む燃料系統に燃料が導入された後、前記内燃機関の運転前に、前記燃料系統から気泡を排出するように前記高圧ポンプを運転する気泡抑制制御(562)を前記プロセッサにより実行する制御装置(6)と、を備える燃料供給システム。
【請求項6】
前記制御装置は、前記気泡抑制制御において、前記内燃機関を始動するための始動回転数より低い低速回転数により前記高圧ポンプを運転する請求項5に記載の燃料供給システム。
【請求項7】
噴射圧力に加圧された燃料が導入される蓄圧室(21v)を区画しており、内燃機関に燃料を供給する複数の噴射装置(18)に流体的に連結されている蓄圧容器(21)と、
前記蓄圧容器に設けられ、前記蓄圧室内の燃料圧力に応答して開弁し、前記蓄圧室から燃料を排出する圧力制御弁(22)と、
前記蓄圧室と前記圧力制御弁との間に設けられ、前記蓄圧室から排出される燃料を濾過する濾過部材(23a)を備えるフィルタ(23、723、823、A23)と、
前記蓄圧容器に設けられており、前記蓄圧室における前記圧力制御弁に向かう燃料の流れの方向に関して前記フィルタより上流における気泡の滞留を抑制する滞留抑制部(21S、625S、723)とを備える燃料蓄圧装置。
【請求項8】
前記蓄圧容器は、前記蓄圧室を区画する上面(21UW)を有し、
前記滞留抑制部は、前記上面から前記濾過部材へ気泡を案内する傾斜面(21S、625S)によって提供されている請求項7に記載の燃料蓄圧装置。
【請求項9】
前記蓄圧容器は、軸方向に延びる中心軸(CX21)を有し、
前記滞留抑制部は、前記中心軸より上に位置付けられた前記フィルタ(723)によって提供されている請求項7または請求項8に記載の燃料蓄圧装置。
【請求項10】
噴射圧力に加圧された燃料が導入される蓄圧室を区画しており、内燃機関に燃料を供給する複数の噴射装置(18)に流体的に連結されている蓄圧容器(21)と、
前記蓄圧容器に設けられ、前記蓄圧室内の燃料圧力に応答して開弁し、前記蓄圧室から燃料を排出する圧力制御弁(22)と、
前記蓄圧室と前記圧力制御弁との間に設けられ、前記蓄圧室から排出される燃料を濾過する濾過部材(23a)を備えるフィルタ(23、723、823、A23)と、
前記蓄圧容器に設けられており、前記濾過部材に気泡が到達する前に気泡を捕捉し、前記内燃機関の運転期間中において前記濾過部材へ到達する気泡量を抑制する気泡捕捉部(826、926、A26)とを備える燃料蓄圧装置。
発明の詳細な説明
【技術分野】
【0001】
この明細書における開示は、エンジンへ燃料を供給する燃料蓄圧装置および燃料供給システムに関する。
続きを表示(約 2,200 文字)
【背景技術】
【0002】
特許文献1、特許文献2、および、特許文献3は、燃料供給装置、および、蓄圧装置における気泡を、気泡の浮力を利用して燃料から分離する技術を開示している。分離された気泡は、燃料とともに、下流方向へ排出される。先行技術文献の記載内容は、この明細書における技術的要素の説明として、参照により援用される。
【先行技術文献】
【特許文献】
【0003】
特開2022-162891号公報
特開2009-36078号公報
特開平11-280594号公報
【発明の概要】
【発明が解決しようとする課題】
【0004】
燃料供給装置は、蓄圧装置から燃料を排出する排出系統を備える場合がある。排出系統には、フィルタが設けられる場合がある。さらに、排出系統には、圧力制御弁が設けられる場合がある。分離された気泡が、排出系統に到達すると不具合を招く場合がある。特に、分離され溜められた大量の気泡が排出系統に到達する場合、不具合が顕著となる。ひとつの不具合は、気泡がフィルタに到達することで、フィルタの圧力損失が増大することである。他のひとつの不具合は、気泡が圧力制御弁に到達することで、圧力制御弁の調圧性能が低下することである。さらに他のひとつの不具合は、フィルタの圧力損失を抑制するようにフィルタメッシュを相対的に大きく設定すると、微細な異物の捕集性能が低下することである。上述の観点において、または言及されていない他の観点において、燃料蓄圧装置および燃料供給システムにはさらなる改良が求められている。
【0005】
開示されるひとつの目的は、排出系統における気泡に起因する不具合が抑制された燃料蓄圧装置および燃料供給システムを提供することである。
【課題を解決するための手段】
【0006】
ここに開示された燃料蓄圧装置は、噴射圧力に加圧された燃料が導入される蓄圧室(21v)を区画しており、内燃機関に燃料を供給する複数の噴射装置(18)に流体的に連結されている蓄圧容器(21)と、蓄圧容器に設けられ、蓄圧室内の燃料圧力に応答して開弁し、蓄圧室から燃料を排出する圧力制御弁(22)と、蓄圧室と圧力制御弁との間に設けられ、蓄圧室から排出される燃料を濾過する濾過部材(23a)を備えるフィルタ(23、723、823、A23)と、内燃機関の運転期間中において濾過部材へ到達する気泡量を抑制する気泡到達抑制手段(21L、224、324、424、562、625S、723、826、926、A26)とを備える。
【0007】
開示される燃料蓄圧装置によると、気泡到達抑制手段は、内燃機関の運転期間中において濾過部材へ到達する気泡量を抑制する。言い換えると、フィルタ、および、圧力制御弁に到達する気泡量が抑制される。よって、内燃機関の運転期間中において濾過部材へ到達する気泡量が抑制される。この結果、フィルタ、および、圧力制御弁に到達する気泡に起因する不具合が抑制される。
【0008】
ここに開示された燃料蓄圧装置は、噴射圧力に加圧された燃料が導入される蓄圧室(21v)を区画しており、内燃機関に燃料を供給する複数の噴射装置(18)に流体的に連結されている蓄圧容器(21)と、蓄圧容器に設けられ、蓄圧室内の燃料圧力に応答して開弁し、蓄圧室から燃料を排出する圧力制御弁(22)と、蓄圧室と圧力制御弁との間に設けられ、蓄圧室から排出される燃料を濾過する濾過部材(23a)を備えるフィルタ(23、723、823、A23)と、圧力制御弁とフィルタとを、蓄圧容器における重力方向の下方に位置付ける下方設置部(21L、224、324、424)とを備える。
【0009】
開示される燃料蓄圧装置によると、下方設置部は、圧力制御弁とフィルタとを、圧力容器における重力方向の下方に位置付ける。この結果、気泡は自らの浮力により上昇し、重力方向の下方に位置付けられた濾過部材から遠ざけられる。よって、内燃機関の運転期間中において濾過部材へ到達する気泡量が抑制される。この結果、フィルタ、および、圧力制御弁に到達する気泡に起因する不具合が抑制される。
【0010】
ここに開示された燃料供給システムは、燃料を噴射圧力に加圧する高圧ポンプ(15)と、噴射圧力に加圧された燃料が導入される蓄圧室を区画しており、内燃機関に燃料を供給する複数の噴射装置(18)に流体的に連結されている蓄圧容器(21)と、蓄圧容器に設けられ、蓄圧室内の燃料圧力に応答して開弁し、蓄圧室から燃料を排出する圧力制御弁(22)と、蓄圧室と圧力制御弁との間に設けられ、蓄圧室から排出される燃料を濾過する濾過部材(23a)を備えるフィルタ(23、723、823、A23)と、高圧ポンプを制御する制御装置であって、少なくともひとつのプロセッサを含み、蓄圧容器を含む燃料系統に燃料が導入された後、内燃機関の運転前に、燃料系統から気泡を排出するように高圧ポンプを運転する気泡抑制制御(562)をプロセッサにより実行する制御装置(6)と、を備える。
(【0011】以降は省略されています)
この特許をJ-PlatPat(特許庁公式サイト)で参照する
関連特許
株式会社SOKEN
画像処理装置
7日前
株式会社SOKEN
生体情報検出装置
7日前
株式会社SOKEN
実設備仮想化装置
28日前
株式会社SOKEN
車両用通信システム
7日前
個人
擬似オイル発電装置
21日前
個人
バンケル型内燃機関の改良
1か月前
個人
ガバナー
8日前
スズキ株式会社
車両の制御装置
1か月前
スズキ株式会社
車両の制御装置
1か月前
ダイハツ工業株式会社
発電装置
16日前
本田技研工業株式会社
車両
1か月前
本田技研工業株式会社
車両
1か月前
トヨタ自動車株式会社
電磁弁
1か月前
株式会社クボタ
作業車
1か月前
株式会社クボタ
作業車両
1か月前
本田技研工業株式会社
内燃機関
1か月前
株式会社ミクニ
二次空気供給システム
1日前
トヨタ自動車株式会社
車両制御装置
1か月前
本田技研工業株式会社
始動制御装置
1か月前
本田技研工業株式会社
始動制御装置
1か月前
トヨタ自動車株式会社
制御装置
15日前
トヨタ自動車株式会社
燃料噴射制御装置
9日前
トヨタ自動車株式会社
エンジン制御装置
1か月前
トヨタ自動車株式会社
電磁弁の制御装置
1か月前
国立大学法人 名古屋工業大学
小型化無振動機構機器
7日前
トヨタ自動車株式会社
V型8気筒エンジン
1か月前
大阪瓦斯株式会社
エンジンシステム
1か月前
本田技研工業株式会社
可変ファンネル装置
1か月前
川崎重工業株式会社
ガスタービンエンジン
1か月前
Astemo株式会社
内燃機関の制御装置
15日前
トヨタ自動車株式会社
内燃機関の制御装置
15日前
日産自動車株式会社
吸気装置
9日前
トヨタ自動車株式会社
内燃機関の制御装置
28日前
トヨタ自動車株式会社
フレックス燃料車両
28日前
ダイハツ工業株式会社
副燃焼室付きエンジン
7日前
富士電機株式会社
駆動回路
1か月前
続きを見る
他の特許を見る