TOP
|
特許
|
意匠
|
商標
特許ウォッチ
Twitter
他の特許を見る
10個以上の画像は省略されています。
公開番号
2025161461
公報種別
公開特許公報(A)
公開日
2025-10-24
出願番号
2024064659
出願日
2024-04-12
発明の名称
燃料噴射装置
出願人
株式会社ジャパンエンジンコーポレーション
代理人
弁理士法人酒井国際特許事務所
主分類
F02M
63/00 20060101AFI20251017BHJP(燃焼機関;熱ガスまたは燃焼生成物を利用する機関設備)
要約
【課題】多元燃料機関の運転を止めることなく、燃料噴射弁のノズルに付着物が生じることを抑制し得ること。
【解決手段】多元燃料機関の燃焼室へ化石燃料を噴射する化石燃料噴射弁と、前記燃焼室へ代替燃料を噴射する代替燃料噴射弁と、上記各燃料噴射弁のうち前記多元燃料機関の運転時に燃料噴射を休止している休止弁へ洗浄ガスを注入する洗浄ガス注入部と、前記休止弁に前記洗浄ガスを噴射させるための作動流体を上記各燃料噴射弁へ注入する作動流体注入部と、前記洗浄ガスの噴射タイミングを制御する制御部とを備える。上記各燃料噴射弁は、前記ノズルの噴口を開閉する針弁と、前記作動流体を利用して前記針弁の開弁圧を調整する開弁圧調整部とを備える。前記制御部は、前記多元燃料機関の筒内圧が前記洗浄ガスのガス圧未満であるか否かを判断し、ガス圧未満の場合、前記休止弁の開弁圧をガス圧未満に低下させて前記休止弁に前記洗浄ガスを噴射させる。
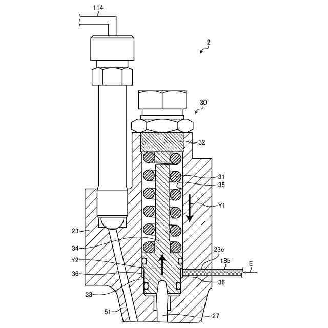
【選択図】図1
特許請求の範囲
【請求項1】
化石燃料および代替燃料の少なくとも一つを使用して運転し得る多元燃料機関の燃焼室へ前記化石燃料を噴射する化石燃料噴射弁と、
前記多元燃料機関の前記燃焼室へ前記代替燃料を噴射する代替燃料噴射弁と、
前記化石燃料噴射弁および前記代替燃料噴射弁のうち、前記多元燃料機関の運転時に燃料噴射を休止している休止状態の燃料噴射弁に対し、前記休止状態の燃料噴射弁のノズルを洗浄する洗浄ガスを注入する洗浄ガス注入部と、
前記休止状態の燃料噴射弁に前記ノズルの噴口から前記洗浄ガスを噴射させるための作動流体を、前記化石燃料噴射弁および前記代替燃料噴射弁の各々へ注入する作動流体注入部と、
前記ノズルの噴口からの前記洗浄ガスの噴射タイミングを制御する制御部と、
を備え、
前記化石燃料噴射弁および前記代替燃料噴射弁の各々は、前記ノズルと、前記ノズルの噴口を開閉する針弁と、前記作動流体を利用して前記針弁の開弁圧を調整する開弁圧調整部と、を備え、
前記制御部は、前記多元燃料機関の筒内圧が前記洗浄ガスの圧力未満であるか否かを判断し、前記筒内圧が前記洗浄ガスの圧力未満であるタイミングに、前記休止状態の燃料噴射弁の前記開弁圧が前記洗浄ガスの圧力未満に低下するよう前記開弁圧調整部を作動させて、前記休止状態の燃料噴射弁に前記ノズルの噴口から前記洗浄ガスを噴射させる、
ことを特徴とする燃料噴射装置。
続きを表示(約 1,500 文字)
【請求項2】
前記制御部は、前記多元燃料機関の運転モードをもとに、前記休止状態の燃料噴射弁が前記代替燃料噴射弁であるか否かを判断し、前記代替燃料噴射弁が休止状態である場合、前記筒内圧が前記洗浄ガスの圧力未満であるタイミングに、休止状態の前記代替燃料噴射弁に前記ノズルの噴口から前記洗浄ガスを噴射させる、
ことを特徴とする請求項1に記載の燃料噴射装置。
【請求項3】
前記制御部は、前記多元燃料機関の運転モードをもとに、前記休止状態の燃料噴射弁が前記化石燃料噴射弁であるか否かを判断し、前記化石燃料噴射弁が休止状態である場合、前記筒内圧が前記洗浄ガスの圧力未満であるタイミングに、休止状態の前記化石燃料噴射弁に前記ノズルの噴口から前記洗浄ガスを噴射させる、
ことを特徴とする請求項1に記載の燃料噴射装置。
【請求項4】
前記制御部は、前記筒内圧が前記洗浄ガスの圧力未満であるタイミングに、前記休止状態の燃料噴射弁の前記開弁圧が前記筒内圧よりも高く前記洗浄ガスの圧力未満の範囲内の圧力になるよう前記開弁圧調整部を作動させる、
ことを特徴とする請求項1に記載の燃料噴射装置。
【請求項5】
前記制御部は、前記多元燃料機関のシリンダ内をピストンが1往復運動する1サイクル期間毎に、前記筒内圧が前記洗浄ガスの圧力未満であるか否かを判断する、
ことを特徴とする請求項1~4のいずれか一つに記載の燃料噴射装置。
【請求項6】
前記開弁圧調整部は、
前記ノズルの噴口を閉じる方向に前記針弁を付勢する付勢ばねと、
前記作動流体の圧力を利用して前記付勢ばねに作用する作用部と、
を備え、
前記針弁の開弁圧は、前記付勢ばねの付勢力により、前記洗浄ガスの圧力に比して大きい圧力に設定され、
前記作用部は、前記作動流体の圧力によって前記付勢力に抗する方向の力を前記付勢ばねに与えることにより、前記針弁の開弁圧を前記洗浄ガスの圧力未満に低下させる、
ことを特徴とする請求項1に記載の燃料噴射装置。
【請求項7】
前記開弁圧調整部は、
前記ノズルの噴口を閉じる方向に前記針弁を付勢する付勢ばねと、
前記作動流体の圧力を利用して前記付勢ばねの付勢力を強化する作用部と、
を備え、
前記針弁の開弁圧は、前記作用部が強化した前記付勢ばねの付勢力によって設定され、
前記作用部は、前記付勢ばねの付勢力の強化を解除することにより、前記針弁の開弁圧を前記洗浄ガスの圧力未満に低下させる、
ことを特徴とする請求項1に記載の燃料噴射装置。
【請求項8】
前記多元燃料機関のクランク角度を検出するクランク角度検出部をさらに備え、
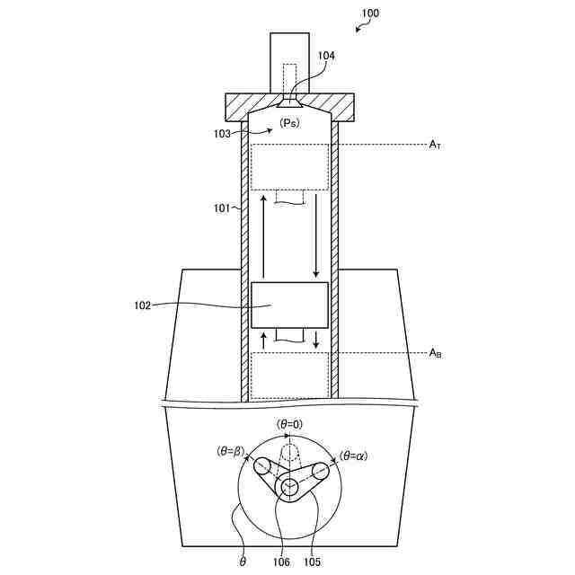
前記制御部は、検出された前記クランク角度をもとに、前記筒内圧を導出する、
ことを特徴とする請求項1~4のいずれか一つに記載の燃料噴射装置。
【請求項9】
前記多元燃料機関の排気弁動作を検出する排気弁動作検出部をさらに備え、
前記制御部は、検出された前記排気弁動作をもとに、前記筒内圧を導出する、
ことを特徴とする請求項1~4のいずれか一つに記載の燃料噴射装置。
【請求項10】
前記筒内圧を検出する筒内圧検出部をさらに備え、
前記制御部は、検出された前記筒内圧が前記洗浄ガスの圧力未満であるか否かを判断する、
ことを特徴とする請求項1~4のいずれか一つに記載の燃料噴射装置。
発明の詳細な説明
【技術分野】
【0001】
本発明は、燃料噴射装置に関するものである。
続きを表示(約 2,500 文字)
【背景技術】
【0002】
従来、船舶等に搭載される内燃機関には、燃焼室へ燃料を噴射するための燃料噴射弁が設けられている。一般に、燃料噴射弁は、燃料ポンプから圧送された燃料を内燃機関の燃焼室へ噴射するためのノズルと、ノズルの噴口に通じる燃料通路と、ノズルの噴口を開閉する針弁と、針弁の開弁圧を調整する開弁圧調整部とを備えている。開弁圧調整部は、ばね力によって針弁をノズルのシート部へ押圧し、これにより、当該針弁の開弁圧を、狙いとする燃料噴射用の圧力(以下、燃料噴射圧という)になるよう調整する。燃料噴射弁においては、燃料通路内の燃料の圧力が燃料ポンプの加圧作用によって針弁の開弁圧を上回った際、針弁が当該燃料の圧力によってノズルのシート部から離間して噴口を開放し、当該噴口から燃焼室へ燃料が噴射される。
【0003】
また、船舶の分野においては、近年、内燃機関から排出される二酸化炭素の排出量を削減するために、従来燃料として採用されている重油等の化石燃料と、当該化石燃料を代替する代替燃料とを燃焼(混焼)させて運転し得るタイプの内燃機関、所謂、多元燃料機関が開発されつつある。ここでいう代替燃料とは、例えばアンモニア、メタノールまたは液化石油ガス(LPG)等、化石燃料に比べて燃焼時における二酸化炭素の排出量が少ない燃料である。
【0004】
このような多元燃料機関においては、化石燃料および代替燃料を各々噴射する複数の燃料噴射弁が1つのシリンダに設けられている。これら複数の燃料噴射弁の各々は、化石燃料と代替燃料との混焼運転または化石燃料の専焼運転等の多元燃料機関の運転モードに応じて、必要な燃料を燃焼室へ噴射する。そして、多元燃料機関の運転モードによっては、これら複数の燃料噴射弁のうちいずれかが燃料の噴射を休止する場合がある。例えば、特許文献1には、1つのシリンダに設けられた複数の燃料噴射弁のうち少なくとも1つによる燃料の噴射を、内燃機関の運転モードに応じて休止させる方法および装置が開示されている。
【先行技術文献】
【特許文献】
【0005】
特開2004-190646号公報
【発明の概要】
【発明が解決しようとする課題】
【0006】
上述したように1つのシリンダに複数の燃料噴射弁が設けられている場合、これら複数の燃料噴射弁の各ノズルは、多元燃料機関の運転期間中、燃焼室内の燃料燃焼による高温環境に曝されることとなる。特に、燃料の噴射を休止している燃料噴射弁においては、ノズルの内部に噴射前の燃料が滞留しているため、この滞留した状態の燃料が過度に高温化することにより、ノズルの噴口にスラッジが生じるおそれがあり、また、ノズルの内部通路にコーキングが生じるおそれがある。このようにノズルに生じたスラッジやコーキング等の付着物は、燃料噴射弁による燃料の適正な噴射を阻害する原因となり得る。したがって、当該付着物をノズルから除去する必要があるが、このためには、多元燃料機関の運転を停止し、燃料噴射弁をシリンダから取り外してメンテナンスしなければならない。
【0007】
本発明は、上記の事情に鑑みてなされたものであって、多元燃料機関の運転を止めることなく、燃料噴射弁のノズルに付着物が生じることを抑制し得る燃料噴射装置を提供することを目的とする。
【課題を解決するための手段】
【0008】
上述した課題を解決し、目的を達成するために、本発明に係る燃料噴射装置は、化石燃料および代替燃料の少なくとも一つを使用して運転し得る多元燃料機関の燃焼室へ前記化石燃料を噴射する化石燃料噴射弁と、前記多元燃料機関の前記燃焼室へ前記代替燃料を噴射する代替燃料噴射弁と、前記化石燃料噴射弁および前記代替燃料噴射弁のうち、前記多元燃料機関の運転時に燃料噴射を休止している休止状態の燃料噴射弁に対し、前記休止状態の燃料噴射弁のノズルを洗浄する洗浄ガスを注入する洗浄ガス注入部と、前記休止状態の燃料噴射弁に前記ノズルの噴口から前記洗浄ガスを噴射させるための作動流体を、前記化石燃料噴射弁および前記代替燃料噴射弁の各々へ注入する作動流体注入部と、前記ノズルの噴口からの前記洗浄ガスの噴射タイミングを制御する制御部と、を備え、前記化石燃料噴射弁および前記代替燃料噴射弁の各々は、前記ノズルと、前記ノズルの噴口を開閉する針弁と、前記作動流体を利用して前記針弁の開弁圧を調整する開弁圧調整部と、を備え、前記制御部は、前記多元燃料機関の筒内圧が前記洗浄ガスの圧力未満であるか否かを判断し、前記筒内圧が前記洗浄ガスの圧力未満であるタイミングに、前記休止状態の燃料噴射弁の前記開弁圧が前記洗浄ガスの圧力未満に低下するよう前記開弁圧調整部を作動させて、前記休止状態の燃料噴射弁に前記ノズルの噴口から前記洗浄ガスを噴射させる、ことを特徴とする。
【0009】
また、本発明に係る燃料噴射装置は、上記の発明において、前記制御部は、前記多元燃料機関の運転モードをもとに、前記休止状態の燃料噴射弁が前記代替燃料噴射弁であるか否かを判断し、前記代替燃料噴射弁が休止状態である場合、前記筒内圧が前記洗浄ガスの圧力未満であるタイミングに、休止状態の前記代替燃料噴射弁に前記ノズルの噴口から前記洗浄ガスを噴射させる、ことを特徴とする。
【0010】
また、本発明に係る燃料噴射装置は、上記の発明において、前記制御部は、前記多元燃料機関の運転モードをもとに、前記休止状態の燃料噴射弁が前記化石燃料噴射弁であるか否かを判断し、前記化石燃料噴射弁が休止状態である場合、前記筒内圧が前記洗浄ガスの圧力未満であるタイミングに、休止状態の前記化石燃料噴射弁に前記ノズルの噴口から前記洗浄ガスを噴射させる、ことを特徴とする。
(【0011】以降は省略されています)
この特許をJ-PlatPat(特許庁公式サイト)で参照する
関連特許
個人
バンケル型内燃機関の改良
15日前
スズキ株式会社
車両の制御装置
12日前
スズキ株式会社
車両の制御装置
5日前
本田技研工業株式会社
車両
19日前
本田技研工業株式会社
車両
19日前
トヨタ自動車株式会社
電磁弁
15日前
株式会社クボタ
作業車
5日前
本田技研工業株式会社
内燃機関
19日前
株式会社クボタ
作業車両
5日前
株式会社クボタ
作業車両
20日前
本田技研工業株式会社
内燃機関
20日前
トヨタ自動車株式会社
車両制御装置
5日前
本田技研工業株式会社
始動制御装置
19日前
本田技研工業株式会社
始動制御装置
19日前
トヨタ自動車株式会社
電磁弁の制御装置
15日前
トヨタ自動車株式会社
エンジン制御装置
26日前
トヨタ自動車株式会社
エンジン制御装置
今日
大阪瓦斯株式会社
エンジンシステム
19日前
トヨタ自動車株式会社
V型8気筒エンジン
15日前
本田技研工業株式会社
可変ファンネル装置
19日前
本田技研工業株式会社
内燃機関の吸気構造
20日前
株式会社デンソートリム
エンジン制御装置
26日前
川崎重工業株式会社
ガスタービンエンジン
1日前
マツダ株式会社
エンジン
20日前
トヨタ自動車株式会社
内燃機関の燃料供給装置
26日前
三菱重工業株式会社
燃焼筒の取付方法
5日前
株式会社SUBARU
車両
15日前
三菱重工業株式会社
動力装置
8日前
本田技研工業株式会社
内燃機関の制御装置
20日前
本田技研工業株式会社
内燃機関の制御装置
20日前
三菱重工業株式会社
ガスタービン起動方法
1日前
愛三工業株式会社
燃料供給装置
20日前
三菱重工業株式会社
ガスタービン制御方法
12日前
マツダ株式会社
エンジンの制御装置
20日前
個人
タービン入口温度を下げて推力を増すターボファン・エンジン
14日前
三菱自動車工業株式会社
内燃機関
20日前
続きを見る
他の特許を見る