TOP
|
特許
|
意匠
|
商標
特許ウォッチ
Twitter
他の特許を見る
10個以上の画像は省略されています。
公開番号
2025162330
公報種別
公開特許公報(A)
公開日
2025-10-27
出願番号
2024065556
出願日
2024-04-15
発明の名称
空気清浄モジュール
出願人
株式会社ROKI
代理人
弁理士法人インテクト国際特許事務所
,
個人
主分類
F02M
35/024 20060101AFI20251020BHJP(燃焼機関;熱ガスまたは燃焼生成物を利用する機関設備)
要約
【課題】流入口の配置に制約がある場合であっても、多くの吸気をろ過部に流し、異物の捕捉効率を向上させることができる空気清浄モジュールを提供する。
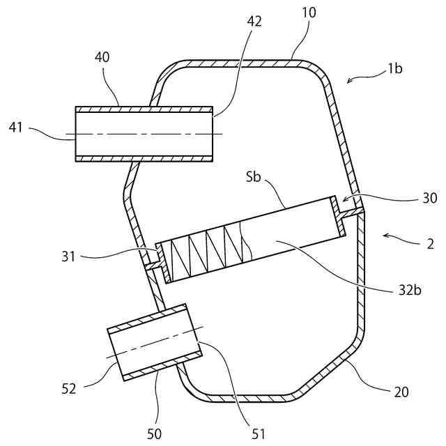
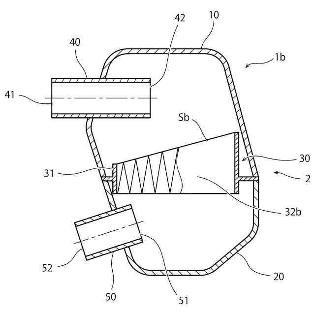
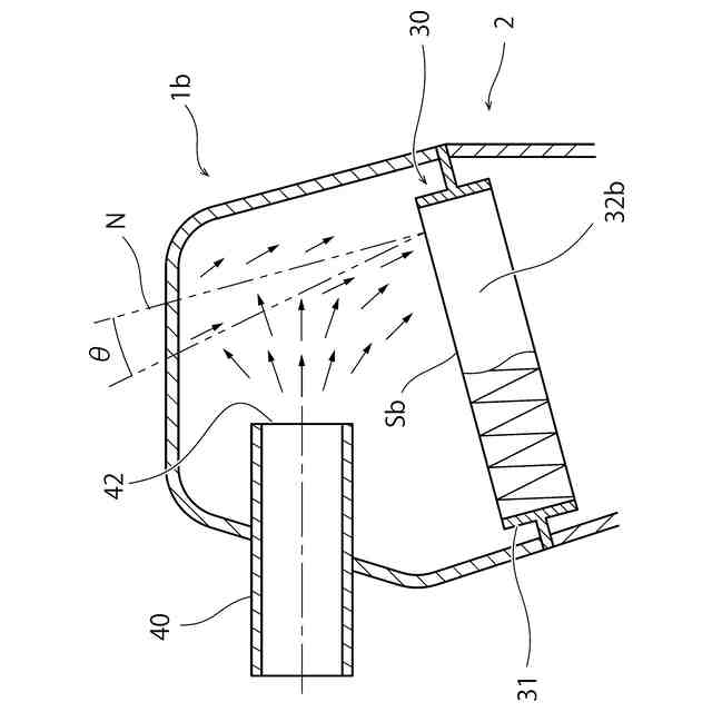
【解決手段】内部が中空に形成され、気体の流入口と排出口とを有するハウジングと、前記流入口側のダーティサイドと前記排出口側のクリーンサイドの間に配置されたフィルタエレメントを備える空気清浄モジュールにおいて、前記フィルタエレメントは、前記ダーティサイド側の表面が湾曲に形成されるろ過部を備え、前記流入口の端面から延びる垂線と、前記ろ過部の前記ダーティサイド側の表面または仮想延長面とが交差する。
【選択図】図1
特許請求の範囲
【請求項1】
内部が中空に形成され、気体の流入口と排出口とを有するハウジングと、前記流入口側のダーティサイドと前記排出口側のクリーンサイドの間に配置されたフィルタエレメントを備える空気清浄モジュールにおいて、
前記フィルタエレメントは、前記ダーティサイド側の表面が湾曲に形成されるろ過部を備え、
前記流入口の端面から延びる垂線と、前記ろ過部の前記ダーティサイド側の表面または仮想延長面とが交差することを特徴とする空気清浄モジュール。
続きを表示(約 1,100 文字)
【請求項2】
請求項1に記載の空気清浄モジュールにおいて、
前記ろ過部は、前記ダーティサイド側の表面が凹形状の湾曲となることを特徴とする空気清浄モジュール。
【請求項3】
請求項1に記載の空気清浄モジュールにおいて、
前記流入口の端面から延びる垂線と、前記ろ過部の前記ダーティサイド側の表面または前記仮想延長面とが交差する内角が90°未満となることを特徴とする空気清浄モジュール。
【請求項4】
請求項1に記載の空気清浄モジュールにおいて、
前記ろ過部は、前記クリーンサイド側の表面が平坦な状態で前記ダーティサイド側の表面が凹形状の湾曲となるように、ひだ状に折り込まれたシート状の濾材からなることを特徴とする空気清浄モジュール。
【請求項5】
請求項1に記載の空気清浄モジュールにおいて、
前記ハウジングの内面には、前記流入口から流入する気体を前記ろ過部に向けて案内するガイド面が形成されることを特徴とする空気清浄モジュール。
【請求項6】
請求項1に記載の空気清浄モジュールにおいて、
前記流入口は、外方に拡径したファンネル形状に形成されることを特徴とする空気清浄モジュール。
【請求項7】
請求項1に記載の空気清浄モジュールにおいて、
前記流入口から流入する気体の流れ方向は、前記排出口へ向かう気体の流れ方向と逆向きになることを特徴とする空気清浄モジュール。
【請求項8】
内部が中空に形成され、気体の流入口と排出口とを有するハウジングと、前記流入口側のダーティサイドと前記排出口側のクリーンサイドの間に配置されたフィルタエレメントを備える空気清浄モジュールにおいて、
前記フィルタエレメントは、ろ過部を備え、
前記流入口の端面から延びる垂線と、前記ろ過部の前記ダーティサイド側の仮想延長面とが交差し、
前記流入口から流入する気体の流れ方向は、前記排出口へ向かう気体の流れ方向と逆向きになることを特徴とする空気清浄モジュール。
【請求項9】
請求項8に記載の空気清浄モジュールにおいて、
前記流入口の端面から延びる垂線と、前記仮想延長面とが交差する内角が90°未満となることを特徴とする空気清浄モジュール。
【請求項10】
請求項8に記載の空気清浄モジュールにおいて、
前記ろ過部は、前記クリーンサイド側の表面が平坦であって、前記ダーティサイド側の表面が前記クリーンサイド側の表面に対して傾斜するように、ひだ状に折り込まれたシート状の濾材からなることを特徴とする空気清浄モジュール。
発明の詳細な説明
【技術分野】
【0001】
本発明は、空気清浄モジュールに関するものである。
続きを表示(約 1,300 文字)
【背景技術】
【0002】
一般に、空気清浄モジュールは、空気中に浮遊する塵埃等を除去し、空気を清浄化する目的で使用されるものであって、例えば、内燃機関やカーエアコン、空気清浄機等に用いられる。
【0003】
従来の空気清浄モジュールは、種々の構造が知られているが、例えば、箱状のハウジング内部に平面状のフィルタエレメントを備え、フィルタエレメントを通過する前の吸気が流れる部屋であるダーティサイドと、フィルタエレメントを通過してろ過された後の吸気が流れる部屋であるクリーンサイドが設けられ、フィルタエレメントによって、ダーティサイドとクリーンサイドとを区画する空気清浄モジュールが知られている。特許文献1には、空気清浄モジュールの一例として、自動二輪車の変速機用のエアクリーナについての構造が記載されている。
【先行技術文献】
【特許文献】
【0004】
実用新案登録第3156418号公報
【発明の概要】
【発明が解決しようとする課題】
【0005】
特許文献1に記載されたエアクリーナは、ケース内に外気を導入する吸入口と、前記ケースにおいて、前記吸入口の反対側に設けられた排出口と、前記ケース内を、前記吸入口から外気が流れ込む吸入側空気室と、前記排出口から空気を排出する排気側空気室とに区画するフィルタと、を備え、前記フィルタは、前記吸入口側から前記排出口側に延びるよう配置され、前記吸入側空気室の壁であって前記フィルタに向き合う壁部は、前記吸入口から前記吸入側空気室の奥に向かうに従って、前記フィルタとの距離が小さくなるよう設けられ、前記排気側空気室の壁であって前記フィルタに向き合う壁部は、前記排出口に近づくに従って、前記フィルタとの距離が大きくなるよう設けられる。
【0006】
このように特許文献1に示すエアクリーナの構造は、吸入口から外気が流れ込む方向に対して斜めにフィルタを配置することで、ケースの大きさを変えることなくフィルタ面積を大きくすることができる。
【0007】
ところで、近年では、自動車や自動二輪車等においては、低燃費化などを考慮して、構成部品の小型軽量化やレイアウトの最適化についての要望が高まっている。
【0008】
例えば、空気清浄モジュールのレイアウトにおいては、外気を空気清浄モジュール内部に取り込む流入ダクトと、ろ過した気体を内燃機関等の機器に供給する排出ダクトを同一方向に向けて配置したい場合がある。
【0009】
しかしながら、特許文献1に示すようなエアクリーナの発明は、流入ダクトと排出ダクトとを異なる方向に向けて配置する構成についての発明であり、上記のような要望には適用することが困難であった。
【0010】
また、空気清浄モジュールのレイアウトによっては、空気清浄モジュール周辺に配置される他の部品との関係により、ハウジングの形状や、流入ダクトの位置や角度等に制約が生じ、流入ダクトとフィルタエレメントのろ過部とを近接して配置せざるを得ない場合もある。
(【0011】以降は省略されています)
この特許をJ-PlatPat(特許庁公式サイト)で参照する
関連特許
株式会社ROKI
空気清浄モジュール
27日前
個人
バンケル型内燃機関の改良
1か月前
個人
擬似オイル発電装置
9日前
スズキ株式会社
車両の制御装置
1か月前
スズキ株式会社
車両の制御装置
1か月前
ダイハツ工業株式会社
発電装置
4日前
株式会社クボタ
作業車
1か月前
株式会社クボタ
作業車両
1か月前
トヨタ自動車株式会社
車両制御装置
1か月前
トヨタ自動車株式会社
制御装置
3日前
トヨタ自動車株式会社
エンジン制御装置
25日前
トヨタ自動車株式会社
内燃機関の制御装置
16日前
トヨタ自動車株式会社
内燃機関の制御装置
3日前
川崎重工業株式会社
ガスタービンエンジン
26日前
Astemo株式会社
内燃機関の制御装置
3日前
トヨタ自動車株式会社
フレックス燃料車両
16日前
三菱重工業株式会社
燃焼筒の取付方法
1か月前
富士電機株式会社
駆動回路
24日前
トヨタ自動車株式会社
水素エンジンの制御装置
24日前
スズキ株式会社
多気筒エンジンの制御装置
18日前
三菱重工業株式会社
動力装置
1か月前
株式会社豊田自動織機
内燃機関
3日前
三菱重工業株式会社
ガスタービン制御方法
1か月前
三菱重工業株式会社
ガスタービン起動方法
26日前
株式会社デンソー
部品の当接構造
1か月前
個人
タービン入口温度を下げて推力を増すターボファン・エンジン
1か月前
スズキ株式会社
内燃機関の吸気装置
3日前
株式会社豊田自動織機
ターボチャージャ
24日前
トヨタ自動車株式会社
エンジンシステム
1か月前
株式会社豊田自動織機
車両制御装置
1か月前
株式会社豊田自動織機
ターボチャージャ
11日前
トヨタ自動車株式会社
車両駆動装置
11日前
三菱重工マリンマシナリ株式会社
過給システム
1か月前
トヨタ自動車株式会社
内燃機関を備えた車両の制御装置
1か月前
カワサキモータース株式会社
エンジン
1か月前
カワサキモータース株式会社
エンジン
1か月前
続きを見る
他の特許を見る