TOP
|
特許
|
意匠
|
商標
特許ウォッチ
Twitter
他の特許を見る
10個以上の画像は省略されています。
公開番号
2025159900
公報種別
公開特許公報(A)
公開日
2025-10-22
出願番号
2024062749
出願日
2024-04-09
発明の名称
部品の当接構造
出願人
株式会社デンソー
代理人
個人
,
個人
,
個人
,
個人
,
個人
主分類
F02M
61/16 20060101AFI20251015BHJP(燃焼機関;熱ガスまたは燃焼生成物を利用する機関設備)
要約
【課題】固体潤滑機能の低下を抑制し、当接面の保護を図る。
【解決手段】燃料噴射弁10は、水素ガスを通過させる燃料通路12、及び燃料通路12の水素ガスを噴射する噴射孔14aを有するハウジング11と、噴射孔を開閉する弁体40とを備える。弁体40は、燃料噴射弁10の軸方向先端部に先端弁部41を有し、先端弁部41は、ハウジング11において噴射孔14aを囲むように設けられた弁座15と当接する。弁座15には、少なくとも一部が水素終端化された潤滑膜が形成され、先端弁部41のうち、先端弁部41と弁座15との当接面である対座部45には、水素を水素ラジカルに解離する機能を有する触媒部が設けられている。
【選択図】 図1
特許請求の範囲
【請求項1】
水素の存在下において互いに当接する当接面を各々有する第1部材及び第2部材を備え、前記第1部材及び前記第2部材のうち少なくとも一方が可動部となっており、
前記第1部材の当接面は、少なくとも一部が水素終端化された潤滑膜が設けられた第1当接面として構成され、
前記第2部材の当接面は、水素を水素ラジカルに解離する機能を有する触媒部が設けられた第2当接面として構成されている、
部品の当接構造。
続きを表示(約 990 文字)
【請求項2】
前記第1部材と前記第2部材とのうち少なくとも第2部材は、発熱源からの受熱により加熱される部材である、請求項1に記載の部品の当接構造。
【請求項3】
前記第2当接面は、凹凸形状を有している、請求項1に記載の部品の当接構造。
【請求項4】
水素含有ガスを噴射する水素噴射弁(10)に適用され、
前記水素噴射弁は、
水素含有ガスを通過させるガス通路(12)、及び前記ガス通路内の水素含有ガスを噴射する噴射孔(14a)を有する本体部(11)と、
前記噴射孔を開閉する弁体(40)と、を有し、
前記弁体は、前記水素噴射弁の軸方向先端部に先端弁部(41)を有し、
前記先端弁部は、前記本体部において前記噴射孔を囲むように設けられた弁座(15)と当接し、
前記弁座が前記第1当接面であり、
前記先端弁部のうち、前記弁座に対向し、かつ当該弁座に当接する対向面(45)が前記第2当接面である、請求項1に記載の部品の当接構造。
【請求項5】
前記弁体において、前記触媒部が、前記対向面に加えて前記ガス通路における水素ガスの流れ方向において前記先端弁部の上流側に設けられている、請求項4に記載の部品の当接構造。
【請求項6】
前記水素噴射弁は、
前記弁体又は前記弁体と共に動作する動作部(30)が前記本体部に対して摺動可能となっており、
前記弁体又は前記動作部と前記本体部との各々の摺動面のうち一方が前記第1当接面であり、他方が前記第2当接面である、請求項4又は5に記載の部品の当接構造。
【請求項7】
前記先端弁部に設けられた前記触媒部は、第1触媒部(47)であり、
前記摺動面に設けられた前記触媒部は、第2触媒部(19)であり、
前記第1触媒部の厚みは、前記第2触媒部の厚みよりも厚い、請求項6に記載の部品の当接構造。
【請求項8】
前記先端弁部に設けられた前記触媒部は、第1触媒部(47)であり、
前記摺動面に設けられた前記触媒部は、第2触媒部(19)であり、
前記第1触媒部は、金属酸化物により構成され、前記第2触媒部は、貴金属により構成される、請求項6に記載の部品の当接構造。
発明の詳細な説明
【技術分野】
【0001】
この明細書における開示は、部品の当接構造に関する。
続きを表示(約 2,000 文字)
【背景技術】
【0002】
互いに当接する2つの部材を当接させる部品の当接構造として、2つの部材の当接面に固体潤滑剤が形成される構成が知られており、例えば特許文献1には、固体潤滑剤としてダイヤモンドライクカーボン(以下、DLC)を用いる構成が記載されている。この特許文献1には、互いに当接する2つの部材のうち、一方の部材の当接面にはDLCが形成され、他方の部材であるシリコン基板の当接面は水素終端化されている構成が開示されている。また、特許文献1には、シリコン基板の表面が水素終端化されることにより、DLCとシリコン基材との間の摩擦係数が、シリコン基板の表面が水素終端化されていない場合よりも減少することが開示されている。
【先行技術文献】
【特許文献】
【0003】
特開2003-301840号公報
【発明の概要】
【発明が解決しようとする課題】
【0004】
互いに当接する2つの部材の当接面において、当接面に固体潤滑機能を付与することにより部材の摩耗が抑制される。しかしながら、固体潤滑機能が付与された当接面にダングリングボンドが露出することにより、一方の当接面のダングリングボンドと他方の当接面のダングリングボンドとが結合し、2つの当接面の間の摩擦力が増加することが懸念される。
【0005】
本開示は、上記事情に鑑みてなされたものであり、互いに当接する2つの部材を当接させる部品において、固体潤滑機能の低下を抑制し、当接面の保護を図ることができる当接構造を提供することを目的とする。
【課題を解決するための手段】
【0006】
本開示は、
水素の存在下において互いに当接する当接面を各々有する第1部材及び第2部材を備え、前記第1部材及び前記第2部材のうち少なくとも一方が可動部となっており、
前記第1部材の当接面は、少なくとも一部が水素終端化された潤滑膜が設けられた第1当接面として構成され、
前記第2部材の当接面は、水素を水素ラジカルに解離する機能を有する触媒部が設けられた第2当接面として構成されているものとしている。
【0007】
水素環境下において、上記構成の当接構造が用いられる場合、当接に伴い、第1当接面において初期水素終端化された潤滑膜にダングリングボンドが露出し得る。この場合であっても、この当接構造が設けられた環境中の水素と第2当接面の触媒部とが反応して触媒部の触媒機能により水素ラジカルが生成され、その水素ラジカルが潤滑膜のダングリングボンドと結合する。すなわち、環境中の水素により潤滑膜に水素が供給され続けるため、水素終端化が再生される。これにより、潤滑膜の固体潤滑機能を維持することができる。その結果、当接面の保護を図ることができる。
【図面の簡単な説明】
【0008】
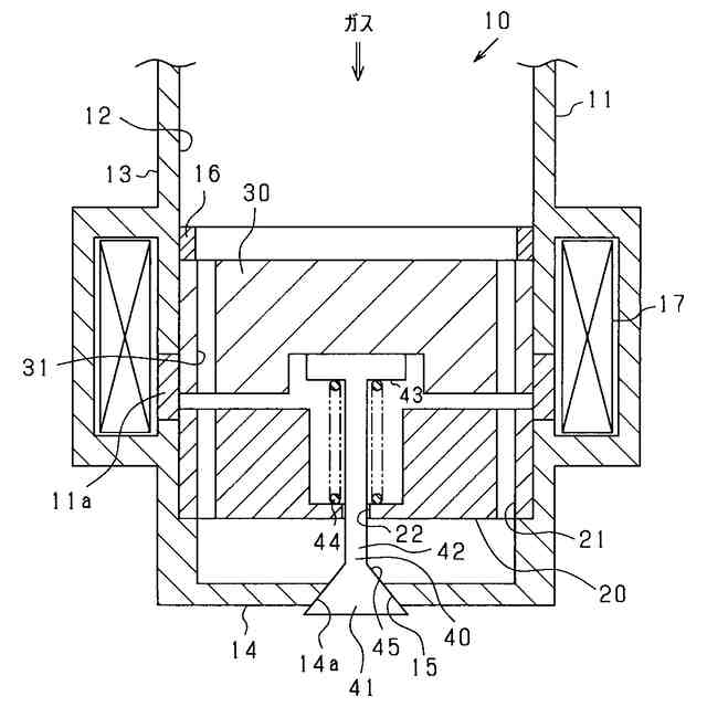
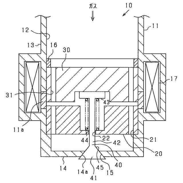
燃料噴射弁の縦断面図。
弁体と噴射孔との関係を示す説明図。
2つの部材の当接時における当接面の状態を説明するための図。
触媒部と水素との反応を説明するための図。
燃料噴射弁の開弁時及び閉弁時における化学反応を説明するための図。
潤滑膜及び触媒部の位置を示す燃料噴射弁の縦断面図。
摺動部における当接面の状態を説明するための図。
他の実施形態における弁体の縦断面図。
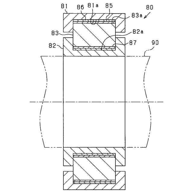
他の実施形態におけるベアリングの縦断面図。
【発明を実施するための形態】
【0009】
以下に、本開示に係る部品の当接構造を具体化した一実施形態について、図面を参照しつつ説明する。本実施形態の当接構造は、部品として水素噴射弁に適用されるものとなっている。水素噴射弁は、水素ガスを使用する直噴式ガスエンジン(内燃機関)に適用されるものとなっており、水素噴射弁によりガスエンジンの燃焼室内に水素ガスが直接噴射される。水素ガスは、例えば水素ボンベに貯留された液化水素を減圧により気化させて生成されるガスであり、水素含有ガスに相当する。ガスエンジンは、例えば車載エンジンである。本実施形態において水素噴射弁としての燃料噴射弁を備える燃料噴射システムは、数MPa程度の圧縮状態の水素ガスが燃料噴射弁から燃焼室内に噴射される、いわゆる低圧直噴システムとなっている。
【0010】
図1を用いて、燃料噴射弁10の構成を説明する。図1には、燃料噴射弁10の要部について縦断面構造が示されている。以下の説明では、燃料噴射弁10の中央の軸線の延びる方向(すなわち図1の上下方向)を軸方向、軸線から放射状に延びる方向を径方向、軸線を中心として円周状に延びる方向を周方向としている。図1において上側が燃料噴射弁10の基端側(上流側)であり、下側が先端側(下流側)である。
(【0011】以降は省略されています)
この特許をJ-PlatPat(特許庁公式サイト)で参照する
関連特許
株式会社デンソー
ロータ
5日前
株式会社デンソー
ロータ
5日前
株式会社デンソー
分離体
18日前
株式会社デンソー
端子台
12日前
株式会社デンソー
電動機
10日前
株式会社デンソー
電動弁
1か月前
株式会社デンソー
熱交換器
1か月前
株式会社デンソー
電子装置
1か月前
株式会社デンソー
電子装置
10日前
株式会社デンソー
光学部材
10日前
株式会社デンソー
光学部材
18日前
株式会社デンソー
摺動機構
1か月前
株式会社デンソー
撮像装置
1か月前
株式会社デンソー
撮像装置
1か月前
株式会社デンソー
電気回路
26日前
株式会社デンソー
整流回路
3日前
株式会社デンソー
光学部材
18日前
株式会社デンソー
摺動機構
1か月前
株式会社デンソー
トランス
10日前
株式会社デンソー
制御装置
1か月前
株式会社デンソー
回転電機
3日前
株式会社デンソー
電解装置
1か月前
株式会社デンソー
半導体装置
1か月前
株式会社デンソー
音低減装置
3日前
株式会社デンソー
センサ装置
1か月前
株式会社デンソー
ヒータ装置
1か月前
株式会社デンソー
半導体装置
1か月前
株式会社デンソー
センサ装置
1か月前
株式会社デンソー
電磁継電器
10日前
株式会社デンソー
半導体装置
1か月前
株式会社デンソー
半導体装置
18日前
株式会社デンソー
熱交換部材
1か月前
株式会社デンソートリム
鞍乗り車両
1か月前
株式会社デンソーエレクトロニクス
電磁継電器
4日前
株式会社デンソー
レーダ装置
4日前
株式会社デンソー
電気化学セル
1か月前
続きを見る
他の特許を見る