TOP
|
特許
|
意匠
|
商標
特許ウォッチ
Twitter
他の特許を見る
公開番号
2025156946
公報種別
公開特許公報(A)
公開日
2025-10-15
出願番号
2024059726
出願日
2024-04-02
発明の名称
内燃機関を備えた車両の制御装置
出願人
トヨタ自動車株式会社
代理人
個人
,
個人
主分類
F02D
45/00 20060101AFI20251007BHJP(燃焼機関;熱ガスまたは燃焼生成物を利用する機関設備)
要約
【課題】燃料によるオイルの希釈を効果的に抑制もしくは低減する。
【解決手段】燃料の混入によって希釈されるオイルにより潤滑される内燃機関を駆動力源として搭載している車両を制御する、内燃機関を備えた車両の制御装置16であって、車両の走行予定を求める走行推定部16Aと、走行推定部16Aで求められた走行予定に従って車両が走行した場合のオイルの燃料による希釈量を求める希釈量推定部16Bと、希釈量推定部16Bによって求められた希釈量に基づいて、希釈量を低下させる希釈低下制御の実行および禁止を含む希釈低下制御の選択を行う制御選択部16Cとを備えている。
【選択図】図2
特許請求の範囲
【請求項1】
燃料の混入によって希釈されるオイルにより潤滑される内燃機関を駆動力源として搭載している車両を制御する、内燃機関を備えた車両の制御装置であって、
前記車両の走行予定を求める走行推定部と、
前記走行推定部で求められた走行予定に従って前記車両が走行した場合の前記オイルの前記燃料による希釈量を求める希釈量推定部と、
前記希釈量推定部によって求められた前記希釈量に基づいて、前記希釈量を低下させる希釈低下制御の実行および禁止を含む前記希釈低下制御の選択を行う制御選択部と
を備えていることを特徴とする内燃機関を備えた車両の制御装置。
発明の詳細な説明
【技術分野】
【0001】
本発明は、車両の駆動力源として内燃機関を備えた車両を制御する装置に関し、特に燃料によるオイルの希釈を低減もしくは抑制する制御を行う装置に関するものである。
続きを表示(約 2,500 文字)
【背景技術】
【0002】
空気と燃料との混合気を、シリンダの内部で加圧圧縮した状態で燃焼させることにより、動力を出力するガソリンエンジンなどの内燃機関では、燃料がエンジンオイルに混入してエンジンオイルを希釈することや、希釈量が増大して不都合が生じることは、従来知られている。また、エンジンオイルの燃料による希釈を回避もしくは抑制し、あるいは希釈量を低減させる技術が、従来、種々提案されている。
【0003】
その一例として、特許文献1には、内燃機関と合わせて電動機を駆動力源として備えたハイブリッド車において、内燃機関の暖機の際の燃料によるオイルの希釈を抑制し、同時に暖機を早期に完了させることを目的とした制御装置が記載されている。その制御装置は、内燃機関の暖機中のように希釈量が多い状態で、内燃機関の温度が低ければ、内燃機関の負荷を小さくして、オイルの希釈の進行を抑制し、また内燃機関の温度が高ければ、内燃機関の負荷を大きくして暖機を促進するように構成されている。また、特許文献1に記載の制御装置では、内燃機関の負荷の低下に伴う駆動力の低下を電動機の出力を増大させて補い、また内燃機関の負荷の増大に伴って増大する出力の一部を電力に変換して充電することにより、エネルギ効率の低下を補っている。
【先行技術文献】
【特許文献】
【0004】
特開2022-94992号公報
【発明の概要】
【発明が解決しようとする課題】
【0005】
特許文献1に記載されている制御装置では、推定された現在の希釈量に基づいて、エンジンの負荷を増大もしくは低減させ、併せて充放電を制御している。したがって、エンジンの温度が低い場合には、エンジンの負荷を低下させる、すなわち吸気量および燃料噴射量を減少させるから、燃焼せずにオイルに混入する燃料の量すなわち希釈量を抑制できる。また、エンジンの温度が高い場合には、燃料が蒸発してオイルを希釈しにくいので、エンジン負荷を増大して、暖機を促進している。しかしながら、エンジンもしくはオイルの温度は、車両の走行もしくは運転の状態に応じて変化していくので、特許文献1の制御装置では、不必要にエンジンの負荷を増減し、あるいは充放電を行ってしまい、その結果、燃費もしくは電費が悪化する場合がある。また、反対にそのような制御の頻度が高くなって、過渡的に希釈量が増大してしまう可能性がある。例えば、所定の負荷で継続して走行することになっている状態での初期に希釈量が多くなった場合、その後の走行でエンジン温度あるいはエンジンオイル温度が高くなって希釈量が少なくなる可能性が高いが、特許文献1の制御装置では、推定されている現在の希釈量および温度に基づいて暖機を促進するようにエンジンを運転するので、不必要にエンジンの運転を行うことになり、燃費が悪化する可能性がある。また、エンジン温度が低いことによりエンジン負荷を低下させて走行している場合に、走行環境が要因で低速での走行を強いられたり、停止を繰り返す走行環境のためにエンジンの間欠運転を強いられたりすると、エンジン温度が高くならないので、オイルの希釈量を改善することができず、あるいは時間の経過によって希釈量が増大してしまう可能性がある。
【0006】
本発明は上記の技術的課題に着目してなされたものであって、内燃機関を潤滑するオイルの燃料による希釈を効果的に抑制もしくは低減することのできる車両の制御装置を提供することを目的とするものである。
【課題を解決するための手段】
【0007】
本発明は、上記の目的を達成するために、燃料の混入によって希釈されるオイルにより潤滑される内燃機関を駆動力源として搭載している車両を制御する、内燃機関を備えた車両の制御装置であって、前記車両の走行予定を求める走行推定部と、前記走行推定部で求められた走行予定に従って前記車両が走行した場合の前記オイルの前記燃料による希釈量を求める希釈量推定部と、前記希釈量推定部によって求められた前記希釈量に基づいて、前記希釈量を低下させる希釈低下制御の実行および禁止を含む前記希釈低下制御の選択を行う制御選択部とを備えていることを特徴とするものである。
【発明の効果】
【0008】
本発明においては、現在時点以降の走行予定およびその走行予定に従って走行した場合の希釈量を推定し、その推定に基づいて、希釈低下制御を選択する。例えば内燃機関を低負荷で運転して走行することが推定される場合には、推定された走行とは異なる走行すなわち内燃機関の負荷を大きくしたり、機械損失もしくは冷却損失を大きくしたりして内燃機関の温度の上昇を促進する。あるいはオイルをヒータなどで加熱してその温度を高くする。その結果、オイルの希釈量が増大することを効果的に回避もしくは抑制できる。また反対に現時点で希釈量が多くても、登坂路など内燃機関の負荷が大きい走行が予定されている場合には、内燃機関の温度が走行に伴って上昇し、希釈量が低下するので、希釈低下制御を禁止し、あるいは低レベルの希釈低下制御を選択する。その結果、希釈低下制御で消費するエネルギを削減でき、もしくは無くすることができるので、燃費あるいはエネルギ効率を向上させることができる。
【図面の簡単な説明】
【0009】
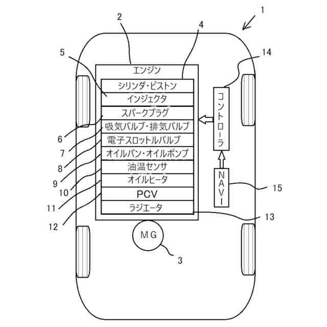
本発明で対象とする車両の構成部材をリストとして記載したブロック図である。
その制御装置の機能的構成を示すブロック図である。
その制御装置で実行される制御の一例を説明するためのフローチャートである。
【発明を実施するための形態】
【0010】
つぎに、本発明の実施の形態を添付の図面を参照して説明する。なお、以下に説明する実施形態は本発明を実施した場合の一例に過ぎないのであって、本発明を限定するものではない。
(【0011】以降は省略されています)
この特許をJ-PlatPat(特許庁公式サイト)で参照する
関連特許
トヨタ自動車株式会社
車体
1か月前
トヨタ自動車株式会社
方法
1か月前
トヨタ自動車株式会社
電池
18日前
トヨタ自動車株式会社
治具
1か月前
トヨタ自動車株式会社
車両
1か月前
トヨタ自動車株式会社
車両
1か月前
トヨタ自動車株式会社
方法
1か月前
トヨタ自動車株式会社
方法
1か月前
トヨタ自動車株式会社
椅子
1か月前
トヨタ自動車株式会社
方法
3日前
トヨタ自動車株式会社
車両
1か月前
トヨタ自動車株式会社
車両
1か月前
トヨタ自動車株式会社
車両
4日前
トヨタ自動車株式会社
電池
1か月前
トヨタ自動車株式会社
方法
1か月前
トヨタ自動車株式会社
方法
1か月前
トヨタ自動車株式会社
車両
1か月前
トヨタ自動車株式会社
車両
1か月前
トヨタ自動車株式会社
車両
1か月前
トヨタ自動車株式会社
車両
1か月前
トヨタ自動車株式会社
電池
1か月前
トヨタ自動車株式会社
車両
1か月前
トヨタ自動車株式会社
車両
1か月前
トヨタ自動車株式会社
車両
18日前
トヨタ自動車株式会社
電池
1か月前
トヨタ自動車株式会社
車両
1か月前
トヨタ自動車株式会社
車両
19日前
トヨタ自動車株式会社
方法
1か月前
トヨタ自動車株式会社
方法
1か月前
トヨタ自動車株式会社
電池
10日前
トヨタ自動車株式会社
車両
1か月前
トヨタ自動車株式会社
配管
19日前
トヨタ自動車株式会社
車両
2か月前
トヨタ自動車株式会社
車体
1か月前
トヨタ自動車株式会社
電池
10日前
トヨタ自動車株式会社
電池
24日前
続きを見る
他の特許を見る