TOP
|
特許
|
意匠
|
商標
特許ウォッチ
Twitter
他の特許を見る
公開番号
2025159427
公報種別
公開特許公報(A)
公開日
2025-10-21
出願番号
2024061958
出願日
2024-04-08
発明の名称
エンジン
出願人
カワサキモータース株式会社
代理人
個人
,
個人
,
個人
,
個人
,
個人
主分類
F02B
77/00 20060101AFI20251014BHJP(燃焼機関;熱ガスまたは燃焼生成物を利用する機関設備)
要約
【課題】大形化を抑制できるエンジンを提供する。
【解決手段】本開示のエンジンEは、ピストン3の往復運動を回転運動に変えるクランクシャフト2と、クランシャフト2から動力が伝達される軸体30と、軸体30を軸方向外側から覆うカバー体28とを備えている。クランクシャフト2の軸方向の一端部に軸体30の他端部がクランクシャフト2と相対回転自在に支持され、軸体30の軸方向の一端部がカバー体28に回転自在に支持されている。
【選択図】図4
特許請求の範囲
【請求項1】
ピストンの往復運動を回転運動に変えるクランクシャフトと、
前記クランシャフトから動力が伝達されるとともに、前記クランクシャフトの軸方向の一端部に、前記クランクシャフトと相対回転自在に支持された軸体と、
前記軸体を軸方向外側から覆って、前記軸体の軸方向の一端部を回転自在に支持するカバー体と、
を備えたエンジン。
続きを表示(約 1,000 文字)
【請求項2】
請求項1に記載のエンジンにおいて、前記軸体は、前記クランクシャフトに同軸に配置される回転体を介して前記クランクシャフトから動力が伝達されるエンジン。
【請求項3】
請求項2に記載のエンジンにおいて、前記回転体は、前記クランクシャフトの捩り振動を抑制するダンパ構造体であるエンジン。
【請求項4】
請求項1または2に記載のエンジンにおいて、前記クランクシャフトの軸方向の一端部に軸方向に凹んだ凹部が形成され、前記軸体の軸方向の他端部に前記凹部に圧入される凸部が形成され、
前記クランクシャフトの凹部に、軸受が圧入されているエンジン。
【請求項5】
請求項1または2に記載のエンジンにおいて、さらに、前記軸体に設けられて、前記軸体のスラスト方向の荷重を受けるスラスト移動抑制部材を備えたエンジン。
【請求項6】
請求項1または2に記載のエンジンにおいて、さらに、前記クランクシャフトの回転を伝達する伝達機構を備え、
前記軸体が前記伝達機構の入力軸を構成し、
前記伝達機構の入力軸と出力軸が、歯筋が軸に対して斜めになっている傾斜歯車で連結されているエンジン。
【請求項7】
請求項1または2に記載のエンジンにおいて、さらに、前記クランクシャフトの回転を伝達する伝達機構を備え、
前記軸体が前記伝達機構の入力軸を構成し、
前記伝達機構の出力軸に、軸方向に付勢されたばね部材が設けられているエンジン。
【請求項8】
請求項1または2に記載のエンジンにおいて、さらに、前記クランクシャフトの回転を伝達する伝達機構を備え、
前記軸体が前記伝達機構の入力軸を構成し、
前記伝達機構の出力軸の両端が、前記カバー体とクランクケースに支持されているエンジン。
【請求項9】
請求項8に記載のエンジンにおいて、前記伝達機構の出力軸における前記カバー体で支持される部分の外径が、前記クランクケースで支持される部分の外径よりも大きいエンジン。
【請求項10】
請求項8に記載のエンジンにおいて、前記カバー体は、被支持部分でエンジン本体に支持され、
前記カバー体に、前記カバー体における前記伝達機構の出力軸を支持する部分と前記被支持部分とを繋ぐ補強リブが形成されているエンジン。
(【請求項11】以降は省略されています)
発明の詳細な説明
【技術分野】
【0001】
本開示は、ピストンの往復運動を回転運動に変えるクランクシャフトを備えたエンジンに関するものである。
続きを表示(約 1,300 文字)
【背景技術】
【0002】
ピストンの往復運動を回転運動に変えるクランクシャフトを備えたエンジンにおいて、クランクシャフトの軸方向の一端部に、カップリングを介してクランクシャフトと相対回転自在に支持された軸体が連結されたものがある(例えば、特許文献1)。特許文献1に開示のエンジンでは、軸体は、クランクケースに隣接する別ケースに回転支持されている。
【先行技術文献】
【特許文献】
【0003】
特開平3-204395号公報
【発明の概要】
【発明が解決しようとする課題】
【0004】
このようなエンジンは、クランクシャフトに対して軸体を軸方向に隣接して配置するために、軸方向に大形化してしまう。
【0005】
本出願の開示は、大形化を抑制できるエンジンを提供する。
【課題を解決するための手段】
【0006】
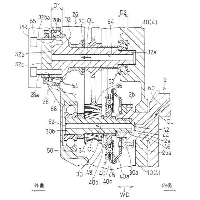
本開示の一形態に係るエンジンは、ピストンの往復運動を回転運動に変えるクランクシャフトと、前記クランクシャフトの軸方向の一端部に、前記クランクシャフトと相対回転自在に支持された軸体と、前記軸体を軸方向外側から覆って前記軸体の軸方向の一端部を回転自在に支持するカバー体とを備えている。軸体の軸方向の他端部は、前記クランシャフトで支持され、前記クランシャフトから動力が伝達される。
【発明の効果】
【0007】
本開示のエンジンによれば、軸体の他端部がクランクシャフトで支持されるので、クランクケースで支持される場合に比べて、クランクケースが軸方向に大形化するのを抑制できる。
【図面の簡単な説明】
【0008】
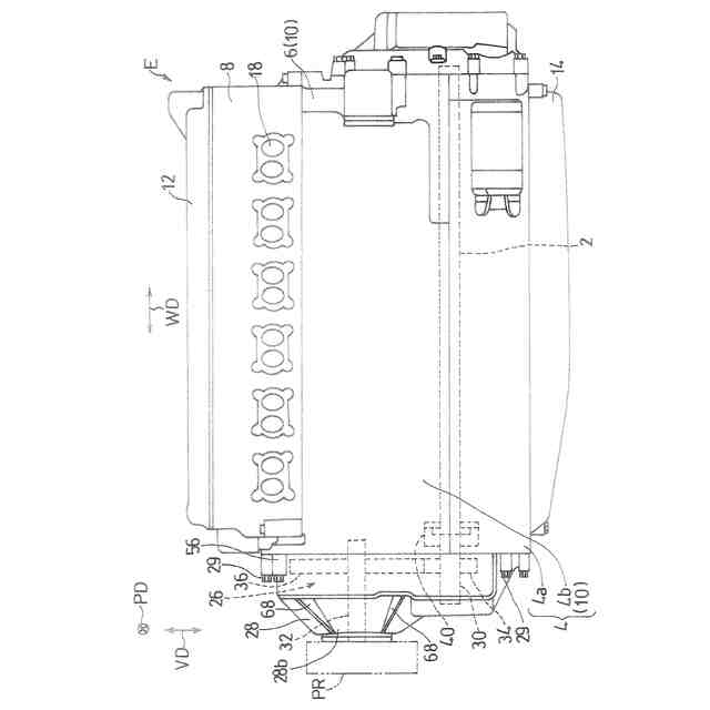
本開示の第1実施形態に係るエンジンを示す側面図である。
同エンジンを示す正面図である。
同エンジンを図1とは反対側から見た側面図である。
同エンジンの減速機構を示す断面図である。
【発明を実施するための形態】
【0009】
以下、本開示の好ましい実施形態について図1~4を参照しながら説明する。本実施形態のエンジンEは、レシプロエンジンである。本実施形態のエンジンEは、例えば、胴体の先端にプロペラが配置される飛行機に用いられる。この場合、胴体内にエンジンEが収容されて、エンジン動力がプロペラPrに伝達される。エンジンEの用途は、これに限定されず、例えば、翼にプロペラが配置される飛行機や、プロペラを備える船舶の駆動源としても適用可能である。本実施形態のエンジンEは、そのほか、二輪車や四輪車などの車両の駆動源としても適用可能である。
【0010】
以下の説明において、「幅方向WD」とは、エンジンEのクランクシャフト2の延びる方向をいう。すなわち、「クランクシャフトの軸心方向」が幅方向WDに一致する。幅方向WDにおいて、幅方向中心に向かう方向を「幅方向内」といい、幅方向中心から離れる方向を「幅方向外」という。「往復方向VD」とは、エンジンEのピストンの往復動方向をいう。「幅方向WD」と「往復方向VD」の両方に直交する方向を「直交方向PD」という。
(【0011】以降は省略されています)
この特許をJ-PlatPat(特許庁公式サイト)で参照する
関連特許
個人
バンケル型内燃機関の改良
1か月前
個人
擬似オイル発電装置
7日前
スズキ株式会社
車両の制御装置
28日前
スズキ株式会社
車両の制御装置
1か月前
ダイハツ工業株式会社
発電装置
2日前
本田技研工業株式会社
車両
1か月前
本田技研工業株式会社
車両
1か月前
株式会社クボタ
作業車
28日前
トヨタ自動車株式会社
電磁弁
1か月前
株式会社クボタ
作業車両
28日前
本田技研工業株式会社
内燃機関
1か月前
トヨタ自動車株式会社
車両制御装置
28日前
本田技研工業株式会社
始動制御装置
1か月前
本田技研工業株式会社
始動制御装置
1か月前
トヨタ自動車株式会社
制御装置
1日前
トヨタ自動車株式会社
エンジン制御装置
23日前
トヨタ自動車株式会社
電磁弁の制御装置
1か月前
トヨタ自動車株式会社
内燃機関の制御装置
14日前
トヨタ自動車株式会社
V型8気筒エンジン
1か月前
Astemo株式会社
内燃機関の制御装置
1日前
川崎重工業株式会社
ガスタービンエンジン
24日前
トヨタ自動車株式会社
内燃機関の制御装置
1日前
大阪瓦斯株式会社
エンジンシステム
1か月前
本田技研工業株式会社
可変ファンネル装置
1か月前
トヨタ自動車株式会社
フレックス燃料車両
14日前
三菱重工業株式会社
燃焼筒の取付方法
28日前
株式会社SUBARU
車両
1か月前
富士電機株式会社
駆動回路
22日前
トヨタ自動車株式会社
水素エンジンの制御装置
22日前
本田技研工業株式会社
内燃機関の制御装置
1か月前
三菱重工業株式会社
動力装置
1か月前
スズキ株式会社
多気筒エンジンの制御装置
16日前
株式会社豊田自動織機
内燃機関
1日前
三菱重工業株式会社
ガスタービン制御方法
1か月前
マツダ株式会社
エンジンの制御装置
1か月前
三菱重工業株式会社
ガスタービン起動方法
24日前
続きを見る
他の特許を見る