TOP
|
特許
|
意匠
|
商標
特許ウォッチ
Twitter
他の特許を見る
公開番号
2025162309
公報種別
公開特許公報(A)
公開日
2025-10-27
出願番号
2024065519
出願日
2024-04-15
発明の名称
電動ファンおよび電動垂直離着陸機
出願人
三菱重工業株式会社
代理人
弁理士法人酒井国際特許事務所
主分類
F04D
29/54 20060101AFI20251020BHJP(液体用容積形機械;液体または圧縮性流体用ポンプ)
要約
【課題】電動ファンおよび電動垂直離着陸機において、モータの冷却性能の向上を図る。
【解決手段】軸方向の一端部に出力軸を有して軸方向の他端部に冷却空気取込口が設けられて径方向の外周部に冷却空気排出口が設けられる駆動モータと、出力軸に装着される動翼と、駆動モータの他端部に支持部材を介して連結されて駆動モータの径方向に沿って配置される中空形状をなすストラットと、ストラットの内部と前記空気取込口とを連通する連通部と、を備える。
【選択図】図1
特許請求の範囲
【請求項1】
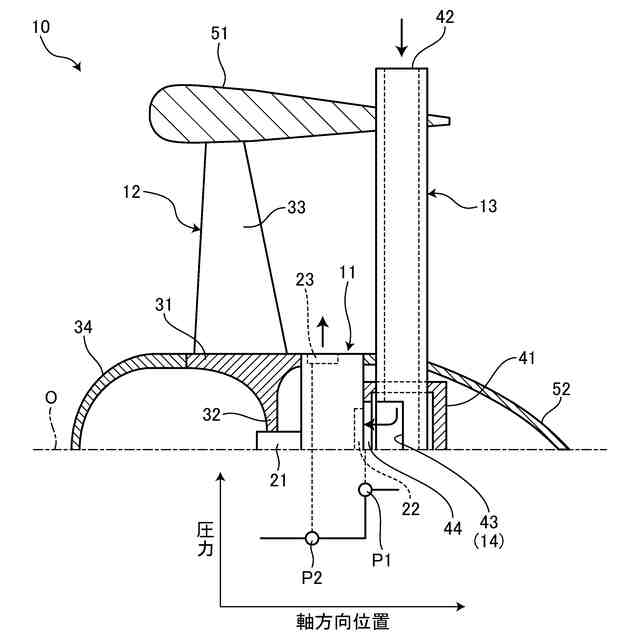
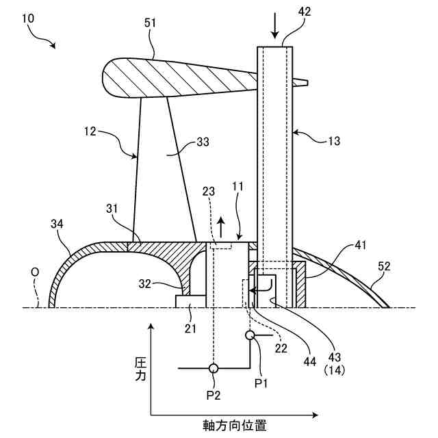
軸方向の一端部に出力軸を有して軸方向の他端部に冷却空気取込口が設けられて径方向の外周部に冷却空気排出口が設けられる駆動モータと、
前記出力軸に装着される動翼と、
前記駆動モータの他端部に支持部材を介して連結されて前記駆動モータの径方向に沿って配置される中空形状をなすストラットと、
前記ストラットの内部と前記冷却空気取込口とを連通する連通部と、
を備える電動ファン。
続きを表示(約 340 文字)
【請求項2】
前記ストラットは、前記冷却空気取込口に対向する位置に前記連通部としての連通開口部が設けられる、
請求項1に記載の電動ファン。
【請求項3】
前記ストラットは、長手方向の端部に空気吸入口が設けられる、
請求項2に記載の電動ファン。
【請求項4】
前記冷却空気取込口および前記連通開口部を外側から覆うダクトが設けられる、
請求項2または請求項3に記載の電動ファン。
【請求項5】
前記動翼の先端部と前記ストラットの他端部を支持するリング形状をなす外部ダクトが設けられる、
請求項1に記載の電動ファン。
【請求項6】
請求項1に記載の電動ファンを備える電動垂直離着陸機。
発明の詳細な説明
【技術分野】
【0001】
本開示は、電動ファンおよび電動垂直離着陸機に関するものである。
続きを表示(約 1,500 文字)
【背景技術】
【0002】
近年、空飛ぶクルマの一つとして、垂直方向に離着陸することができる電動垂直離着陸機の開発が進められている。電動垂直離着陸機は、例えば、機体に複数の電動ファンを備え、機体に対して電動ファンの角度を調整可能としているものがある。すなわち、電動垂直離着陸機の離着陸時には、電動ファンを上下方向に向け、航行時には、電動ファンを前後方向に向けるものもある。電動垂直離着陸機の電動ファンとしては、外周部に駆動部が配置される外周駆動ファンが適用されている。このような電動垂直離着陸機の電動ファンとしては、例えば、下記特許文献1に記載されたものがある。
【先行技術文献】
【特許文献】
【0003】
国際公開第2019/191240号
【発明の概要】
【発明が解決しようとする課題】
【0004】
電動ファンは、動翼を駆動回転するモータを有する。モータは、内部に配置されるコイルや磁石が発熱することから、これらを冷却する必要がある。モータの冷却構造としては、電動ファンの前部から取り込んだ空気により内部を冷却し、冷却後の空気を後部または側部から排出するものがある。ところが、電動ファンの前部から空気を取り込む構造では、空気に含まれる埃などの異物を内部に取り込んでしまうことがある。そこで、モータの冷却構造として、電動ファンの後部から取り込んだ空気により内部を冷却し、冷却後の空気を側部から排出する構成が考えられる。しかし、電動ファンの後部から空気を取り込む場合、空気の取込口の圧力が空気の排出口の圧力と同圧または低圧となり、空気がモータの内部を流れにくくなり、コイルや磁石を適切に冷却することが困難となる。
【0005】
本開示は、上述した課題を解決するものであり、モータの冷却性能の向上を図る電動ファンおよび電動垂直離着陸機を提供することを目的とする。
【課題を解決するための手段】
【0006】
上記の目的を達成するための本開示の電動ファンは、軸方向の一端部に出力軸を有して軸方向の他端部に冷却空気取込口が設けられて径方向の外周部に冷却空気排出口が設けられる駆動モータと、前記出力軸に装着される動翼と、前記駆動モータの他端部に支持部材を介して連結されて前記駆動モータの径方向に沿って配置される中空形状をなすストラットと、前記ストラットの内部と前記空気取込口とを連通する連通部と、を備える。
【0007】
また、本開示の電動垂直離着陸機は、前記電動ファンを備える電動垂直離着陸機。
【発明の効果】
【0008】
本開示の電動ファンおよび電動垂直離着陸機によれば、モータの冷却性能の向上を図ることができる。
【図面の簡単な説明】
【0009】
図1は、第1実施形態の電動ファンを表す断面図である。
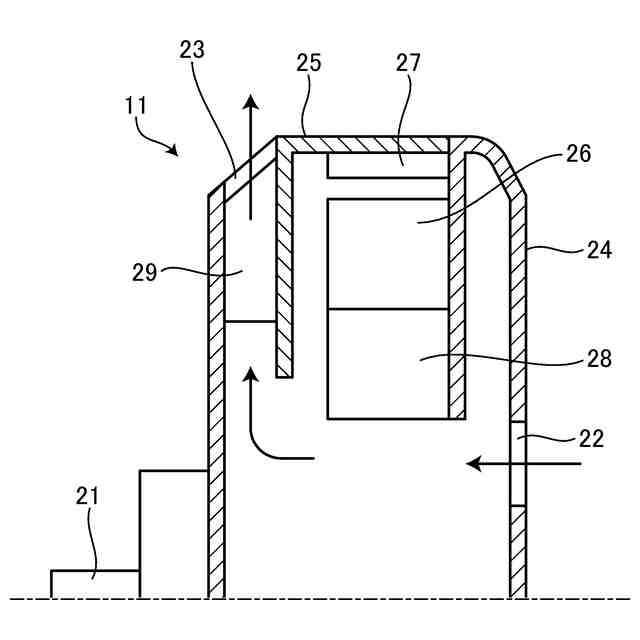
図2は、電動ファンを構成するモータの断面図である。
図3は、第2実施形態の電動ファンを表す断面図である。
【発明を実施するための形態】
【0010】
以下に図面を参照して、本開示の好適な実施形態を詳細に説明する。なお、この実施形態により本開示が限定されるものではなく、また、実施形態が複数ある場合には、各実施形態を組み合わせて構成するものも含むものである。また、実施形態における構成要素には、当業者が容易に想定できるもの、実質的に同一のもの、いわゆる均等の範囲のものが含まれる。
(【0011】以降は省略されています)
この特許をJ-PlatPat(特許庁公式サイト)で参照する
関連特許
三菱重工業株式会社
ボイラ壁
3日前
三菱重工業株式会社
加熱装置
10日前
三菱重工業株式会社
動力装置
6日前
三菱重工業株式会社
燃焼筒の取付方法
3日前
三菱重工業株式会社
ガスタービン制御方法
10日前
三菱重工業株式会社
燃焼設備および制御方法
5日前
三菱重工業株式会社
レドックスフロー電池システム
3日前
三菱重工業株式会社
演算方法、プログラム及び演算装置
5日前
三菱重工業株式会社
燃料噴射装置および往復動内燃機関
11日前
三菱重工業株式会社
電動ファンおよび電動垂直離着陸機
今日
三菱重工業株式会社
炉壁及びガス化炉並びに炉壁の製造方法
6日前
三菱重工業株式会社
電解セルカートリッジおよびその製造方法
12日前
三菱重工業株式会社
ガスタービン発電プラント、及びその運転方法
3日前
三菱重工業株式会社
接着剤の膜厚測定方法、および接合部材の製造方法
12日前
三菱重工業株式会社
経路設定方法、移動体、管理システム及びプログラム
12日前
三菱重工業株式会社
制御装置、CO2回収装置、制御方法及びプログラム
10日前
三菱重工業株式会社
劣化判定装置、劣化判定システム、および、劣化判定方法
10日前
三菱重工業株式会社
制御装置、ガスタービンの燃料供給系統、制御方法及びプログラム
13日前
三菱重工業株式会社
制御装置、ガスタービンの燃料供給設備、制御方法及びプログラム
今日
三菱重工業株式会社
流路形成板、分割環、静翼、ガスタービン、及び流路形成板の製造方法
4日前
三菱重工業株式会社
フォールトツリー作成方法、フォールトツリー作成装置およびプログラム
3日前
三菱重工業株式会社
船舶の積み付け計画作成装置、船舶の積み付け計画作成方法、およびプログラム
10日前
三菱重工業株式会社
検査システム、検査方法、その検査方法を用いる製造方法並びに検査プログラム
6日前
三菱重工業株式会社
シミュレータ、シミュレーション方法、及びコンピュータ読み取り可能な記録媒体
4日前
三菱重工業株式会社
放射性廃棄物収納用セパレータ、放射性廃棄物収納容器および放射性廃棄物収納方法
13日前
個人
海流製造装置。
1か月前
株式会社スギノマシン
圧縮機
18日前
株式会社ツインバード
送風装置
1か月前
株式会社ツインバード
送風装置
1か月前
カヤバ株式会社
電動ポンプ
2か月前
日機装株式会社
遠心ポンプ
10日前
株式会社不二越
蓄圧装置
2か月前
ビッグボーン株式会社
送風装置
2か月前
株式会社ノーリツ
ロータリ圧縮機
1か月前
サンデン株式会社
スクロール圧縮機
24日前
サンデン株式会社
スクロール圧縮機
24日前
続きを見る
他の特許を見る