TOP
|
特許
|
意匠
|
商標
特許ウォッチ
Twitter
他の特許を見る
10個以上の画像は省略されています。
公開番号
2025168892
公報種別
公開特許公報(A)
公開日
2025-11-12
出願番号
2024073732
出願日
2024-04-30
発明の名称
原子炉炉心および原子炉
出願人
三菱重工業株式会社
代理人
弁理士法人酒井国際特許事務所
主分類
G21C
5/00 20060101AFI20251105BHJP(核物理;核工学)
要約
【課題】原子炉炉心および原子炉において、製作性を向上させると共に強度の向上を図る。
【解決手段】棒形状をなす複数の燃料ブロックの側部が隣接して配置される原子炉炉心において、燃料ブロックは、内部にTRISO燃料を収納したペレットが複数直列をなした状態で第1熱伝導筒体の内部に配置される。
【選択図】図3
特許請求の範囲
【請求項1】
棒形状をなす複数の燃料ブロックの側部が隣接して配置される原子炉炉心において、
前記燃料ブロックは、
内部にTRISO燃料を収納したペレットが複数直列をなした状態で第1熱伝導筒体の内部に配置される、
原子炉炉心。
続きを表示(約 760 文字)
【請求項2】
前記燃料ブロックは、多角柱形状をなし、隣接する前記燃料ブロック同士が面接触する、
請求項1に記載の原子炉炉心。
【請求項3】
前記燃料ブロックが複数隣接して配置されることで全体として多角柱形状をなす、
請求項2に記載の原子炉炉心。
【請求項4】
前記燃料ブロックは、長手方向に複数直列に配置される、
請求項1に記載の原子炉炉心。
【請求項5】
前記ペレットは、内部に前記TRISO燃料を配置した黒鉛の圧粉体を焼き固めた円柱形状をなす燃料コンパクトまたは内部に前記TRISO燃料を配置した炭化ケイ素の圧粉体を焼き固めた円柱形状をなす燃料コンパクトである、
請求項1に記載の原子炉炉心。
【請求項6】
前記第1熱伝導筒体は、黒鉛により構成される、
請求項1に記載の原子炉炉心。
【請求項7】
第2熱伝導筒体の内部に伝熱管が配置される熱伝導ブロックが複数の前記燃料ブロックの外周部と中心部の少なくともいずれか一方に配置される、
請求項1に記載の原子炉炉心。
【請求項8】
第3熱伝導筒体の内部に中性子吸収体の収容部が設けられる空間部ブロックが複数の前記燃料ブロックの中心部と前記中心部から放射状に配置される、
請求項1に記載の原子炉炉心。
【請求項9】
請求項1に記載の原子炉炉心と、
前記原子炉炉心の核燃料の核反応により生じる熱を外部に伝導する熱伝導体と、
前記原子炉炉心の外側に配置されて中性子を反射する中性子反射部と中性子を吸収する中性子吸収部とが設けられる複数の制御部を有する反応度制御装置と、
を備える原子炉。
発明の詳細な説明
【技術分野】
【0001】
本開示は、原子炉炉心および原子炉に関するものである。
続きを表示(約 1,400 文字)
【背景技術】
【0002】
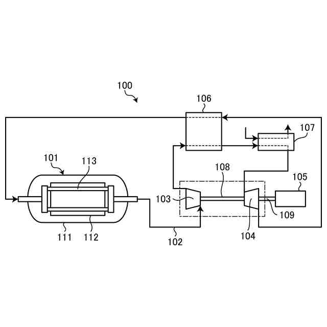
原子力発電システムは、核燃料を格納した原子炉を有する。原子力発電システムは、原子炉で核燃料により核反応を生じさせ、発生した熱を外部に取り出して冷媒を加熱する。加熱された冷媒は、タービンを駆動回転することで発電機により発電を行う。このような原子力発電システムとしては、特許文献1に記載されたものがある。
【先行技術文献】
【特許文献】
【0003】
特許第7426323号公報
【発明の概要】
【発明が解決しようとする課題】
【0004】
従来の原子力発電システムにて、炉心を構成する燃料部は、円板形状に形成された燃料層が複数積層して構成される。この場合、燃料層を円板形状に形成したり、円板形状の燃料層を複数積層したりするには多くの製造工程が必要になり、炉心の製作性を向上させたいという要望がある。また、燃料層を積層して構成する燃料部の強度を高めたいという要望もある。
【0005】
本開示は、上述した課題を解決するものであり、製作性を向上させると共に強度の向上を図る原子炉炉心および原子炉を提供することを目的とする。
【課題を解決するための手段】
【0006】
上記の目的を達成するための本開示の原子炉炉心は、棒形状をなす複数の燃料ブロックの側部が隣接して配置される原子炉炉心において、前記燃料ブロックは、内部にTRISO燃料を収納したペレットが複数直列をなした状態で第1熱伝導筒体の内部に配置される。
【0007】
また、本開示の原子炉は、前記原子炉炉心と、前記原子炉炉心の核燃料の核反応により生じる熱を外部に伝導する熱伝導体と、前記原子炉炉心の外側に配置されて中性子を反射する中性子反射部と中性子を吸収する中性子吸収部とが設けられる複数の制御部を有する反応度制御装置と、を備える。
【発明の効果】
【0008】
本開示の原子炉炉心および原子炉によれば、製作性を向上させることができると共に、強度の向上を図ることができる。
【図面の簡単な説明】
【0009】
図1は、本実施形態の原子力発電システムを表す概略図である。
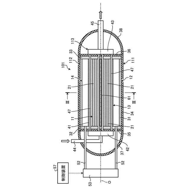
図2は、本実施形態の原子炉ユニットを表す断面図である。
図3は、原子炉を表す図2のIII-III断面図である。
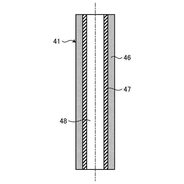
図4は、燃料ブロックを表す縦断面図である。
図5は、燃料ブロックを表す図4のV-V断面図である。
図6は、熱伝導ブロックを表す縦断面図である。
図7は、空間部ブロックを表す縦断面図である。
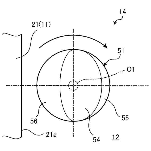
図8は、制御ドラムの詳細を表す概略図である。
図9は、制御ドラムの作動を表す概略図である。
【発明を実施するための形態】
【0010】
以下に図面を参照して、本開示の好適な実施形態を詳細に説明する。なお、この実施形態により本開示が限定されるものではなく、また、実施形態が複数ある場合には、各実施形態を組み合わせて構成するものも含むものである。また、実施形態における構成要素には、当業者が容易に想定できるもの、実質的に同一のもの、いわゆる均等の範囲のものが含まれる。
(【0011】以降は省略されています)
この特許をJ-PlatPat(特許庁公式サイト)で参照する
関連特許
個人
常温核融合装置
6か月前
個人
原子力プラント
1か月前
個人
常温核融合装置
6か月前
個人
常温核融合装置
6か月前
個人
超音波振動子の利用
1か月前
個人
トリチウムの除去装置
7か月前
個人
廃炉方法及び固化材
1か月前
個人
元素変換用固体核融合工程
5か月前
個人
安山岩を利用した放射線消去装置
5か月前
個人
安山岩を利用した放射線消去装置
4か月前
パテントフレア株式会社
核融合反応促進法
6か月前
合同会社日本レプトン
電子発生部材
4日前
個人
はんれい岩を利用した放射線消去装置
4か月前
パテントフレア株式会社
核融合反応促進法
7か月前
個人
金属製軽水炉使用済核燃料増殖原子炉
7か月前
個人
装置、加速器、減速器、核変換システム
7か月前
合同会社日本レプトン
電子発生ペースト
1か月前
株式会社エー・アンド・デイ
X線検査装置
6か月前
株式会社エー・アンド・デイ
X線検査装置
6か月前
個人
ホウ素を用いるミューオン触媒核融合システム
7か月前
栗田工業株式会社
放射性廃液の処理方法
1か月前
合同会社日本レプトン
電子発生部材の製造方法
4日前
PDRファーマ株式会社
遮蔽容器
6か月前
個人
核変換システム、加工装置、除去装置、切除装置
6か月前
個人
過剰熱発生方法
8か月前
国立大学法人大阪大学
原子力発電装置
6か月前
個人
加速器屋が考えたTEMモード同軸共鳴器型核融合炉
17日前
住友重機械工業株式会社
搬送システム
4か月前
合同会社日本レプトン
電子発生素材及び電子発生部材
4日前
三菱重工業株式会社
原子炉
4日前
合同会社日本レプトン
電子発生器具及びその製造方法
1か月前
合同会社日本レプトン
電子発生器具及びその製造方法
1か月前
浜松ホトニクス株式会社
電子線照射装置
6か月前
浜松ホトニクス株式会社
電子線照射装置
6か月前
個人
共振励起型固体核融合装置と元素変換用固体核融合工程
4か月前
三菱重工業株式会社
加圧容器
2か月前
続きを見る
他の特許を見る