TOP
|
特許
|
意匠
|
商標
特許ウォッチ
Twitter
他の特許を見る
10個以上の画像は省略されています。
公開番号
2025152563
公報種別
公開特許公報(A)
公開日
2025-10-10
出願番号
2024054509
出願日
2024-03-28
発明の名称
セル制御システム
出願人
株式会社デンソー
代理人
弁理士法人あいち国際特許事務所
主分類
C25B
15/023 20210101AFI20251002BHJP(電気分解または電気泳動方法;そのための装置)
要約
【課題】電気化学セルの内部抵抗を効率的に低減させることにより、電気化学セルの劣化を抑制することができるセル制御システムを提供すること。
【解決手段】セル制御システム1は、電気化学セル2の内部抵抗を制御する。セル制御システム1は、劣化部位特定部31と、動作決定部32と、を有する。劣化部位特定部31は、電気化学セル2の劣化部位を特定するための劣化診断を行う。動作決定部32は、劣化部位特定部31の劣化診断の結果に基づいて、低減動作を決定する。低減動作は、劣化部位の劣化を起因として上昇した電気化学セル2の内部抵抗を低減させるための電気化学セル2の動作である。セル制御システム1は、低減動作を実施することにより、電気化学セル2の内部抵抗、電気化学セル2にかかる電圧等が、所定の目標値となるよう制御する。
【選択図】図1
特許請求の範囲
【請求項1】
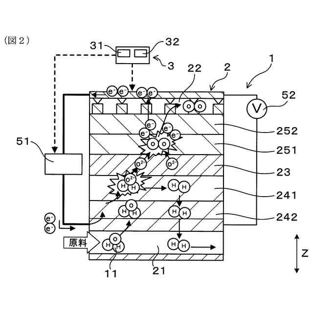
カソード流路(21)、アノード流路(22)、及び前記アノード流路と前記カソード流路との間に配された電解質(23)を備えた電気化学セル(2)の内部抵抗を制御するセル制御システム(1)であって、
前記電気化学セルは、供給される電力によって原料(11)を電気分解させて水素を製造するよう構成されており、
前記電気化学セルの劣化部位を特定するための劣化診断を行う劣化部位特定部(31)と、
前記劣化部位特定部の前記劣化診断の結果に基づいて、前記劣化部位特定部によって特定された前記劣化部位の劣化を起因として上昇した前記電気化学セルの内部抵抗を低減させるための前記電気化学セルの動作である低減動作を決定する動作決定部(32)と、を有し、
前記動作決定部によって決定された前記低減動作を実施することにより、前記電気化学セルの内部抵抗、前記電気化学セルにかかる電圧、前記電気化学セルに流れる電流のうち、少なくとも1つが、所定の目標値となるよう制御する、セル制御システム。
続きを表示(約 2,000 文字)
【請求項2】
前記原料は水であり、
前記低減動作は、前記電気化学セルの温度、前記カソード流路の圧力、前記アノード流路の圧力、前記カソード流路に供給されるガスの水蒸気の分圧、前記アノード流路に供給されるガスの酸素の分圧、前記カソード流路のガスの流量、前記アノード流路のガスの流量、のうち、少なくとも一つを変化させる動作である、請求項1に記載のセル制御システム。
【請求項3】
前記原料は水であり、
前記電気化学セルの温度、前記カソード流路の圧力、前記アノード流路の圧力、前記カソード流路に供給されるガスの水蒸気の分圧、前記アノード流路に供給されるガスの酸素の分圧、前記カソード流路のガスの流量、前記アノード流路のガスの流量を、それぞれ、前記劣化部位特定部の診断項目としたとき、前記劣化部位特定部は、複数の前記診断項目のうち、少なくとも一つの前記診断項目の値を変化させることにより、前記電気化学セルの劣化部位を特定し、
前記劣化部位特定部は、前記診断項目の値を変化させたときの前記電気化学セルの状態変化量である測定変化量を計測すると共に、前記測定変化量と、予め定めた前記電気化学セルの状態変化量の基準値とを比較することにより、前記電気化学セルの劣化部位を特定する、請求項1に記載のセル制御システム。
【請求項4】
前記アノード流路は、空気が流れるように構成されており、前記アノード流路に、さらに空気以外の気体を流すことにより、前記アノード流路の酸素分圧を変化させる、請求項2又は3に記載のセル制御システム。
【請求項5】
前記状態変化量は、前記電気化学セルへの出力電流を定電流に制御しているときの、前記電気化学セルにかかる電圧の大きさの変化量である、請求項3に記載のセル制御システム。
【請求項6】
前記状態変化量は、前記電気化学セルへの出力電圧を定電圧に制御しているときの、前記電気化学セルに流れる電流の大きさの変化量である、請求項3に記載のセル制御システム。
【請求項7】
カソード流路(21)、アノード流路(22)、及び前記アノード流路と前記カソード流路との間に配された電解質(23)を備えた電気化学セル(2)の内部抵抗を制御するセル制御システム(1)であって、
前記電気化学セルは、前記カソード流路に酸化剤(12)を含むガスが供給されると共に、前記アノード流路に燃料(13)を含むガスが供給されることにより発電するよう構成されており、
前記電気化学セルの劣化部位を特定するための劣化診断を行う劣化部位特定部(31)と、
前記劣化部位特定部の前記劣化診断の結果に基づいて、前記劣化部位特定部によって特定された前記劣化部位の劣化を起因として上昇した前記電気化学セルの内部抵抗を低減させるための前記電気化学セルの動作である低減動作を決定する動作決定部(32)と、を有し、
前記動作決定部によって決定された前記低減動作を実施することにより、前記電気化学セルの内部抵抗、前記電気化学セルの出力電圧、前記電気化学セルの出力電流のうち、少なくとも1つが、所定の目標値となるよう制御する、セル制御システム。
【請求項8】
前記酸化剤は酸素であり、
前記低減動作は、前記電気化学セルの温度、前記カソード流路の圧力、前記アノード流路の圧力、前記アノード流路に供給されるガスの前記燃料の分圧、前記カソード流路に供給されるガスの前記酸素の分圧、前記カソード流路のガスの流量、前記アノード流路のガスの流量、のうち、少なくとも一つを変化させる動作である、請求項7に記載のセル制御システム。
【請求項9】
前記酸化剤は酸素であり、
前記電気化学セルの温度、前記カソード流路の圧力、前記アノード流路の圧力、前記カソード流路に供給されるガスの前記酸素の分圧、前記アノード流路に供給されるガスの前記燃料の分圧、前記カソード流路のガスの流量、前記アノード流路のガスの流量を、それぞれ、前記劣化部位特定部の診断項目としたとき、前記劣化部位特定部は、複数の前記診断項目のうち、少なくとも一つの前記診断項目の値を変化させることにより、前記電気化学セルの劣化部位を特定し、
前記劣化部位特定部は、前記診断項目の値を変化させたときの前記電気化学セルの状態変化量である測定変化量を計測すると共に、前記測定変化量と、予め定めた前記電気化学セルの状態変化量の基準値とを比較することにより、前記電気化学セルの劣化部位を特定する、請求項7に記載のセル制御システム。
【請求項10】
前記カソード流路は、空気が流れるように構成されており、前記カソード流路に、さらに空気以外の気体を流すことにより、前記カソード流路の酸素分圧を変化させる、請求項8又は9に記載のセル制御システム。
(【請求項11】以降は省略されています)
発明の詳細な説明
【技術分野】
【0001】
本発明は、セル制御システムに関する。
続きを表示(約 2,900 文字)
【背景技術】
【0002】
例えば、特許文献1に記載されているように、原料を電気分解して水素を取り出すための電解セルスタックを備えた水素製造システムが知られている。この水素製造システムは、劣化によって電解セルスタックの内部抵抗が上昇した場合、電解セルスタックの温度を上昇させることにより、電解セルスタックの内部抵抗を低減させようとしている。
【先行技術文献】
【特許文献】
【0003】
特許第6704998号公報
【発明の概要】
【発明が解決しようとする課題】
【0004】
しかしながら、特許文献1に記載の水素製造システムは、電解セルスタックを構成するセルの劣化部位を特定せずに、セルの温度制御によって内部抵抗を低減させようとしている。それゆえ、セルの内部抵抗を充分に低減できないおそれがある。つまり、セルを構成する部位によって、内部抵抗を上昇させる原因が異なる場合がある。それゆえ、セルの劣化部位毎に、内部抵抗を効率的に低減させるためのセルの動作内容が異なる場合があり、セルの温度を制御するだけでは、充分に内部抵抗を低減できないおそれがある。そのため、特許文献1に記載の水素製造システムは、セルの内部抵抗を効率的に低減させ、セルの劣化を抑制する観点から、改善の余地があるといえる。
【0005】
本発明は、かかる課題に鑑みてなされたものであり、電気化学セルの内部抵抗を効率的に低減させることにより、電気化学セルの劣化を抑制することができるセル制御システムを提供しようとするものである。
【課題を解決するための手段】
【0006】
本発明の第一の態様は、カソード流路(21)、アノード流路(22)、及び前記アノード流路と前記カソード流路との間に配された電解質(23)を備えた電気化学セル(2)の内部抵抗を制御するセル制御システム(1)であって、
前記電気化学セルは、供給される電力によって原料(11)を電気分解させて水素を製造するよう構成されており、
前記電気化学セルの劣化部位を特定するための劣化診断を行う劣化部位特定部(31)と、
前記劣化部位特定部の前記劣化診断の結果に基づいて、前記劣化部位特定部によって特定された前記劣化部位の劣化を起因として上昇した前記電気化学セルの内部抵抗を低減させるための前記電気化学セルの動作である低減動作を決定する動作決定部(32)と、を有し、
前記動作決定部によって決定された前記低減動作を実施することにより、前記電気化学セルの内部抵抗、前記電気化学セルにかかる電圧、前記電気化学セルに流れる電流のうち、少なくとも1つが、所定の目標値となるよう制御する、セル制御システムにある。
【0007】
本発明の第二の態様は、カソード流路(21)、アノード流路(22)、及び前記アノード流路と前記カソード流路との間に配された電解質(23)を備えた電気化学セル(2)の内部抵抗を制御するセル制御システム(1)であって、
前記電気化学セルは、前記カソード流路に酸化剤(12)を含むガスが供給されると共に、前記アノード流路に燃料(13)を含むガスが供給されることにより発電するよう構成されており、
前記電気化学セルの劣化部位を特定するための劣化診断を行う劣化部位特定部(31)と、
前記劣化部位特定部の前記劣化診断の結果に基づいて、前記劣化部位特定部によって特定された前記劣化部位の劣化を起因として上昇した前記電気化学セルの内部抵抗を低減させるための前記電気化学セルの動作である低減動作を決定する動作決定部(32)と、を有し、
前記動作決定部によって決定された前記低減動作を実施することにより、前記電気化学セルの内部抵抗、前記電気化学セルの出力電圧、前記電気化学セルの出力電流のうち、少なくとも1つが、所定の目標値となるよう制御する、セル制御システムにある。
【発明の効果】
【0008】
上記セル制御システムは、劣化部位特定部と動作決定部とを有する。そのため、電気化学セルの劣化部位に応じた、低減動作を実施することができる。それゆえ、電気化学セルの内部抵抗を効率的に低減させることができる。その結果、内部抵抗が低い状態にて電気化学セルを稼働させることができ、電気化学セルの劣化を抑制することができる。
【0009】
以上のごとく、上記態様によれば、電気化学セルの内部抵抗を効率的に低減させることにより、電気化学セルの劣化を抑制することができるセル制御システムを提供することができる。
なお、特許請求の範囲及び課題を解決する手段に記載した括弧内の符号は、後述する実施形態に記載の具体的手段との対応関係を示すものであり、本発明の技術的範囲を限定するものではない。
【図面の簡単な説明】
【0010】
実施形態1における、セル制御システムを含む水素製造装置の構成図。
実施形態1における、セル制御システムを示す図。
実施形態1における、劣化診断及び低減動作の流れを示すフロー図。
実施形態1における、劣化診断を行うタイミングを示す図。
実施形態1における、劣化診断時の、酸素分圧と電解電圧との関係を示す図。
実施形態1における、低減動作時の、酸素分圧と電解電圧との関係を示す図。
実施形態1における、各部位毎の診断項目と低減動作の具体例を示す図。
実施形態1における、劣化診断時の、セル温度と電解電圧との関係を示す図。
実施形態1における、低減動作時の、セル温度と電解電圧との関係を示す図。
実施形態2における、劣化診断及び低減動作の流れを示すフロー図。
実施形態3における、セル制御システムを含む水素製造装置の構成図。
実施形態4における、セル制御システムを含む水素製造装置の構成図。
実施形態5における、セル制御システムを含む水素製造装置の構成図。
実施形態6における、セル制御システムを含む水素製造装置の構成図。
実施形態7における、セル制御システムを含む水素製造装置の構成図。
実施形態8における、セル制御システムを含む水素製造装置の構成図。
実施形態9における、セル制御システムを示す図。
実施形態9における、セル制御システムを含む燃料電池装置の構成図。
実施形態9における、劣化診断及び低減動作の流れを示すフロー図。
実施形態9における、劣化診断時の、酸素分圧と出力電圧との関係を示す図。
実施形態9における、低減動作時の、酸素分圧と出力電圧との関係を示す図。
実施形態10における、セル制御システムを含む燃料電池装置の構成図。
温調部をカソード供給流路等に設けた場合の、セル制御システムを含む水素製造装置の構成図。
【発明を実施するための形態】
(【0011】以降は省略されています)
この特許をJ-PlatPat(特許庁公式サイト)で参照する
関連特許
株式会社デンソーウェーブ
筐体
19日前
株式会社デンソー
回転機
19日前
株式会社デンソー
車載器
1か月前
株式会社デンソー
反力装置
26日前
株式会社デンソー
電子装置
26日前
株式会社デンソー
電子装置
27日前
株式会社デンソー
ステータ
1か月前
株式会社デンソーエレクトロニクス
発音装置
1か月前
株式会社デンソー
電子装置
1か月前
株式会社デンソー
ステータ
1か月前
株式会社デンソー
検出装置
18日前
株式会社デンソー
電子装置
8日前
株式会社デンソー
制御装置
今日
株式会社デンソー
ねじ部材
1か月前
株式会社デンソー
半導体装置
1か月前
株式会社デンソー
半導体装置
7日前
株式会社デンソーテン
インバータ
26日前
株式会社デンソー
電流センサ
19日前
株式会社デンソー
熱交換装置
12日前
株式会社デンソートリム
鞍乗り車両
6日前
株式会社デンソー
半導体装置
14日前
株式会社デンソー
センサ装置
5日前
株式会社デンソー
レーダ装置
25日前
株式会社デンソー
センサ装置
5日前
株式会社デンソー
農業用装置
28日前
株式会社デンソー
ヒータ装置
6日前
株式会社デンソー
画像処理装置
19日前
株式会社デンソー
電圧検出回路
12日前
株式会社デンソー
電力変換装置
12日前
株式会社デンソー
車載システム
26日前
株式会社デンソーテン
車載映像装置
1か月前
株式会社デンソー
電力変換装置
1か月前
株式会社デンソー
電子制御装置
1か月前
株式会社デンソー
電波吸収装置
1か月前
株式会社デンソー
車載システム
26日前
株式会社デンソー
運航管理装置
25日前
続きを見る
他の特許を見る