TOP
|
特許
|
意匠
|
商標
特許ウォッチ
Twitter
他の特許を見る
公開番号
2025170675
公報種別
公開特許公報(A)
公開日
2025-11-19
出願番号
2024075455
出願日
2024-05-07
発明の名称
電解質膜の前処理方法
出願人
トヨタ自動車株式会社
代理人
弁理士法人平木国際特許事務所
主分類
C25D
17/00 20060101AFI20251112BHJP(電気分解または電気泳動方法;そのための装置)
要約
【課題】金属皮膜を成膜するに適した電解質膜の前処理方法を提供する。
【解決手段】基材Bに金属皮膜Fを成膜する成膜装置1に用いられる電解質膜13の前処理方法である。電解質膜13は、成膜装置1の装置本体1Aに取り付けられ、基材Bに接触した状態で、電解めっきにより基材Bに金属皮膜Fを成膜する際に用いられるものである。この前処理方法では、電解質膜13を加湿された雰囲気下で加熱することにより、電解質膜13を膨潤させる膨潤工程S2と、膨潤させた電解質膜13を純水Wに浸漬させ、電解質膜を保管する保管工程S4と、を含む。
【選択図】図1
特許請求の範囲
【請求項1】
基材に金属皮膜を成膜する成膜装置に用いられる電解質膜の前処理方法であって、
前記電解質膜は、前記成膜装置の装置本体に取り付けられ、前記基材に接触した状態で、電解めっきにより前記基材に前記金属皮膜を成膜する際に用いられるものであり、
前記前処理方法は、
前記電解質膜を加湿された雰囲気下で加熱することにより、前記電解質膜を膨潤させる膨潤工程と、
前記膨潤させた前記電解質膜を純水に浸漬させ、前記電解質膜を保管する保管工程と、
を含むことを特徴とする電解質膜の前処理方法。
続きを表示(約 170 文字)
【請求項2】
前記膨潤工程の前に、前記電解質膜を純水に浸漬させる浸漬工程をさらに含むことを特徴とする請求項1に記載の電解質膜の前処理方法。
【請求項3】
前記膨潤工程後、前記保管工程前に、前記加湿された雰囲気下で、膨潤させた前記電解質膜を冷却する冷却工程をさらに含むことを特徴とする請求項1に記載の電解質膜の前処理方法。
発明の詳細な説明
【技術分野】
【0001】
本発明は、基材に金属皮膜を成膜する成膜装置に用いられる電解質膜の前処理方法に関する。
続きを表示(約 1,600 文字)
【背景技術】
【0002】
この種の技術として、たとえば特許文献1には、基材に金属皮膜を成膜する成膜装置が提案されている。成膜装置は、電解質膜を備えており、電解質膜を基材に接触させた状態で、電気めっきにより、基材に金属皮膜を成膜するものである。
【先行技術文献】
【特許文献】
【0003】
特開2014-122377号公報
【発明の概要】
【発明が解決しようとする課題】
【0004】
ところで、成膜装置に用いられる電解質膜を、成膜装置の装置本体に取り付ける前に、純水などの煮沸液で煮沸することがある。これにより、電解質膜は煮沸液により膨潤し、電気めっきを行う際にめっき液の金属イオンを透過させることができる。
【0005】
しかしながら、煮沸液内に溶存する空気が電解質膜に付着した状態で、電解質膜を煮沸液で煮沸すると、温度ムラにより、空気が付着した部分の膨潤状態が、他の部分の膨潤状態と異なることがある。この結果、電解質膜にする金属イオンの透過性が部分的に異なるため、均一な膜厚の金属皮膜を安定して製造できないことがある。特に、電解質膜の膨潤状態を外観から特定することは難しく、電解質膜の外観から、電解質膜が適切な煮沸条件で煮沸されたかを把握することは難しい。
【0006】
本発明は、このような点に鑑みてなされたものであり、金属皮膜を成膜するに適した電解質膜の前処理方法を提供することを目的とする。
【課題を解決するための手段】
【0007】
前記課題に鑑みて、本発明に係る電解質膜の前処理方法は、基材に金属皮膜を成膜する成膜装置に用いられる電解質膜の前処理方法であって、前記電解質膜は、前記成膜装置の装置本体に取り付けられ、前記基材に接触した状態で、電解めっきにより前記基材に前記金属皮膜を成膜する際に用いられるものであり、前記前処理方法は、前記電解質膜を加湿された雰囲気下で加熱することにより、前記電解質膜を膨潤させる膨潤工程と、前記膨潤させた前記電解質膜を純水に浸漬させ、前記電解質膜を保管する保管工程と、を含むことを特徴とする。
【0008】
好ましい態様としては、前記膨潤工程の前に、前記電解質膜を純水に浸漬させる浸漬工程をさらに含む。別の好ましい態様としては、前記膨潤工程後、前記保管工程前に、前記加湿された雰囲気下で、膨潤させた前記電解質膜を冷却する冷却工程をさらに含む。
【発明の効果】
【0009】
本発明によれば、膨潤工程において、電解質膜を加湿された雰囲気下で加熱することにより、空気中の水分が電解質膜に均一に吸着し、この吸着した水分により、電解質膜を均一に膨潤させることができる。このようにして、保管工程において、電解質膜を純水に浸漬させることにより、電解質膜が膨潤した状態を保持することができる。保管された電解質膜は、成膜装置の装置本体に取り付けられる。成膜時には、均一に膨潤した電解質膜を基材に接触した状態で、電解めっきにより、めっき液の金属イオンを電解質膜に均一に透過させることができるため、均一な金属皮膜を成膜することができる。
【図面の簡単な説明】
【0010】
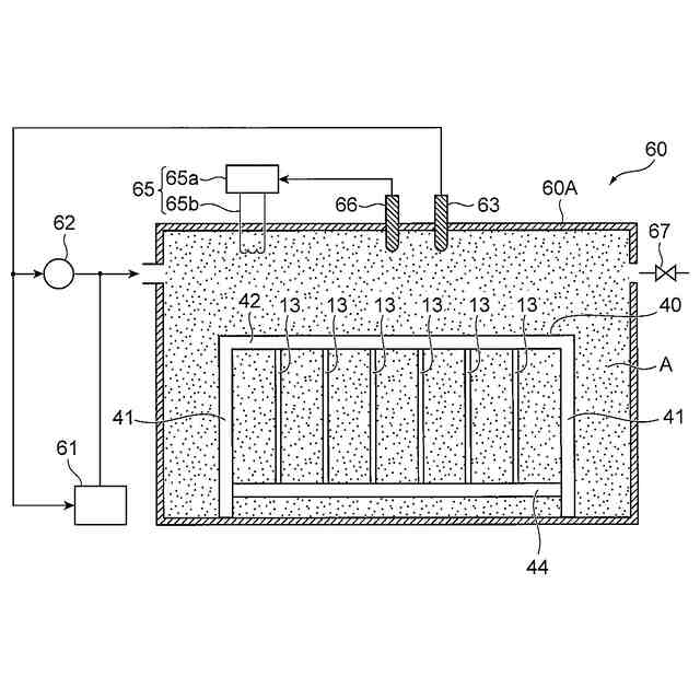
本発明の実施形態に係る電解質膜の前処理方法を含むフロー図である。
(a)は、枠体に取り付けた電解質膜の取り付け状態を示す斜視図であり、(b)は、図1に示す浸漬工程および保管工程を説明するための模式図である。
図1に示す膨潤工程を説明するための模式図である。
(a)は、図1に示す取付け工程を説明するための図であり、(b)は、図1に示す成膜工程を説明するための図である。
【発明を実施するための形態】
(【0011】以降は省略されています)
この特許をJ-PlatPat(特許庁公式サイト)で参照する
関連特許
株式会社堤水素研究所
水電解装置
1か月前
株式会社神戸製鋼所
接点材料
1か月前
株式会社ケミカル山本
電解研磨装置用電極
1か月前
本田技研工業株式会社
電解装置
2日前
本田技研工業株式会社
差圧式電解装置
1か月前
東レ株式会社
液体電解用多孔質輸送層およびその製造方法
1か月前
株式会社村田製作所
めっき組成物の製造方法
今日
メルテックス株式会社
極薄電解銅箔及びその製造方法
1か月前
睦技研株式会社
バレルめっき装置
6日前
旭化成株式会社
電解装置の運転方法
1か月前
株式会社デンソー
電解装置
1か月前
大阪瓦斯株式会社
共電解メタネーション装置
1か月前
大阪瓦斯株式会社
共電解メタネーション装置
1か月前
株式会社トクヤマ
電解槽ユニット
6日前
株式会社トクヤマ
電解槽ユニット
6日前
JX金属株式会社
電着金属の搬送システム及び搬送方法
1か月前
株式会社フジタ
水電解装置
1か月前
本田技研工業株式会社
電気化学式水素昇圧システム
1か月前
トヨタ自動車株式会社
水電解システム
1日前
株式会社デンソー
電気化学反応装置
15日前
株式会社ホクトウ
バレルメッキ装置用リード線のリサイクル方法
1か月前
株式会社日本触媒
アルカリ水電解用隔膜
今日
日本碍子株式会社
電気化学セル
1か月前
トヨタ自動車株式会社
水電解システム
1か月前
株式会社神鋼環境ソリューション
水素発生装置
1か月前
トヨタ自動車株式会社
電解質膜の前処理方法
22日前
日本特殊陶業株式会社
セルスタックシステム
1か月前
株式会社豊田中央研究所
水電解システムおよび水電解装置の制御方法
1か月前
三菱重工業株式会社
電解セルカートリッジおよびその製造方法
1か月前
旭化成株式会社
電解システムの制御方法及び電解システム
1か月前
株式会社神鋼環境ソリューション
水素・酸素発生装置
8日前
本田技研工業株式会社
電解システムの制御装置および電解システム
7日前
日本特殊陶業株式会社
電気化学反応用触媒、電極、および電気化学デバイス
1か月前
株式会社豊田中央研究所
電極材料、及び、電気化学セル
今日
株式会社豊田中央研究所
電極材料、及び、電気化学セル
今日
株式会社豊田中央研究所
水電解システム、水供給システム、および水供給方法
1か月前
続きを見る
他の特許を見る