TOP
|
特許
|
意匠
|
商標
特許ウォッチ
Twitter
他の特許を見る
10個以上の画像は省略されています。
公開番号
2025177769
公報種別
公開特許公報(A)
公開日
2025-12-05
出願番号
2024084854
出願日
2024-05-24
発明の名称
電解槽ユニット
出願人
株式会社トクヤマ
代理人
弁理士法人愛宕綜合特許事務所
主分類
C25B
9/00 20210101AFI20251128BHJP(電気分解または電気泳動方法;そのための装置)
要約
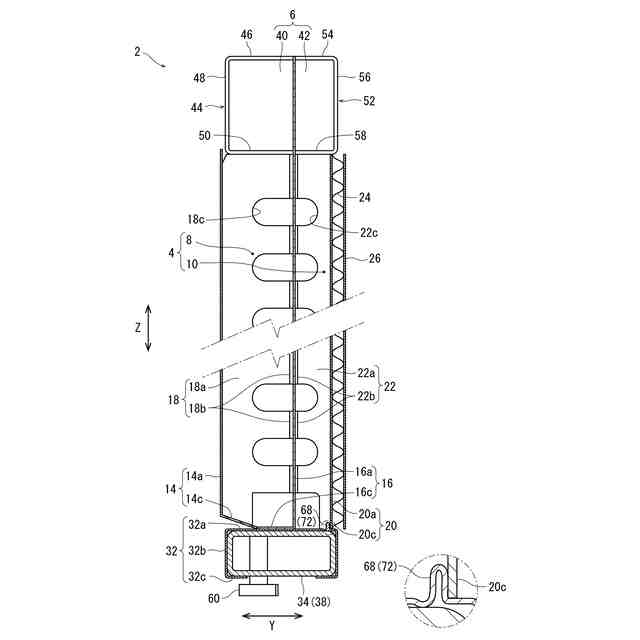
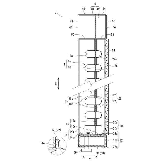
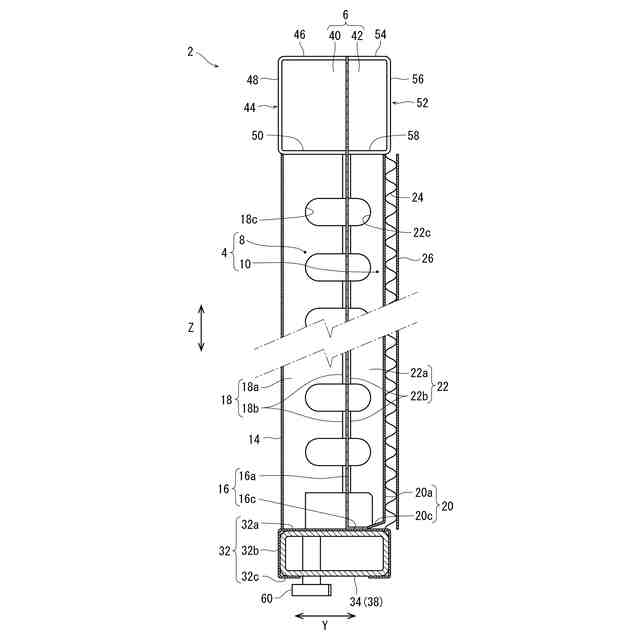
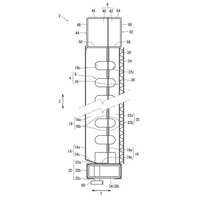
【課題】陽極または集電体の電極室側への落ち込みを防止した電解槽ユニットを提供する。
【解決手段】電解槽ユニット2は、液体の電気分解が行われる電極室4(陽極室8、陰極室10)を備える。また、電解槽ユニット2は、陽極室8に配置された陽極14と、陰極室10に配置された集電体20と、陽極室8と陰極室10とを区画する隔壁16と、陽極室8および陰極室10の両方の幅方向両側端部および下端部を規定する共通フランジ28とを備える。隔壁16の幅方向両側端部16bおよび下端部16cは、陽極室8側に折り曲げられていて共通フランジ28に接合されており、陽極14の両側端部または下端部の少なくともいずれかが、隔壁16の幅方向両側端部16bまたは下端部16cに支持されている。
【選択図】図3
特許請求の範囲
【請求項1】
陽極室および陰極室を備える電解槽ユニットであって、
前記陽極室に配置された陽極と、
前記陰極室に配置された集電体と、
前記陽極室と前記陰極室とを区画する隔壁と、
前記陽極室および前記陰極室の両方の幅方向両側端部および下端部を規定する共通フランジとを備え、
前記隔壁の幅方向両側端部および下端部は、前記陽極室側に折り曲げられていて前記共通フランジに接合されており、
前記陽極の幅方向両側端部または下端部の少なくともいずれかが、前記隔壁の幅方向両側端部または下端部に支持されている電解槽ユニット。
続きを表示(約 810 文字)
【請求項2】
前記陽極の幅方向両側端部および下端部が、前記隔壁の幅方向両側端部および下端部に支持されている請求項1に記載の電解槽ユニット。
【請求項3】
前記共通フランジには、前記陰極室に向かって突出するとともに前記共通フランジの内周に沿って延びる突起が設けられており、
前記集電体の幅方向両側端部および下端部は、前記突起に支持されている、請求項1に記載の電解槽ユニット。
【請求項4】
前記突起は、前記陰極室の奥行方向に伸縮可能である、請求項3に記載の電解槽ユニット。
【請求項5】
陽極室および陰極室を備える電解槽ユニットであって、
前記陽極室に配置された陽極と、
前記陰極室に配置された集電体と、
前記陽極室と前記陰極室とを区画する隔壁と、
前記陽極室および前記陰極室の両方の幅方向両側端部および下端部を規定する共通フランジとを備え、
前記隔壁の幅方向両側端部および下端部は、前記陰極室側に折り曲げられていて前記共通フランジに接合されており、
前記集電体の幅方向両側端部または下端部の少なくともいずれかが、前記隔壁の幅方向両側端部または下端部に支持されている電解槽ユニット。
【請求項6】
前記集電体の幅方向両側端部および下端部が、前記隔壁の幅方向両側端部および下端部に支持されている請求項5に記載の電解槽ユニット。
【請求項7】
前記共通フランジには、前記陽極室に向かって突出するとともに前記共通フランジの内周に沿って延びる突起が設けられており、
前記陽極の幅方向両側端部および下端部は、前記突起に支持されている、請求項5に記載の電解槽ユニット。
【請求項8】
前記突起は、前記陽極室の奥行方向に伸縮可能である、請求項7に記載の電解槽ユニット。
発明の詳細な説明
【技術分野】
【0001】
本発明は、電解槽ユニットに関し、より詳細には、電極が隔壁に支持されている電解槽ユニットに関する。
続きを表示(約 1,700 文字)
【背景技術】
【0002】
電解槽ユニットは、たとえば、水酸化カリウム等のアルカリ金属水酸化物水溶液を電解する復極式電解槽の構成要素である。電解槽ユニットには、一般に、陽極室および陰極室が設けられている。陽極室および陰極室は、2枚の隔壁により区画されている。陽極室には陽極が設けられ、陽極は陽極室内のリブにより支持されている。陰極室には集電体が設けられ、集電体は陰極室内のリブにより支持されている(たとえば、特許文献1参照)。
【先行技術文献】
【特許文献】
【0003】
特開2023-177353号公報
【発明の概要】
【発明が解決しようとする課題】
【0004】
しかしながら、電解槽内の圧力変動により、陽極または集電体の両側端部または下端部が電極室側に落ち込み、平坦性を失う場合がある。この場合、局所的な抵抗の増大、電解電圧の上昇の発生、あるいは隔膜の損傷のおそれがある。ここで、「落ち込み」とは、陽極または集電体の両側端部または下端部の少なくともいずれかの位置が、電解槽ユニットの運転前の状態(初期状態)におけるそれぞれの主部の位置に比べて、運転中に電極室側に変位することを意味している。また、陽極または集電体の両側端部または下端部の先端が、奥行方向において陽極または集電体の主部と同じ位置にあったとしても、運転中に陽極または集電体の先端以外の一部が電極室側へ凹みが生じた、または折れ曲がりが生じたような場合も含んでいる。さらに、陽極または集電体の両側端部または下端部の電極室側への変位が、局所的に発生した場合も含んでいる。
【0005】
本発明の課題は、陽極または集電体の電極室側への落ち込みを防止した電解槽ユニットを提供することである。
【課題を解決するための手段】
【0006】
本発明によれば、上記課題を解決する以下の電解槽ユニットが提供される。すなわち、
「陽極室および陰極室を備える電解槽ユニットであって
前記陽極室に配置された陽極と、
前記陰極室に配置された集電体と、
前記陽極室と前記陰極室とを区画する隔壁と、
前記陽極室および前記陰極室の両方の幅方向両側端部および下端部を規定する共通フランジとを備え、
前記隔壁の幅方向両側端部および下端部は、前記陽極室側に折り曲げられていて前記共通フランジに接合されており、
前記陽極の幅方向両側端部または下端部の少なくともいずれかが、前記隔壁の幅方向両側端または下端部に支持されている電解槽ユニット」が提供される。
【0007】
好ましくは、前記陽極の幅方向両側端部および下端部が、前記隔壁の幅方向両側端部および下端部に支持されている。
【0008】
前記共通フランジには、前記陰極室に向かって突出するとともに前記共通フランジの内周に沿って延びる突起が設けられており、前記集電体の幅方向両側端部および下端部は、前記突起に支持されていることが好ましい。
【0009】
前記突起は、前記陰極室の奥行方向に伸縮可能であることが好都合である。
【0010】
また、本発明によれば、上記課題を解決する以下の電解槽ユニットが提供される。すなわち、
「陽極室および陰極室を備える電解槽ユニットであって
前記陽極室に配置された陽極と、
前記陰極室に配置された集電体と、
前記陽極室と前記陰極室とを区画する隔壁と、
前記陽極室および前記陰極室の両方の幅方向両側端部および下端部を規定する共通フランジとを備え、
前記隔壁の幅方向両側端部および下端部は、前記陰極室側に折り曲げられていて前記共通フランジに接合されており、
前記集電体の幅方向両側端部または下端部の少なくともいずれかが、前記隔壁の幅方向両側端部または下端部に支持されている電解槽ユニット」が提供される。
(【0011】以降は省略されています)
この特許をJ-PlatPat(特許庁公式サイト)で参照する
関連特許
株式会社トクヤマ
電解槽ユニット
1日前
株式会社トクヤマ
電解槽ユニット
1日前
株式会社トクヤマデンタル
歯科用色調適合確認材料
29日前
株式会社トクヤマ
ケトン誘導体の製造方法
1か月前
株式会社トクヤマ
有機ケイ素化合物の製造方法
1か月前
株式会社トクヤマ
酸性次亜塩素酸水の製造方法
1か月前
株式会社トクヤマ
チオファニウム塩誘導体の製造方法
1か月前
株式会社トクヤマ
チオファニウム塩臭化物の製造方法
16日前
株式会社トクヤマ
有機ケイ素化合物の製造方法及び濾過装置
1か月前
株式会社トクヤマ
乳頭保護剤および家畜の乳頭を保護する方法
1か月前
株式会社トクヤマ
セメント系硬化体のアルカリ骨材反応の抑制方法
1か月前
株式会社トクヤマ
往復運動装置に係る状態監視装置及びプログラム
1日前
国立大学法人 鹿児島大学
マイクロカプセルの製造方法
1日前
株式会社トクヤマ
Ga又はGa合金と、窒化アルミニウムフィラーとを含む組成物
1か月前
株式会社トクヤマ
9-ヒドロキシリスペリドン脂肪酸エステルの微粒子の製造方法
1日前
株式会社トクヤマ
グリニャ-ル試薬の製造方法、及びアセチルチオケトン誘導体の製造方法
1か月前
株式会社トクヤマ
ハロゲノ-2,4-置換安息香酸誘導体、ベンゾフェノン誘導体、及びハロゲノベンゼン誘導体の製造方法
1か月前
株式会社トクヤマ
(2R)-1-(モルホリン-4-イル)-2-[(オキサン-2-イル)オキシ]プロパン-1-オンの製造方法
16日前
株式会社トクヤマ
テトラフルオロホウ酸チオファニウム塩誘導体、テトラフルオロホウ酸チオファニウム塩誘導体の結晶、及びその製造方法
16日前
株式会社トクヤマ
アセチルチオカルボン酸誘導体及びその製造方法、アセチルチオ酸クロリド誘導体及びその製造方法、アセチルチオケトン誘導体及びその製造方法、並びにチオグリコシド誘導体の製造方法
1か月前
株式会社堤水素研究所
水電解装置
1か月前
株式会社神戸製鋼所
接点材料
29日前
株式会社ケミカル山本
電解研磨装置用電極
1か月前
本田技研工業株式会社
差圧式電解装置
1か月前
SECカーボン株式会社
カソードアセンブリ
2か月前
株式会社荏原製作所
蒸気発電プラント
1か月前
東レ株式会社
液体電解用多孔質輸送層およびその製造方法
29日前
古河電気工業株式会社
端子
1か月前
メルテックス株式会社
極薄電解銅箔及びその製造方法
1か月前
睦技研株式会社
バレルめっき装置
1日前
旭化成株式会社
電解装置の運転方法
1か月前
株式会社デンソー
電解装置
1か月前
三菱マテリアル株式会社
皮膜付端子材及びその製造方法
1か月前
大阪瓦斯株式会社
共電解メタネーション装置
1か月前
大阪瓦斯株式会社
共電解メタネーション装置
1か月前
本田技研工業株式会社
膜電極構造体の製造方法
1か月前
続きを見る
他の特許を見る