TOP
|
特許
|
意匠
|
商標
特許ウォッチ
Twitter
他の特許を見る
10個以上の画像は省略されています。
公開番号
2025177760
公報種別
公開特許公報(A)
公開日
2025-12-05
出願番号
2024084840
出願日
2024-05-24
発明の名称
往復運動装置に係る状態監視装置及びプログラム
出願人
株式会社トクヤマ
代理人
個人
,
個人
,
個人
主分類
G01M
99/00 20110101AFI20251128BHJP(測定;試験)
要約
【課題】デジタルツインを用いて往復運動装置の内部の状態を把握可能な往復運動装置に係る状態監視装置及びプログラムを提供する。
【解決手段】往復運動装置1に係る状態監視装置40は、往復運動装置1におけるケーシングの内部に有する実部品の損傷及び/又は摩耗に係る振動データと同等のデータを、往復運動装置1のデジタルツインを用いて仮想部品について生成し、生成した仮想部品の振動データと実部品の摩耗量及び/又は損傷の程度との対応付けを用いて学習モデルを学習し、稼働中の往復運動装置1から実機の振動データを取得し、学習モデルを用いて取得した実機の振動データから実部品の摩耗状態及び/又は損傷状態を推定し、推定した実部品の摩耗状態及び/又は損傷状態を出力する。
【選択図】図1
特許請求の範囲
【請求項1】
往復運動装置におけるケーシングの内部に有する実部品の損傷及び/又は摩耗に係る振動データと同等のデータを、前記往復運動装置のデジタルツインを用いて仮想部品について生成するデータ生成部と、
前記データ生成部が生成した前記仮想部品の振動データと前記実部品の摩耗量及び/又は損傷の程度との対応付けを用いて学習モデルを学習する学習部と、
稼働中の前記往復運動装置から実機の振動データを取得する振動データ取得部と、
前記学習モデルを用いて、前記振動データ取得部が取得した前記実機の振動データから前記実部品の摩耗状態及び/又は損傷状態を推定する状態推定部と、
前記状態推定部が推定した前記実部品の摩耗状態及び/又は損傷状態を出力する状態出力部と、
を備える、往復運動装置に係る状態監視装置。
続きを表示(約 1,900 文字)
【請求項2】
請求項1に記載の状態監視装置において、
前記データ生成部は、前記ケーシングの内部に有する往復運動部に近傍した前記ケーシングの監視位置における振動に係る波形データを、前記仮想部品の振動データとして生成し、
前記振動データ取得部は、稼働中の前記往復運動装置での前記監視位置における振動に係る波形データを、前記実機の振動データとして取得する、状態監視装置。
【請求項3】
請求項2に記載の状態監視装置において、
前記波形データは、前記往復運動装置及び/又は前記実部品の固有振動数を中心とした特定の周波数範囲で、振動をフィルタリングしたデータである、状態監視装置。
【請求項4】
請求項2に記載の状態監視装置において、
前記データ生成部は、前記往復運動部による1往復分の動作で生じる前記波形データを、前記仮想部品の振動データとして生成し、
前記振動データ取得部は、稼働中の前記往復運動装置による1往復分以上の往復動作で生じる前記波形データを、前記実機の振動データとして取得する、状態監視装置。
【請求項5】
請求項1に記載の状態監視装置において、
前記状態出力部は、前記状態推定部が推定した前記実部品の摩耗状態及び/又は損傷状態を、前記状態推定部により推定する際の一致率と共に出力する、状態監視装置。
【請求項6】
請求項1に記載の状態監視装置において、
前記状態推定部が推定した前記実部品の摩耗状態及び/又は損傷状態と、前記実部品における摩耗量及び/又は損傷の程度の限界値である使用限界値と、前記実部品の使用時間とに基づいて、前記実部品の寿命を予測する寿命予測部を備える、状態監視装置。
【請求項7】
請求項1に記載の状態監視装置において、
稼働中の前記往復運動装置の設計データから物理モデルを生成し、稼働中の前記往復運動装置での前記実機の振動データを用いて、生成した前記物理モデルに対して同定するパラメータを設定して前記デジタルツインを作成するデジタルツイン作成部を備える、状態監視装置。
【請求項8】
往復運動装置に係る状態監視を行うためのコンピュータを、
前記往復運動装置におけるケーシング内部に有する実部品の損傷及び/又は摩耗に係る振動データと同等のデータを、前記往復運動装置のデジタルツインを用いて仮想部品について生成するデータ生成手段と、
前記データ生成手段が生成した前記仮想部品の振動データと前記実部品の摩耗量及び/又は損傷の程度との対応付けを用いて学習モデルを学習する学習手段と、
稼働中の前記往復運動装置から実機の振動データを取得する振動データ取得手段と、
前記学習モデルを用いて、前記振動データ取得手段が取得した前記実機の振動データから前記実部品の摩耗状態及び/又は損傷状態を推定する状態推定手段と、
前記状態推定手段が推定した前記実部品の摩耗状態及び/又は損傷状態を出力する状態出力手段と、
として機能させるためのプログラム。
【請求項9】
往復運動装置に係る状態監視を行う状態監視装置と、
前記往復運動装置におけるケーシングの内部に有する往復運動部に近傍した前記ケーシングの監視位置に設けられた振動センサと、
を備える、状態監視システムであって、
前記状態監視装置は、
前記ケーシングの内部に有する実部品の損傷及び/又は摩耗に係る振動データであって、前記監視位置における振動に係る前記振動データと同等のデータを、前記往復運動装置のデジタルツインを用いて仮想部品について生成するデータ生成部と、
前記データ生成部が生成した前記仮想部品の振動データと前記実部品の摩耗量及び/又は損傷の程度との対応付けを用いて学習モデルを学習する学習部と、
稼働中の前記往復運動装置から実機の振動データを、前記振動センサから取得する振動データ取得部と、
前記学習モデルを用いて、前記振動データ取得部が取得した前記実機の振動データから前記実部品の摩耗状態及び/又は損傷状態を推定する状態推定部と、
前記状態推定部が推定した前記実部品の摩耗状態及び/又は損傷状態を出力する状態出力部と、
を備え、
前記振動センサは、稼働中の前記往復運動装置での前記監視位置における振動を検出し、前記状態監視装置に前記実機の振動データを送信する、状態監視システム。
発明の詳細な説明
【技術分野】
【0001】
本開示は、往復運動装置に係る状態監視装置及びプログラムに関する。
続きを表示(約 3,700 文字)
【背景技術】
【0002】
化学プラントや機械部品製造工場、食品製造工場等においては、空気その他のガスを圧縮するのに往復運動式圧縮機が多く用いられている。この種の往復運動装置では、運転中に予想外の破損が生じ、運転停止に至る等多大な損害が生じている事例がある。そして、その損傷原因の多くは、往復運動式圧縮機のクロスヘッドやピストンロッドの連結部の緩みやピストンリング、ライダーリング、ピストンロッドパッキンといった摺動部の摩耗、基礎部分の剛性低下等が推定される。
そのため、往復運動装置の破損等をモニタリングできる仕組みがあればよいが、往復運動式圧縮機においては、運転中ケーシングに覆われている上に、高速運転を行っており、往復圧縮機内部に発生している繰返し荷重や、各可動部の加速度変動等の実機を用いた測定及び把握が困難である。
また、一般的な回転機器とは異なり、往復運動装置では特徴的な振動が発生しないため、単に振動を測定するだけでは、内部の状態が把握できない。
【0003】
そこで、システムの動特性や各種パラメータ変化に対応した数学モデルを導入し、ケーシングの振動を測定することにより、又は、監視対象部の振動を測定することにより、数学的な解析から運動装置の異常とその故障原因を割り出すことができ、しかも大がかりな装置を必要としない運動装置の状態監視システムが開示されている(例えば、特許文献1参照)。
【先行技術文献】
【特許文献】
【0004】
特許第6444885号公報
【発明の概要】
【発明が解決しようとする課題】
【0005】
上述した特許文献1で開示される技術を用いることで、運動装置の異常とその故障原因を割り出すことができる。しかし、例えば、運動装置における摺動部の摩耗量や部品の損傷の程度までは把握できなかった。
近年、仮想空間上に実物のモデルを作り、仮想空間上でシミュレーションを可能にするデジタルツインが利用されつつある。
【0006】
そこで、本開示は、デジタルツインを用いて往復運動装置の内部の状態を把握可能な往復運動装置に係る状態監視装置及びプログラムを提供することを目的とする。
【課題を解決するための手段】
【0007】
本開示は、以下のような解決手段により前記課題を解決し、目的を達成する。
第1の開示は、往復運動装置におけるケーシングの内部に有する実部品の損傷及び/又は摩耗に係る振動データと同等のデータを、前記往復運動装置のデジタルツインを用いて仮想部品について生成するデータ生成部と、前記データ生成部が生成した前記仮想部品の振動データと前記実部品の摩耗量及び/又は損傷の程度との対応付けを用いて学習モデルを学習する学習部と、稼働中の前記往復運動装置から実機の振動データを取得する振動データ取得部と、前記学習モデルを用いて、前記振動データ取得部が取得した前記実機の振動データから前記実部品の摩耗状態及び/又は損傷状態を推定する状態推定部と、前記状態推定部が推定した前記実部品の摩耗状態及び/又は損傷状態を出力する状態出力部と、を備える、往復運動装置に係る状態監視装置である。
第2の開示は、第1の開示の状態監視装置において、前記データ生成部は、前記ケーシングの内部に有する往復運動部に近傍した前記ケーシングの監視位置における振動に係る波形データを、前記仮想部品の振動データとして生成し、前記振動データ取得部は、稼働中の前記往復運動装置での前記監視位置における振動に係る波形データを、前記実機の振動データとして取得する、状態監視装置である。
第3の開示は、第2の開示の状態監視装置において、前記波形データは、前記往復運動装置及び/又は前記実部品の固有振動数を中心とした特定の周波数範囲で、振動をフィルタリングしたデータである、状態監視装置である。
第4の開示は、第2の開示又は第3の開示の状態監視装置において、前記データ生成部は、前記往復運動部による1往復分の動作で生じる前記波形データを、前記仮想部品の振動データとして生成し、前記振動データ取得部は、稼働中の前記往復運動装置による1往復分以上の往復動作で生じる前記波形データを、前記実機の振動データとして取得する、状態監視装置である。
第5の開示は、第1の開示から第4の開示までのいずれかの状態監視装置において、前記状態出力部は、前記状態推定部が推定した前記実部品の摩耗状態及び/又は損傷状態を、前記状態推定部により推定する際の一致率と共に出力する、状態監視装置である。
第6の開示は、第1の開示から第5の開示までのいずれかの状態監視装置において、前記状態推定部が推定した前記実部品の摩耗状態及び/又は損傷状態と、前記実部品における摩耗量及び/又は損傷の程度の限界値である使用限界値と、前記実部品の使用時間とに基づいて、前記実部品の寿命を予測する寿命予測部を備える、状態監視装置である。
第7の開示は、第1の開示から第6の開示までのいずれかの状態監視装置において、稼働中の前記往復運動装置の設計データから物理モデルを生成し、稼働中の前記往復運動装置での前記実機の振動データを用いて、生成した前記物理モデルに対して同定するパラメータを設定して前記デジタルツインを作成するデジタルツイン作成部を備える、状態監視装置である。
第8の開示は、第1の開示から第7の開示までのいずれかの状態監視装置としてコンピュータを機能させるためのプログラムである。
第9の開示は、往復運動装置に係る状態監視を行う状態監視装置と、前記往復運動装置におけるケーシングの内部に有する往復運動部に近傍した前記ケーシングの監視位置に設けられた振動センサと、を備える、状態監視システムであって、前記状態監視装置は、前記ケーシングの内部に有する実部品の損傷及び/又は摩耗に係る振動データであって、前記監視位置における振動に係る前記振動データと同等のデータを、前記往復運動装置のデジタルツインを用いて仮想部品について生成するデータ生成部と、前記データ生成部が生成した前記仮想部品の振動データと前記実部品の摩耗量及び/又は損傷の程度との対応付けを用いて学習モデルを学習する学習部と、稼働中の前記往復運動装置から実機の振動データを、前記振動センサから取得する振動データ取得部と、前記学習モデルを用いて、前記振動データ取得部が取得した前記実機の振動データから前記実部品の摩耗状態及び/又は損傷状態を推定する状態推定部と、前記状態推定部が推定した前記実部品の摩耗状態及び/又は損傷状態を出力する状態出力部と、を備え、前記振動センサは、稼働中の前記往復運動装置での前記監視位置における振動を検出し、前記状態監視装置に前記実機の振動データを送信する、状態監視システムである。
【発明の効果】
【0008】
本開示によれば、デジタルツインを用いて往復運動装置の内部の状態を把握可能な往復運動装置に係る状態監視装置及びプログラムを提供することができる。
【図面の簡単な説明】
【0009】
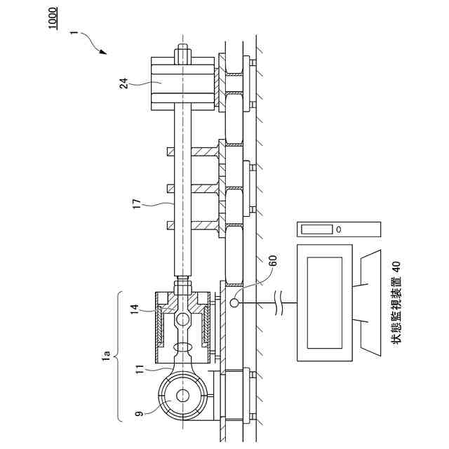
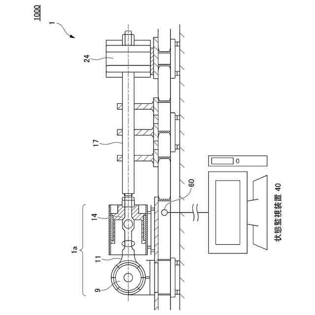
本実施形態に係る状態監視システムの全体構成図である。
本実施形態に係る往復運動装置の一例の縦断正面形を示す図である。
本実施形態に係る状態監視装置の機能ブロック図である。
本実施形態に係る状態監視装置のデジタルツイン構築処理を示すフローチャートである。
本実施形態に係る状態監視装置が構築したデジタルツインの例を示す図である。
本実施形態に係る状態監視装置の学習処理を示すフローチャートである。
本実施形態に係る状態監視装置の状態監視処理を示すフローチャートである。
本実施形態に係る状態監視装置を用いた検証例を説明するための図である。
本実施形態に係る状態監視装置を用いた検証例での波形データの例を示す図である。
本実施形態に係る状態監視装置を用いた検証例での特徴部分を表に示した図である。
本実施形態に係る状態監視装置を用いた検証例での特徴部分をグラフに示した図である。
【発明を実施するための形態】
【0010】
以下、本開示を実施するための形態について、図を参照しながら説明する。なお、これは、あくまでも一例であって、本開示の技術的範囲はこれに限られるものではない。
(実施形態)
〔状態監視システム1000〕
図1は、本実施形態に係る状態監視システム1000の全体構成図である。
図2は、本実施形態に係る往復運動装置1の一例の縦断正面形を示す図である。
(【0011】以降は省略されています)
この特許をJ-PlatPat(特許庁公式サイト)で参照する
関連特許
株式会社トクヤマ
組成物
1か月前
株式会社トクヤマ
水硬性組成物
2か月前
株式会社トクヤマ
電解槽ユニット
2日前
株式会社トクヤマ
窒化ケイ素基板
2か月前
株式会社トクヤマ
窒化ケイ素基板
2か月前
株式会社トクヤマ
電解槽ユニット
2日前
株式会社トクヤマ
石膏粒体のか焼方法
3か月前
株式会社トクヤマ
シリコンエッチング液
1か月前
株式会社トクヤマ
シリコンエッチング液
1か月前
株式会社トクヤマデンタル
歯科用色調適合確認材料
1か月前
株式会社トクヤマ
ケトン誘導体の製造方法
1か月前
株式会社トクヤマ
酸性次亜塩素酸水の製造方法
1か月前
株式会社トクヤマ
有機ケイ素化合物の製造方法
1か月前
株式会社トクヤマ
チオラクトン誘導体の製造方法
2か月前
株式会社トクヤマ
改質フライアッシュの製造方法
1か月前
株式会社トクヤマ
チオファニウム塩誘導体の製造方法
1か月前
株式会社トクヤマ
チオファニウム塩臭化物の製造方法
17日前
株式会社トクヤマデンタル
歯科用硬化性組成物およびその製造方法
2か月前
株式会社トクヤマ
廃石膏粒体の貯蔵方法および貯蔵システム
3か月前
株式会社トクヤマ
有機ケイ素化合物の製造方法及び濾過装置
1か月前
株式会社トクヤマ
乳頭保護剤および家畜の乳頭を保護する方法
1か月前
株式会社トクヤマ
往復運動装置に係る状態監視装置及びプログラム
2日前
株式会社トクヤマ
廃石膏ボードから紙片と石膏粒体を回収する方法
3か月前
株式会社トクヤマ
セメント系硬化体のアルカリ骨材反応の抑制方法
1か月前
株式会社トクヤマ
垂直循環バケットコンベヤによる粉粒体の搬送方法
3か月前
株式会社トクヤマ
ジオポリマー組成物及びジオポリマー組成物の製造方法
1か月前
国立大学法人 鹿児島大学
マイクロカプセルの製造方法
2日前
株式会社トクヤマデンタル
ポリウレタン系歯科切削加工用ミルブランクとその製造方法
1か月前
株式会社トクヤマ
高純度水酸化テトラアルキルアンモニウム水溶液の製造方法
2か月前
株式会社トクヤマ
Ga又はGa合金と、窒化アルミニウムフィラーとを含む組成物
1か月前
株式会社トクヤマ
9-ヒドロキシリスペリドン脂肪酸エステルの微粒子の製造方法
2日前
株式会社トクヤマデンタル
多成分系液状組成物調整キットの製造方法、及びこれに用いる治具
3か月前
株式会社トクヤマ
縞状流体の形成方法、化学物質の製造方法、及び縞状流体の形成装置
3か月前
株式会社トクヤマ
窒化アルミニウム焼結基板、その製造方法および電子回路用絶縁基板
2か月前
株式会社トクヤマ
デリバリー用複合粒子、ならびにその製造方法およびその製造キット
2か月前
株式会社トクヤマ
縞状流体の形成方法、化学物質の製造方法、及び縞状流体の形成装置
1か月前
続きを見る
他の特許を見る