TOP
|
特許
|
意匠
|
商標
特許ウォッチ
Twitter
他の特許を見る
公開番号
2025158727
公報種別
公開特許公報(A)
公開日
2025-10-17
出願番号
2024061557
出願日
2024-04-05
発明の名称
有機ケイ素化合物の製造方法及び濾過装置
出願人
株式会社トクヤマ
代理人
弁理士法人秀和特許事務所
主分類
C07F
7/18 20060101AFI20251009BHJP(有機化学)
要約
【課題】簡便な方法で効率的に副生塩の濾過が可能な、コスト面で優れた有機ケイ素化合物の製造方法及び濾過装置を提供すること。
【解決手段】有機ケイ素化合物の製造方法であって、ハロゲン化ケイ素化合物とアルコールとを反応させてアルコキシシランを含む液体又はスラリーを得る反応工程を有し、収容容器中で攪拌羽根を上下運動させることにより前記液体又はスラリーを攪拌しながら前記反応工程で生じた塩を濾過する濾過工程を有し、前記収容容器が、その底部に前記塩を濾過する濾過部材、及び前記濾過部材を前記収容容器底部に固定する固定部材を有する、有機ケイ素化合物の製造方法。
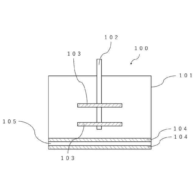
【選択図】図1
特許請求の範囲
【請求項1】
有機ケイ素化合物の製造方法であって、
ハロゲン化ケイ素化合物とアルコールとを反応させてアルコキシシランを含む液体又はスラリーを得る反応工程を有し、
収容容器中で攪拌羽根を上下運動させることにより前記液体又はスラリーを攪拌しながら前記反応工程で生じた塩を濾過する濾過工程を有し、
前記収容容器が、その底部に前記塩を濾過する濾過部材、及び前記濾過部材を前記収容容器底部に固定する固定部材を有する、
有機ケイ素化合物の製造方法。
続きを表示(約 770 文字)
【請求項2】
前記攪拌羽根が、略円板形状又は略円錐形状を有する、請求項1に記載の有機ケイ素化合物の製造方法。
【請求項3】
前記収容容器中最も下に位置する前記攪拌羽根の下面の面積が、前記収容容器の底面積の30%以上90%以下である、請求項1に記載の有機ケイ素化合物の製造方法。
【請求項4】
前記濾過工程において、前記攪拌羽根が0.2/s以上4.0/s以下の周期で上下運動をする、請求項1に記載の有機ケイ素化合物の製造方法。
【請求項5】
前記攪拌羽根が略円錐形状であり、前記攪拌羽根の底面と母線とがなす角度が1°以上30°以下である、請求項1に記載の有機ケイ素化合物の製造方法。
【請求項6】
前記攪拌羽根がシャフトに取り付けられ、前記シャフトがガスにより駆動される、請求項1に記載の有機ケイ素化合物の製造方法。
【請求項7】
前記固定部材が、厚さ方向に貫通する貫通孔が形成された、2つ以上の板状部材からなり、
前記2つ以上の板状部材が上下方向から前記濾過部材を挟持する、請求項1に記載の有機ケイ素化合物の製造方法。
【請求項8】
前記固定部材の開口率が、20%以上80%以下である、請求項7に記載の有機ケイ素化合物の製造方法。
【請求項9】
前記固定部材が略円板形状を有し、前記固定部材の半径500mmに対する撓み量が10.0mm以下である、請求項1に記載の有機ケイ素化合物の製造方法。
【請求項10】
前記固定部材が、金属材及び金属に樹脂が被覆された材料からなる群より選ばれる少なくとも1つにより形成されている、請求項1に記載の有機ケイ素化合物の製造方法。
(【請求項11】以降は省略されています)
発明の詳細な説明
【技術分野】
【0001】
本発明は、有機ケイ素化合物の製造方法及び濾過装置に関する。
続きを表示(約 4,300 文字)
【背景技術】
【0002】
有機ケイ素化合物は幅広い分野で用いられており、例えば、材料工学分野、光学分野、医薬品分野、又は農芸分野等の分野において、重要な化合物として注目されている。
有機ケイ素化合物の製造においては、その用途に応じて構造を制御することが重要である。所望の構造を有する有機ケイ素化合物を得るための方法の一つとして、グリニャール反応を利用した合成方法が知られている。グリニャール反応は、マグネシウムと有機ハロゲン化物の反応により生じるグリニャール試薬を用いた反応であり、該反応を利用することにより有機ケイ素化合物中のケイ素元素に所望の有機基等を付加することができる。
例えば、特許文献1には、ジクロロシランと特定の構造を有するグリニャール試薬とを反応させることによりジアルキルジアルコキシシランを製造する方法が開示されている。
【0003】
このような有機ケイ素化合物の製造では通常、所望の反応を進行させ、効率的に製造を行うために、攪拌手段を備えた反応装置が用いられる。反応装置の一例として、特許文献2に記載されているような、回転軸を中心に攪拌翼が旋回することで反応装置内の液体を攪拌する反応装置がある。
また、特許文献3には、回転軸に取り付けられた装置から液体を噴出することで、攪拌層内の液体を循環させる装置が開示されている。
【先行技術文献】
【特許文献】
【0004】
特開平09-012584号公報
特開2018-104797号公報
国際公開第2002/026374号
【発明の概要】
【発明が解決しようとする課題】
【0005】
しかしながら、有機ケイ素化合物を製造する場合において、その反応工程に特定の反応、特にアルコキシ化反応が含まれる場合、多量の副生塩が生じ、反応液が高粘度の液体又はスラリーとなる場合がある。
そのため、所望の有機ケイ素化合物を得るためには、副生塩を濾過等の手段で除去する必要があるが、製造効率やコストの観点から、簡便かつ効率的な濾過手段が求められる。
特許文献2に記載された装置のような、回転式の攪拌翼(攪拌羽根)で攪拌しながら濾過を行う場合、高粘度の液体又はスラリーを効率的に攪拌及び濾過するためには、大型の攪拌翼が必要であったり、攪拌翼及び攪拌槽について複雑な形状の設計が必要となり、製造コストの観点から改善の余地がある。
また、特許文献3に記載された装置のような、液体を噴出することで循環を行う装置の場合も、装置自体のコストがかかるほか、攪拌効率が十分でなく、改善の余地がある。
そこで本発明は、簡便な方法で効率的に副生塩の濾過が可能な、コスト面で優れた有機ケイ素化合物の製造方法及び濾過装置を提供することを課題とする。
【課題を解決するための手段】
【0006】
本発明者らは鋭意検討を行った結果、所定の攪拌手段を備えた濾過装置を用いて濾過を行うことで、上記課題を解決できることを見出した。
【0007】
すなわち、本発明の要旨は、具体的には以下の通りである。
<1> 有機ケイ素化合物の製造方法であって、
ハロゲン化ケイ素化合物とアルコールとを反応させてアルコキシシランを含む液体又はスラリーを得る反応工程を有し、
収容容器中で攪拌羽根を上下運動させることにより前記液体又はスラリーを攪拌しながら前記反応工程で生じた塩を濾過する濾過工程を有し、
前記収容容器が、その底部に前記塩を濾過する濾過部材、及び前記濾過部材を前記収容容器底部に固定する固定部材を有する、
有機ケイ素化合物の製造方法。
<2> 前記攪拌羽根が、略円板形状又は略円錐形状を有する、<1>に記載の有機ケイ素化合物の製造方法。
<3> 前記収容容器中最も下に位置する前記攪拌羽根の下面の面積が、前記収容容器の底面積の30%以上90%以下である、<1>又は<2>に記載の有機ケイ素化合物の製造方法。
<4> 前記濾過工程において、前記攪拌羽根が0.2/s以上4.0/s以下の周期で上下運動をする、<1>~<3>のいずれかに記載の有機ケイ素化合物の製造方法。
<5> 前記攪拌羽根が略円錐形状であり、前記攪拌羽根の底面と母線とがなす角度が1°以上30°以下である、<1>~<4>のいずれかに記載の有機ケイ素化合物の製造方法。
<6> 前記攪拌羽根がシャフトに取り付けられ、前記シャフトがガスにより駆動される、<1>~<5>のいずれかに記載の有機ケイ素化合物の製造方法。
<7> 前記固定部材が、厚さ方向に貫通する貫通孔が形成された、2つ以上の板状部材からなり、
前記2つ以上の板状部材が上下方向から前記濾過部材を挟持する、<1>~<6>のいずれかに記載の有機ケイ素化合物の製造方法。
<8> 前記固定部材の開口率が、20%以上80%以下である、<7>に記載の有機ケイ素化合物の製造方法。
<9> 前記固定部材が略円板形状を有し、前記固定部材の半径500mmに対する撓み量が10.0mm以下である、<1>~<8>のいずれかに記載の有機ケイ素化合物の製造方法。
<10> 前記固定部材が、金属材及び金属に樹脂が被覆された材料からなる群より選ばれる少なくとも1つにより形成されている、<1>~<9>のいずれかに記載の有機ケイ素化合物の製造方法。
<11> 前記濾過部材が、1μm以上20μm以下の粒子保持能を有する濾紙である、<1>~<10>のいずれかに記載の有機ケイ素化合物の製造方法。
<12> 前記濾過部材を通過した濾液を回収容器に回収する回収工程をさらに有し、
前記収容容器内の液体又はスラリーの容量が前記収容容器の容量に対して50%以下となったときに、回収工程で回収された前記濾液を前記収容容器に供給する再供給工程をさらに有する、<1>~<11>のいずれかに記載の有機ケイ素化合物の製造方法。
<13> 液体又はスラリーを収容する収容容器、
攪拌羽根、
前記収容容器の底部に設けられる濾過部材、及び
前記濾過部材を前記収容容器底部に固定する固定部材を有し、
前記収容容器中で前記攪拌羽根が上下運動をすることにより、前記液体又はスラリーを攪拌可能である、濾過装置。
<14> 前記攪拌羽根が、略円板形状又は略円錐形状を有する、<13>に記載の濾過装置。
<15> 前記収容容器中最も下に位置する前記攪拌羽根の下面の面積が、前記収容容器の底面積の30%以上90%以下である、<13>又は<14>に記載の濾過装置。
<16> 前記攪拌羽根が0.2/s以上4.0/s以下の周期で上下運動をする、<1
3>~<15>のいずれかに記載の濾過装置。
<17> 前記攪拌羽根が略円錐形状であり、前記攪拌羽根の底面と母線とがなす角度が1°以上30°以下である、<13>~<16>のいずれかに記載の濾過装置。
<18> 前記攪拌羽根がシャフトに取り付けられ、前記シャフトがガスにより駆動される、<13>~<17>のいずれかに記載の濾過装置。
<19> 前記固定部材が、厚さ方向に貫通する貫通孔が形成された、2つ以上の板状部材からなり、
前記2つ以上の板状部材が上下方向から前記濾過部材を挟持する、<13>~<18>のいずれかに記載の濾過装置。
<20> 前記固定部材の開口率が、20%以上80%以下である、<19>に記載の濾過装置。
<21> 前記固定部材が略円板形状を有し、前記固定部材の半径500mmに対する撓み量が10.0mm以下である、<13>~<20>のいずれかに記載の濾過装置。
<22> 前記固定部材が、金属材及び金属に樹脂が被覆された材料からなる群より選ばれる少なくとも1つにより形成されている、<13>~<21>のいずれかに記載の濾過装置。
<23> 前記濾過部材が、1μm以上20μm以下の粒子保持能を有する濾紙である、<13>~<22>のいずれかに記載の濾過装置。
<24> 前記濾過部材を通過した濾液を回収する回収容器をさらに有し、
前記収容容器内の液体又はスラリーの容量が前記収容容器の容量に対して50%以下となったときに、回収容器に回収された前記濾液を前記収容容器に再供給する供給装置をさらに有する、<13>~<23>のいずれかに記載の濾過装置。
【発明の効果】
【0008】
本発明の一実施形態によれば、簡便な方法で効率的に副生塩の濾過が可能な、コスト面で優れた有機ケイ素化合物の製造方法が提供される。
また、本発明の一実施形態によれば、簡便な方法で効率的に副生塩の濾過が可能な、コスト面で優れた濾過装置が提供される。
【図面の簡単な説明】
【0009】
図1は、本発明の一実施形態に係る濾過装置の一例を示す断面模式図である。
図2は、本発明の一実施形態に係るシャフト及び攪拌羽根の概略図である。
図3は、本発明の一実施形態に係る攪拌羽根の形状を説明するための断面模式図である。
図4は、本発明の一実施形態に係る濾過部材の一例を垂直方向から見た模式図である。
【発明を実施するための形態】
【0010】
以下に本発明の実施形態を詳細に説明するが、本発明はその要旨を超えない限りこれらの内容に限定されない。また、本発明は、その要旨を逸脱しない範囲内で任意に変更して実施することができる。さらに、数値範囲が段階的に記載されている場合、各数値範囲の上限及び下限は任意に組み合わせることができる。
また、本明細書における「A又はB」の表現は、「A及びBからなる群から選択される少なくとも1つ」と読み替えてもよい。
また、本明細書における「Aの量に対するBの量」の表現は、「Bの量/Aの量」を表す。
また、本明細書では複数の実施形態を説明するが、適用できる範囲で各実施形態における種々の条件を互いに適用し得る。
(【0011】以降は省略されています)
この特許をJ-PlatPat(特許庁公式サイト)で参照する
関連特許
株式会社トクヤマ
組成物
2か月前
株式会社トクヤマ
水硬性組成物
2か月前
株式会社トクヤマ
電解槽ユニット
3日前
株式会社トクヤマ
窒化ケイ素基板
2か月前
株式会社トクヤマ
窒化ケイ素基板
2か月前
株式会社トクヤマ
電解槽ユニット
3日前
株式会社トクヤマ
石膏粒体のか焼方法
3か月前
株式会社トクヤマ
シリコンエッチング液
1か月前
株式会社トクヤマ
シリコンエッチング液
1か月前
株式会社トクヤマデンタル
歯科用色調適合確認材料
1か月前
株式会社トクヤマ
ケトン誘導体の製造方法
1か月前
株式会社トクヤマ
酸性次亜塩素酸水の製造方法
1か月前
株式会社トクヤマ
有機ケイ素化合物の製造方法
1か月前
株式会社トクヤマ
チオラクトン誘導体の製造方法
2か月前
株式会社トクヤマ
改質フライアッシュの製造方法
2か月前
株式会社トクヤマ
チオファニウム塩誘導体の製造方法
1か月前
株式会社トクヤマ
チオファニウム塩臭化物の製造方法
18日前
株式会社トクヤマデンタル
歯科用硬化性組成物およびその製造方法
2か月前
株式会社トクヤマ
廃石膏粒体の貯蔵方法および貯蔵システム
3か月前
株式会社トクヤマ
有機ケイ素化合物の製造方法及び濾過装置
1か月前
株式会社トクヤマ
乳頭保護剤および家畜の乳頭を保護する方法
1か月前
株式会社トクヤマ
往復運動装置に係る状態監視装置及びプログラム
3日前
株式会社トクヤマ
廃石膏ボードから紙片と石膏粒体を回収する方法
3か月前
株式会社トクヤマ
セメント系硬化体のアルカリ骨材反応の抑制方法
1か月前
株式会社トクヤマ
垂直循環バケットコンベヤによる粉粒体の搬送方法
3か月前
株式会社トクヤマ
ジオポリマー組成物及びジオポリマー組成物の製造方法
2か月前
国立大学法人 鹿児島大学
マイクロカプセルの製造方法
3日前
株式会社トクヤマデンタル
ポリウレタン系歯科切削加工用ミルブランクとその製造方法
1か月前
株式会社トクヤマ
高純度水酸化テトラアルキルアンモニウム水溶液の製造方法
2か月前
株式会社トクヤマ
Ga又はGa合金と、窒化アルミニウムフィラーとを含む組成物
1か月前
株式会社トクヤマ
9-ヒドロキシリスペリドン脂肪酸エステルの微粒子の製造方法
3日前
株式会社トクヤマデンタル
多成分系液状組成物調整キットの製造方法、及びこれに用いる治具
3か月前
株式会社トクヤマ
縞状流体の形成方法、化学物質の製造方法、及び縞状流体の形成装置
3か月前
株式会社トクヤマ
窒化アルミニウム焼結基板、その製造方法および電子回路用絶縁基板
2か月前
株式会社トクヤマ
デリバリー用複合粒子、ならびにその製造方法およびその製造キット
2か月前
株式会社トクヤマ
縞状流体の形成方法、化学物質の製造方法、及び縞状流体の形成装置
2か月前
続きを見る
他の特許を見る