TOP
|
特許
|
意匠
|
商標
特許ウォッチ
Twitter
他の特許を見る
公開番号
2025151515
公報種別
公開特許公報(A)
公開日
2025-10-09
出願番号
2024052985
出願日
2024-03-28
発明の名称
皮膜付端子材及びその製造方法
出願人
三菱マテリアル株式会社
代理人
個人
主分類
C25D
3/46 20060101AFI20251002BHJP(電気分解または電気泳動方法;そのための装置)
要約
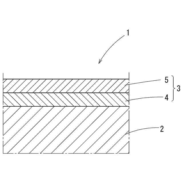
【課題】基材の強度が低い場合でも、耐摩耗性に優れる皮膜付端子材を提供する。
【解決手段】銅又は銅合金からなる基材と、その基材の上に0.2μm以上5.0μm以下の厚さで形成されたニッケル又はニッケル合金からなるニッケル層と、そのニッケル層の少なくとも一部の最表面に形成された銀合金層と、を備え、銀合金層は、Nを3質量%以上25質量%以下含有するとともに、残部にC,S,Kを、その総量がNの含有量を超えない範囲で含有し、かつ、Nに対するSの含有量比S/Nが0.05以上0.1以下であり、銀合金層の厚さが0.1μm以上5.0μm以下である。
【選択図】図1
特許請求の範囲
【請求項1】
銅又は銅合金からなる基材と、その基材の上に0.2μm以上5.0μm以下の厚さで形成されたニッケル又はニッケル合金からなるニッケル層と、そのニッケル層の少なくとも一部の最表面に形成された銀合金層と、を備え、
前記銀合金層は、Nを3質量%以上25質量%以下含有するとともに、残部にC,S,Kを、その総量が前記Nの含有量を超えない範囲で含有し、かつ、Nに対するSの含有量比S/Nが0.05以上0.1以下であり、
前記銀合金層の厚さが0.1μm以上5.0μm以下であることを特徴とする皮膜付端子材。
続きを表示(約 630 文字)
【請求項2】
銀の純度が98.5質量%以上99.5質量%以下で厚さが0.2μm以上5.0μm以下の下地銀層をさらに有し、前記銀合金層は、前記下地銀層の上に形成されていることを特徴とする請求項1に記載の皮膜付端子材。
【請求項3】
皮膜付端子材を製造する方法であって、銅又は銅合金からなる基材の上にニッケル又はニッケル合金からなる0.2μm以上5.0μm以下の厚さのニッケル層を形成するニッケル層形成工程と、前記ニッケル層の上に0.1μm以上5.0μm以下の厚さの銀合金層をめっきにより形成する銀合金層形成工程とを有し、
該銀合金形成工程は、シアン化銀(AgCN)を45g/L以上55g/L以下、シアン化カリウム (KCN)を110g/L以上130g/L以下、炭酸カリウム(K
2
CO
3
)を10g/L以上20g/L以下、トリアジン環に1つ以上のチオール基もしくはチオレート基、スルフィド基を含む有機化合物またはその誘導体を含んだ添加剤をX剤とし、ビスムチオールをY剤とすると、X剤を0.2g/L以上10g/L以下、Y剤を0.08g/L以上5g/L以下含有し、X剤とY剤の含有比率をX/Yとすると、X/Yが0.1以上50以下としためっき浴を用い、電流密度が2A/dm
2
以上8A/dm
2
以下の電流密度で電解めっきすることを特徴とする皮膜付端子材の製造方法。
発明の詳細な説明
【技術分野】
【0001】
本発明は、車載用端子等に好適に適用され、低摩擦かつ耐摩耗性に優れた皮膜付端子材に関する。
続きを表示(約 1,600 文字)
【背景技術】
【0002】
従来、自動車の信号系および電源系の電気部品に接続するコネクタ端子は、一般的に銅または銅合金からなる基材上に錫めっきを施し、リフロー処理を行った錫層付き端子材が多く用いられていた。しかし近年自動車の電動化率が増加したことに伴い、より電流を多く流すことができる貴金属めっきを施した端子の用途が増加している。
【0003】
車載用端子の貴金属めっきとして、特許文献1のようにシアン浴を用いて銀めっきを基材に施す方法があった。
しかし、銀めっきは柔らかいため耐摩耗性が悪く、銀めっき膜を厚くする必要があり、コスト面での問題があった。さらに特許文献2のように、銀又は銀合金層の上に最表層としてビッカース硬度HV140以上の銀合金層を形成する方法があるが、耐摩耗性はまだ不足していた。
【0004】
また貴金属めっきによる皮膜が求められることが多い高圧向け端子材の基材には、銅開発協会(CDA)に規定されるC10200の純銅材が用いられることが多く、この銅材は硬さがHV100以下であり、この上にめっき処理を施しても基材が柔らかいために、めっき膜を硬くして耐摩耗性を向上させようとしても、それほど効果は得られない。
そこで特許文献3のようにアルカリ性のシアン浴を用いて、基材に非常に硬い銀錫合金めっきを施して耐摩耗性を上げる手法もあるが、硬すぎるために加工性が悪い。
【先行技術文献】
【特許文献】
【0005】
特開2008-169408号公報
特開2009-79250号公報
特開2015-183216号公報
【発明の概要】
【発明が解決しようとする課題】
【0006】
耐摩耗性に劣る銀めっき膜の耐摩耗性を上げるためにめっき膜全体を非常に硬くしても、割れの問題があり、純銅材(C10200)を基材にするとめっき膜を硬くしても耐摩耗性を向上させる効果が著しく失われる。
【0007】
本発明は、このような事情に鑑みてなされたもので、基材の強度が低い場合でも、低摩擦かつ耐摩耗性に優れる皮膜付端子材を提供することを目的とする。
【課題を解決するための手段】
【0008】
本発明の皮膜付端子材は、銅又は銅合金からなる基材と、その基材の上に0.2μm以上5.0μm以下の厚さで形成されたニッケル又はニッケル合金からなるニッケル層と、そのニッケル層の少なくとも一部の最表面に形成された銀合金層と、を備え、
前記銀合金層は、Nを3質量%以上25質量%以下含有するとともに、残部にC,S,Kを、その総量が前記Nの含有量を超えない範囲で含有し、かつ、Nに対するSの含有量比S/Nが0.05以上0.1以下であり、
前記銀合金層の厚さが0.1μm以上5.0μm以下である。
【0009】
本発明の皮膜付端子材において表面に設けられる銀合金層は、硬質銀のように硬くはないが、潤滑性に優れ、摩擦係数が低い。したがって、端子材として耐摩耗性が著しく向上する。また、Nを含有しているが、接触抵抗は純銀めっき層と同様に低く、高温環境下においても低い接触抵抗を維持することができる。
この場合、Nの含有量が3質量%未満では、潤滑性が失われ、摩擦係数が高くなり、耐摩耗性が低下する。Nの含有量が25質量%を超えると、銀合金層が脆くなり、加工時に割れやすくなる。また、C,S,Kの総含有量がNの含有量を超えると、潤滑性が失われ、摩擦係数が高くなり、耐摩耗性が低下する。
【0010】
なお、S/Nを0.05以上0.1以下としたのは、S/Nが0.05未満では摩擦係数が高くなり、耐摩耗性が低下し、0.1を超えると銀合金層が割れやすくなる。
(【0011】以降は省略されています)
この特許をJ-PlatPat(特許庁公式サイト)で参照する
関連特許
株式会社カネカ
可撓性ガス拡散電極
1か月前
本田技研工業株式会社
電解装置
1か月前
株式会社東芝
アルマイト処理方法
1か月前
本田技研工業株式会社
水電解スタック
1か月前
本田技研工業株式会社
差圧式電解装置
12日前
一般財団法人電力中央研究所
電解反応装置
1か月前
SECカーボン株式会社
カソードアセンブリ
28日前
本田技研工業株式会社
CO2電解装置
1か月前
本田技研工業株式会社
電気化学スタック
1か月前
株式会社荏原製作所
蒸気発電プラント
25日前
メルテックス株式会社
極薄電解銅箔及びその製造方法
18日前
本田技研工業株式会社
電解セルの製造方法
1か月前
古河電気工業株式会社
端子
26日前
NOK株式会社
セルユニット
1か月前
三菱マテリアル株式会社
皮膜付端子材及びその製造方法
26日前
旭化成株式会社
電解装置の運転方法
14日前
株式会社豊田中央研究所
電極
1か月前
NOK株式会社
セルユニット
1か月前
NOK株式会社
セルユニット
1か月前
ナミックス株式会社
銅部材
1か月前
NOK株式会社
セルユニット
1か月前
株式会社神戸製鋼所
導電材料およびその製造方法
1か月前
大阪瓦斯株式会社
共電解メタネーション装置
11日前
大阪瓦斯株式会社
共電解メタネーション装置
11日前
本田技研工業株式会社
膜電極構造体の製造方法
26日前
三菱重工業株式会社
皮膜形成装置
25日前
東京瓦斯株式会社
水電解システム
1か月前
JX金属株式会社
電着金属の搬送システム及び搬送方法
11日前
本田技研工業株式会社
電気化学式水素昇圧システム
1か月前
本田技研工業株式会社
電気化学式水素昇圧システム
21日前
株式会社デンソー
セル制御システム
25日前
株式会社東芝
電解装置及び電解方法
1か月前
株式会社アイシン
電解システム
27日前
株式会社アイシン
電解システム
26日前
日本特殊陶業株式会社
ホットモジュール
26日前
三菱マテリアル株式会社
めっき皮膜付銅端子材及びその製造方法
1か月前
続きを見る
他の特許を見る