TOP
|
特許
|
意匠
|
商標
特許ウォッチ
Twitter
他の特許を見る
公開番号
2025141207
公報種別
公開特許公報(A)
公開日
2025-09-29
出願番号
2024041044
出願日
2024-03-15
発明の名称
可撓性ガス拡散電極
出願人
株式会社カネカ
代理人
個人
,
個人
主分類
C25B
11/032 20210101AFI20250919BHJP(電気分解または電気泳動方法;そのための装置)
要約
【課題】本発明は、可撓性を有し、かつ従来に比べて塑性変形しにくい可撓性ガス拡散電極を提供する。
【解決手段】複数の貫通孔をもち、面状に広がりを持った芯材部と、芯材部の周囲を被覆した被覆層を有したガス拡散基材と、ガス拡散基材の第1主面に担持された複数の触媒粒子を有した触媒層を有し、被覆層は、降伏応力が芯材部よりも大きく、かつ、弾性率が芯材部よりも小さい構成とする。
【選択図】図1
特許請求の範囲
【請求項1】
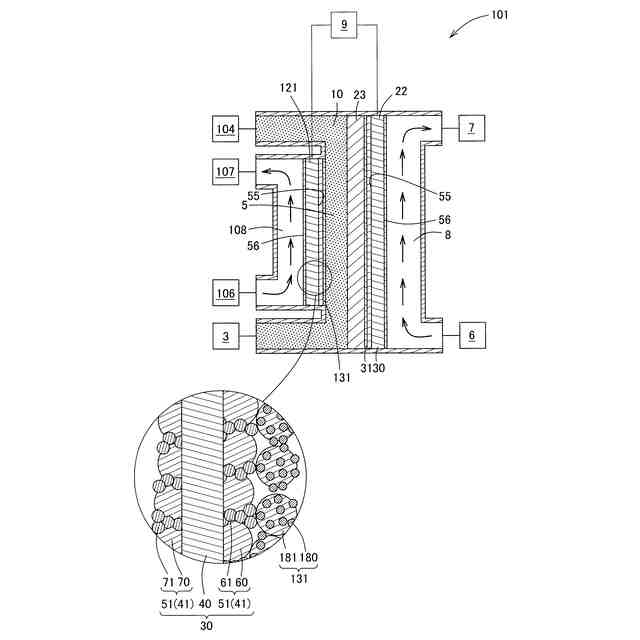
複数の貫通孔をもち、面状に広がりを持った芯材部と、前記芯材部の周囲を被覆した被覆層を有したガス拡散基材と、前記ガス拡散基材の第1主面に担持された複数の触媒粒子を有した触媒層を有し、
前記被覆層は、降伏応力が前記芯材部よりも大きく、かつ、弾性率が前記芯材部よりも小さい、可撓性ガス拡散電極。
続きを表示(約 590 文字)
【請求項2】
前記被覆層は、導電粒子を含んでいる、請求項1に記載の可撓性ガス拡散電極。
【請求項3】
前記ガス拡散基材を断面視したときに、前記ガス拡散基材と前記触媒層とに跨る1μm
2
の領域において前記触媒層を構成する触媒粒子のうち、95%以上の触媒粒子は、前記ガス拡散基材又は隣接する触媒粒子と直接固着又は融着している、請求項1又は2に記載の可撓性ガス拡散電極。
【請求項4】
前記触媒粒子は、銅粒子である、請求項1又は2に記載の可撓性ガス拡散電極。
【請求項5】
前記芯材部は、複数の繊維が織られて構成されている、請求項1又は2に記載の可撓性ガス拡散電極。
【請求項6】
前記被覆層は、前記芯材部の第1主面側を覆う第1被覆部と、前記芯材部の第2主面側を覆う第2被覆部を有し、
前記第2被覆部は、前記芯材部の第2主面の大部分を覆っている、請求項5に記載の可撓性ガス拡散電極。
【請求項7】
複数の貫通孔をもち、面状に広がりを持った芯材部と、前記芯材部の周囲を被覆した被覆層を有したガス拡散基材と、前記ガス拡散基材の第1主面に担持された複数の触媒粒子を有した触媒層を有し、
前記芯材部が炭素紙であるものに比べて降伏応力が大きい、可撓性ガス拡散電極。
発明の詳細な説明
【技術分野】
【0001】
本発明は、主に電解装置の電極に使用される可撓性ガス拡散電極に関する。
続きを表示(約 1,200 文字)
【背景技術】
【0002】
近年、カーボンニュートラル社会の実現に向けて、二酸化炭素を電気分解して炭素化合物を生成する電解装置が開発されている(例えば、特許文献1)。
例えば、特許文献1に記載の電解装置では、カソード電極としてガス拡散電極を使用し、電気化学反応により、カソード電極において二酸化炭素を還元し、炭素化合物を含む還元生成物を生成することが可能となっている。
【先行技術文献】
【特許文献】
【0003】
特開2023-140042号公報
【発明の概要】
【発明が解決しようとする課題】
【0004】
ところで、工業的に電解装置によって炭素化合物を生産する場合には、ガス拡散電極の大型化が必要である。
しかしながら、特許文献1のガス拡散電極では、ガス拡散層としてカーボンペーパーやカーボンクロスを使用しているため、大型化することができない問題がある。すなわち、特許文献1のガス拡散電極は、そのまま大型化すると、ガス拡散電極を電解装置に設置したときに重力によってガス拡散層に撓み等が生じる場合がある。
特許文献1のガス拡散層では、このような撓み等が生じると、降伏応力が十分でないため、ガス拡散層が降伏応力を超えて屈曲して塑性変形してしまい、不可逆的に折れてしまう問題がある。一度、ガス拡散層に折れが発生すると、局所的に強度が弱い部分ができてしまうので、稼働時に折れの部分が破れてしまうおそれがあった。
【0005】
そこで、本発明は、可撓性を有し、かつ従来に比べて塑性変形しにくい可撓性ガス拡散電極を提供することを課題とする。
【課題を解決するための手段】
【0006】
上記した課題を解決するための本発明の一つの様相は、複数の貫通孔をもち、面状に広がりを持った芯材部と、前記芯材部の周囲を被覆した被覆層を有したガス拡散基材と、前記ガス拡散基材の第1主面に担持された複数の触媒粒子を有した触媒層を有し、前記被覆層は、降伏応力が前記芯材部よりも大きく、かつ、弾性率が前記芯材部よりも小さい、可撓性ガス拡散電極である。
【0007】
ここでいう「降伏応力」とは、材料の塑性が開始する応力をいう。
【0008】
本様相によれば、降伏応力が大きい被覆層によって芯材部を補強しているため、従来に比べて塑性変形しにくい。
本様相によれば、芯材部が被覆層よりも弾性率が大きいため、撓み等が発生しても形状を維持することができる。
【0009】
好ましい様相は、前記被覆層は、導電粒子を含んでいる。
【0010】
本様相によれば、ガス拡散基材側から被覆層を介して触媒層の触媒粒子につながる導電パスを確保できる。
(【0011】以降は省略されています)
この特許をJ-PlatPat(特許庁公式サイト)で参照する
関連特許
株式会社カネカ
カテーテル
10日前
株式会社カネカ
カテーテル
10日前
株式会社カネカ
自動植毛装置
17日前
株式会社カネカ
イチュリン含有組成物
10日前
株式会社カネカ
サイトカイン増強間葉系幹細胞の製造方法
2日前
株式会社堤水素研究所
水電解装置
1か月前
株式会社神戸製鋼所
接点材料
29日前
株式会社ケミカル山本
電解研磨装置用電極
1か月前
本田技研工業株式会社
水電解スタック
2か月前
本田技研工業株式会社
差圧式電解装置
1か月前
一般財団法人電力中央研究所
電解反応装置
2か月前
本田技研工業株式会社
CO2電解装置
2か月前
東レ株式会社
液体電解用多孔質輸送層およびその製造方法
29日前
SECカーボン株式会社
カソードアセンブリ
2か月前
株式会社荏原製作所
蒸気発電プラント
1か月前
古河電気工業株式会社
端子
1か月前
メルテックス株式会社
極薄電解銅箔及びその製造方法
1か月前
三菱マテリアル株式会社
皮膜付端子材及びその製造方法
1か月前
旭化成株式会社
電解装置の運転方法
1か月前
睦技研株式会社
バレルめっき装置
1日前
株式会社デンソー
電解装置
1か月前
大阪瓦斯株式会社
共電解メタネーション装置
1か月前
本田技研工業株式会社
膜電極構造体の製造方法
1か月前
大阪瓦斯株式会社
共電解メタネーション装置
1か月前
株式会社トクヤマ
電解槽ユニット
1日前
三菱重工業株式会社
皮膜形成装置
1か月前
株式会社トクヤマ
電解槽ユニット
1日前
本田技研工業株式会社
電気化学式水素昇圧システム
1か月前
JX金属株式会社
電着金属の搬送システム及び搬送方法
1か月前
株式会社フジタ
水電解装置
1か月前
日本特殊陶業株式会社
ホットモジュール
1か月前
株式会社アイシン
電解システム
1か月前
株式会社デンソー
セル制御システム
1か月前
株式会社ホクトウ
バレルメッキ装置用リード線のリサイクル方法
1か月前
日本碍子株式会社
電気化学セル
1か月前
三菱マテリアル株式会社
めっき皮膜付銅端子材及びその製造方法
2か月前
続きを見る
他の特許を見る