TOP
|
特許
|
意匠
|
商標
特許ウォッチ
Twitter
他の特許を見る
10個以上の画像は省略されています。
公開番号
2025172675
公報種別
公開特許公報(A)
公開日
2025-11-26
出願番号
2024232076
出願日
2024-12-27
発明の名称
カテーテル
出願人
株式会社カネカ
代理人
弁理士法人アスフィ国際特許事務所
主分類
A61M
25/10 20130101AFI20251118BHJP(医学または獣医学;衛生学)
要約
【課題】非標的組織の損傷を抑制でき、薬剤の脱落を防止できるカテーテルを提供する。
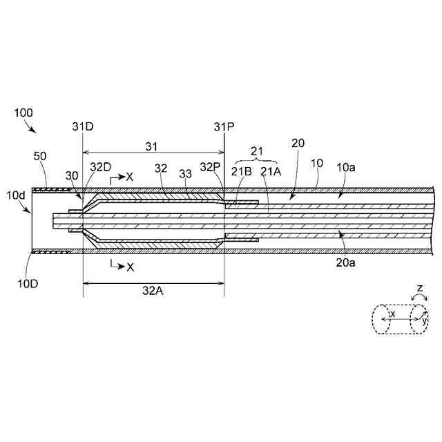
【解決手段】第1シャフト10と、内腔10aに配され第1シャフト10に対して長手方向に移動する第2シャフト20と、第2シャフト20の遠位部に配されており径方向yに拡縮する拡張可能部31を有し第1シャフト10からの拡張可能部31の突出長さを調整可能なバルーンと、を備え、バルーンは前記拡張可能部31の外側面に配されている薬剤層35を有しており、拡張可能部31はバルーン本体部33とバルーン本体部33の径方向yの外側に配置されている線材32を有しており、収縮状態において、線材32の最外端32tはバルーン本体部33の最外端33tよりも径方向yの外方に位置しており、線材32は第1シャフト10の遠位端よりも近位側に存在している第1領域を有しており、第1領域において、線材32は第1シャフト10の内壁に接触しているカテーテル。
【選択図】図10
特許請求の範囲
【請求項1】
長手方向と径方向を有し、前記長手方向に延びている内腔を有する第1シャフトと、
前記内腔に配され、前記第1シャフトに対して前記長手方向に移動する第2シャフトと、
前記第2シャフトの遠位部に配されているバルーンであって、前記径方向に拡縮する拡張可能部を有し、患者の病変部の長さによって前記第1シャフトからの前記拡張可能部の突出長さを調整可能なバルーンと、を備え、
前記バルーンは、前記拡張可能部の外側面に配されている薬剤層を有しており、
前記拡張可能部は、バルーン本体部と、前記バルーン本体部の前記径方向の外側に配置されている線材を有しており、
前記バルーンの収縮状態において、前記線材の前記径方向における最外端は前記バルーン本体部の前記径方向における最外端よりも前記径方向の外方に位置しており、
前記長手方向において前記拡張可能部の近位端が前記第1シャフトの遠位端よりも近位側に位置しているときに、前記線材は前記第1シャフトの前記遠位端よりも近位側に存在している第1領域を有しており、前記第1領域において、前記線材は前記薬剤層を介して又は前記薬剤層を介さずに前記第1シャフトの内壁に接触しているカテーテル。
続きを表示(約 1,000 文字)
【請求項2】
前記線材の前記最外端が、前記薬剤層を介して又は前記薬剤層を介さずに前記第1シャフトの内壁に接触している請求項1に記載のカテーテル。
【請求項3】
前記第1領域において、前記線材は、前記薬剤層を介さずに前記第1シャフトの内壁に接触している請求項1又は2に記載のカテーテル。
【請求項4】
前記第1領域において、前記線材は、前記薬剤層を介して前記第1シャフトの内壁に接触している請求項1又は2に記載のカテーテル。
【請求項5】
前記バルーンは、直管部と、前記直管部よりも近位側に位置する近位側テーパー部と、前記直管部よりも遠位側に位置する遠位側テーパー部とを有しており、
前記薬剤層は、前記直管部に配置されている請求項1又は2に記載のカテーテル。
【請求項6】
前記第1シャフトは、前記第1シャフトの内壁に前記線材をガイドするガイド部を有している請求項1又は2に記載のカテーテル。
【請求項7】
前記薬剤層は、前記線材の表面から前記バルーン本体部の外面にかけて設けられており、
前記長手方向の垂直断面において、前記線材の断面外縁の図心を中心に前記線材の断面外縁を2倍に拡大した特定形状で囲まれた領域(以下、「特定領域」と称する)内における前記薬剤層の最大厚みが、前記特定領域以外の前記バルーン本体部の外面における前記薬剤層の最大厚みよりも厚い請求項1又は2に記載のカテーテル。
【請求項8】
前記長手方向の垂直断面において、前記特定領域の前記径方向の外方側半分における前記薬剤層の最大厚みは、前記特定領域の前記径方向の内方側半分における前記薬剤層の最大厚みよりも小さい請求項1又は2に記載のカテーテル。
【請求項9】
前記長手方向の垂直断面において、前記特定領域の前記径方向の外方側半分における前記薬剤層の最大厚みは、前記特定領域以外の前記バルーン本体部の外面における前記薬剤層の最大厚みよりも小さい請求項1又は2に記載のカテーテル。
【請求項10】
前記長手方向の垂直断面において、前記バルーン本体部の外面に対向する前記線材の断
面外縁と前記バルーン本体部の外面との間に、前記薬剤層が存在する請求項1又は2に記載のカテーテル。
(【請求項11】以降は省略されています)
発明の詳細な説明
【技術分野】
【0001】
本発明は、カテーテルに関する。
続きを表示(約 4,200 文字)
【背景技術】
【0002】
体内で血液が循環するための流路である血管に狭窄が生じ、血液の循環が滞ることにより、様々な疾患が発生することが知られている。特に心臓に血液を供給する冠状動脈に狭窄が生じると、狭心症、心筋梗塞等の重篤な疾病をもたらすおそれがある。このような血管の狭窄部を治療する方法の一つとして、バルーンカテーテルを用いて狭窄部を拡張させる血管形成術(PTA、PTCA等)がある。
【0003】
バルーンカテーテルには、バルーンの表面に線材が設けられ、バルーンの表面に薬剤を保持させたものが知られている(例えば、特許文献1~3)。このようなバルーンカテーテルを用いれば、バルーンを拡張させた際に、バルーンの表面に設けられた線材を狭窄部に食い込ませて狭窄部を拡張できるとともに、薬剤を血管壁等の体腔内壁へ移行させることができ、再狭窄等の病変の発生抑制が期待できる。
【先行技術文献】
【特許文献】
【0004】
特表2008-539959号公報
特表2015-505497号公報
特表2021-521971号公報
【発明の概要】
【発明が解決しようとする課題】
【0005】
バルーンの表面に線材を有する部分を設けてスコアリング機能を付与したカテーテルを適用する病変部の長さは様々であり、線材を有する部分の長さが病変部の長さに適したカテーテルを選択する必要がある。病変部が想定よりも長い場合に備えて、線材を有する部分の長さが長めに設けられているカテーテルを選択することもあるが、病変部の長さよりも線材を有する部分の長さが長くなってしまうと、線材が病変部以外の非標的組織に接触して損傷する虞があった。また、バルーンに薬剤を保持させた場合、薬剤の脱落が問題になることがあった。
【0006】
本発明の上記課題に鑑みてなされたものであり、その目的は、非標的組織の損傷を抑制でき、薬剤の脱落を防止できるカテーテルを提供することである。
【課題を解決するための手段】
【0007】
上記課題を解決できた本発明の実施形態に係るカテーテルは、以下の通りである。
[1]長手方向と径方向を有し、前記長手方向に延びている内腔を有する第1シャフトと、
前記内腔に配され、前記第1シャフトに対して前記長手方向に移動する第2シャフトと、
前記第2シャフトの遠位部に配されているバルーンであって、前記径方向に拡縮する拡張可能部を有し、患者の病変部の長さによって前記第1シャフトからの前記拡張可能部の突出長さを調整可能なバルーンと、を備え、
前記バルーンは、前記拡張可能部の外側面に配されている薬剤層を有しており、
前記拡張可能部は、バルーン本体部と、前記バルーン本体部の前記径方向の外側に配置されている線材を有しており、
前記バルーンの収縮状態において、前記線材の前記径方向における最外端は前記バルーン本体部の前記径方向における最外端よりも前記径方向の外方に位置しており、
前記長手方向において前記拡張可能部の近位端が前記第1シャフトの遠位端よりも近位側に位置しているときに、前記線材は前記第1シャフトの前記遠位端よりも近位側に存在している第1領域を有しており、前記第1領域において、前記線材は前記薬剤層を介して又は前記薬剤層を介さずに前記第1シャフトの内壁に接触しているカテーテル。
【0008】
上記バルーンは、バルーンが径方向に拡縮する拡張可能部を有し、患者の病変部の長さによって第1シャフトからの拡張可能部の突出長さを調整可能であることにより、病変部の長さにより別のカテーテルに替える必要がなく、カテーテルによる治療の効率化が可能になる。また、第1シャフトから突出した拡張可能部が線材を有していても、拡張可能部の長さを病変部の長さに合わせて調整できるため、線材が非標的組織に接触して損傷することを防止できる。拡張可能部の長さを病変部の長さに合わせて調整する際、収縮状態の拡張可能部を第1シャフトの内腔において摺動させるが、線材の最外端が収縮状態のバルーン本体部の最外端よりも径方向の外方に位置しており、第1領域において線材が薬剤層を介して又は薬剤層を介さずに第1シャフトの内壁に接触していることにより、拡張可能部の外側面に配されている薬剤層が脱落することを防止できる。これにより、薬剤層の脱落を防止しながら病変部の長さに合わせた長さの線材を第1シャフトから露出させて病変部に作用させられるため、安全性と治療効率の向上したカテーテルによる手技が可能となる。
【0009】
さらに、実施形態に係るカテーテルは、以下の[2]~[22]のいずれかであることが好ましい。
[2]前記線材の前記最外端が、前記薬剤層を介して又は前記薬剤層を介さずに前記第1シャフトの内壁に接触している[1]に記載のカテーテル。
[3]前記第1領域において、前記線材は、前記薬剤層を介さずに前記第1シャフトの内壁に接触している[1]又は[2]に記載のカテーテル。
[4]前記第1領域において、前記線材は、前記薬剤層を介して前記第1シャフトの内壁に接触している[1]又は[2]に記載のカテーテル。
[5]前記バルーンは、直管部と、前記直管部よりも近位側に位置する近位側テーパー部と、前記直管部よりも遠位側に位置する遠位側テーパー部とを有しており、
前記薬剤層は、前記直管部に配置されている[1]~[4]のいずれかに記載のカテーテル。
[6]前記第1シャフトは、前記第1シャフトの内壁に前記線材をガイドするガイド部を有している[1]~[5]のいずれかに記載のカテーテル。
[7]前記薬剤層は、前記線材の表面から前記バルーン本体部の外面にかけて設けられており、
前記長手方向の垂直断面において、前記線材の断面外縁の図心を中心に前記線材の断面外縁を2倍に拡大した特定形状で囲まれた領域(以下、「特定領域」と称する)内における前記薬剤層の最大厚みが、前記特定領域以外の前記バルーン本体部の外面における前記薬剤層の最大厚みよりも厚い[1]~[6]のいずれかに記載のカテーテル。
[8]前記長手方向の垂直断面において、前記特定領域の前記径方向の外方側半分における前記薬剤層の最大厚みは、前記特定領域の前記径方向の内方側半分における前記薬剤層の最大厚みよりも小さい[1]~[7]のいずれかに記載のカテーテル。
[9]前記長手方向の垂直断面において、前記特定領域の前記径方向の外方側半分における前記薬剤層の最大厚みは、前記特定領域以外の前記バルーン本体部の外面における前記薬剤層の最大厚みよりも小さい[1]~[8]のいずれかに記載のカテーテル。
[10]前記長手方向の垂直断面において、前記バルーン本体部の外面に対向する前記線材の断面外縁と前記バルーン本体部の外面との間に、前記薬剤層が存在する[1]~[9]のいずれかに記載のカテーテル。
[11]前記長手方向の垂直断面において、前記バルーン本外部の外面に対向する前記線材の断面外縁と前記バルーン本体部の外面との間に、前記薬剤層が存在しない部分を有する[1]~[10]のいずれかに記載のカテーテル。
[12]前記薬剤層の表面に、前記線材の延在方向に沿って延びる亀裂が形成されている[1]~[11]のいずれかに記載のカテーテル。
[13]前記薬剤層の外面に保護層が設けられ、前記保護層が前記亀裂の少なくとも一部を覆っている[12]に記載のカテーテル。
[14]前記バルーンは、直管部と、前記直管部よりも近位側に位置する近位側テーパー部と、前記直管部よりも遠位側に位置する遠位側テーパー部と、前記近位側テーパー部よりも近位側に位置する近位側スリーブ部と、前記遠位側テーパー部よりも遠位側に位置する遠位側スリーブ部とを有しており、
前記線材の近位端部は、前記近位側テーパー部及び/又は近位側スリーブ部に固定されており、
前記線材の遠位端部は、前記遠位側テーパー部及び/又は遠位側スリーブ部に固定されている[1]~[13]のいずれかに記載のカテーテル。
[15]前記バルーンは、収縮状態において羽根部を有している[1]~[14]のいずれかに記載のカテーテル。
[16]前記羽根部は、前記線材の前記最外端を覆わないように前記拡張可能部の外面に重ねられて配置されている[15]に記載のカテーテル。
[17]前記線材は、樹脂製、金属製、又はその組み合わせである[1]~[16]のいずれかに記載のカテーテル。
[18]前記線材の表面の構成材料の表面自由エネルギーは前記バルーン本体部の外面の構成材料の表面自由エネルギーと異なる[1]~[17]のいずれかに記載のカテーテル。
[19]前記線材の表面の構成材料の表面自由エネルギーは前記バルーン本体部の外面の構成材料の表面自由エネルギーよりも大きい[1]~[18]のいずれかに記載のカテーテル。
[20]前記第1シャフトは、前記第1シャフトの内面に前記径方向の内方に突出している内側凸部を有している[1]~[19]のいずれかに記載のカテーテル。
[21]前記線材と前記内側凸部は、前記周方向において異なる位置に配されている[20]に記載のカテーテル。
[22]前記第1シャフトは、前記第1シャフトの遠位端部に前記第1シャフトの内径が前記径方向に拡縮する拡縮部を有している[1]~[21]のいずれかに記載のカテーテル。
【発明の効果】
【0010】
上記カテーテルによれば、非標的組織の損傷を防止するとともに、薬剤の脱落を防止することができる。これにより、安全性と治療効率の向上したカテーテルによる手技が可能となる。
【図面の簡単な説明】
(【0011】以降は省略されています)
この特許をJ-PlatPat(特許庁公式サイト)で参照する
関連特許
株式会社カネカ
断熱材
19日前
株式会社カネカ
カテーテル
今日
株式会社カネカ
カテーテル
今日
株式会社カネカ
自動植毛装置
7日前
株式会社カネカ
通報システム
19日前
株式会社カネカ
積層体の製造方法
14日前
株式会社カネカ
可塑性油脂組成物
14日前
株式会社カネカ
イチュリン含有組成物
今日
株式会社カネカ
積層体、及びその製造方法
14日前
株式会社カネカ
熱伝導シート及び熱伝導シートの製造方法
19日前
株式会社カネカ
熱伝導シート及び熱伝導シートの製造方法
19日前
株式会社カネカ
積層体、片面金属張積層板および多層プリント配線板
19日前
個人
貼付剤
1か月前
個人
簡易担架
12日前
個人
足踏み器具
19日前
個人
短下肢装具
4か月前
個人
腋臭防止剤
12日前
個人
嚥下鍛錬装置
4か月前
個人
前腕誘導装置
4か月前
個人
排尿補助器具
1か月前
個人
汚れ防止シート
1か月前
個人
アイマスク装置
3か月前
個人
胸骨圧迫補助具
2か月前
個人
歯の修復用材料
5か月前
個人
ウォート指圧法
1か月前
個人
腰ベルト
1か月前
個人
バッグ式オムツ
5か月前
個人
哺乳瓶冷まし容器
4か月前
個人
排尿排便補助器具
14日前
個人
陣痛緩和具
4か月前
個人
美容セット
21日前
個人
湿布連続貼り機。
3か月前
株式会社コーセー
化粧料
1か月前
個人
エア誘導コルセット
2か月前
株式会社大野
骨壷
4か月前
個人
治療用酸化防御装置
2か月前
続きを見る
他の特許を見る