TOP
|
特許
|
意匠
|
商標
特許ウォッチ
Twitter
他の特許を見る
10個以上の画像は省略されています。
公開番号
2025170458
公報種別
公開特許公報(A)
公開日
2025-11-19
出願番号
2022164997
出願日
2022-10-13
発明の名称
自動植毛装置
出願人
株式会社カネカ
代理人
個人
,
個人
,
個人
,
個人
主分類
A41G
3/00 20060101AFI20251112BHJP(衣類)
要約
【課題】磁石を用いて植毛鉤針のラッチを開放する場合に、植毛鉤針の初期位置から見て上方の空間に当該磁石以外の機構又は部材を配置することが可能な自動植毛装置を提供する。
【解決手段】自動植毛装置120は、植毛鉤針20と、植毛鉤針20の位置を変化させる鉤針移動機構部310と、植毛鉤針20のラッチ22を開閉させるラッチ開閉機構部320と、を備える。ラッチ22は、磁性部材を含む。ラッチ開閉機構部320は、磁石321と、少なくとも磁石321を移動させることにより、磁石321と植毛鉤針20との相対位置を、磁石321が磁力によりラッチ22を移動させて鉤部分21aを開放させる開放位置と、開放位置よりも磁石321とラッチ22とが離れた離間位置との間で変化させる駆動装置322とを含む。
【選択図】図7
特許請求の範囲
【請求項1】
植毛対象物に毛髪材を植毛する植毛鉤針であって、鉤部分を開閉するラッチを有する植毛鉤針と、
前記植毛対象物に対する前記植毛鉤針の位置を変化させる鉤針移動機構部と、
前記ラッチを開閉させるラッチ開閉機構部と、を備え、
前記ラッチは、磁性を有する部材を含み、
前記ラッチ開閉機構部は、
前記ラッチを磁力により開放させる磁石と、
少なくとも前記磁石を移動させることにより、前記磁石と前記植毛鉤針との相対位置を、前記磁石が磁力により前記ラッチを移動させて前記鉤部分を開放させる開放位置と、前記開放位置よりも前記磁石と前記ラッチとが離れた離間位置との間で変化させる磁石移動機構部と、を含む、自動植毛装置。
続きを表示(約 880 文字)
【請求項2】
前記磁石移動機構部は、前記磁石と前記植毛鉤針との相対位置を、前記植毛鉤針が延びる方向に変化させる、請求項1に記載の自動植毛装置。
【請求項3】
前記植毛鉤針は、前記ラッチを回動可能に支持する軸部を含み、
前記離間位置は、前記軸部よりも前記植毛鉤針の根本側に前記磁石が位置している状態における前記磁石と前記植毛鉤針との相対位置であり、
前記磁石移動機構部は、
前記鉤部分を開放させる際に、前記離間位置から、前記磁石の少なくとも一部が、前記鉤部分が閉鎖された状態における前記ラッチの先端の位置よりも前記植毛鉤針の先端側の位置に配置されるように、前記磁石と前記植毛鉤針との相対位置を変化させ、
前記磁石の少なくとも一部が前記植毛鉤針の先端側の位置に配置された状態から、前記開放位置に、前記磁石と前記植毛鉤針との相対位置を変化させる、請求項2に記載の自動植毛装置。
【請求項4】
前記磁石のうちの前記植毛鉤針に対向する面に、前記磁石の第1の極が形成されており、
前記磁石のうちの前記植毛鉤針とは反対側の面に、前記磁石の第2の極が形成されている、請求項1~3のいずれか1項に記載の自動植毛装置。
【請求項5】
前記鉤針移動機構部は、前記植毛鉤針と前記ラッチ開閉機構部とを前記植毛対象物に対して一体的に移動させる、請求項1~3のいずれか1項に記載の自動植毛装置。
【請求項6】
前記鉤針移動機構部及び前記ラッチ開閉機構部を制御する制御部を、さらに備え、
前記制御部は、
前記植毛鉤針による植毛を開始する前に、前記ラッチ開閉機構部により前記磁石と前記植毛鉤針との相対位置を前記離間位置から前記開放位置に変化させることにより、前記鉤部分を開放し、
前記鉤部分を開放した状態で、前記鉤針移動機構部により前記植毛鉤針を前記植毛対象物に挿入し、前記植毛鉤針による植毛を開始させる、請求項1~3のいずれか1項に記載の自動植毛装置。
発明の詳細な説明
【技術分野】
【0001】
本発明は、自動植毛装置に関する。
続きを表示(約 2,900 文字)
【背景技術】
【0002】
従来、植毛ネットに毛髪材を結び付けて植毛する自動植毛装置が知られている。このような自動植毛装置は、例えば、特許文献1に開示されている。
【0003】
特許文献1の自動植毛装置は、複数の毛髪材が収容されるストッカと、植毛ネットが展開されたエキセンと、第1鉤針と、第2鉤針とを備える。第2鉤針は、ストッカから毛髪材を引き出す。そして、第1鉤針は、引き出された毛髪材を捕捉し、当該毛髪材をエキセンに展開された植毛ネットに結び付けて植毛する。第1鉤針には、第1鉤針の鉤部分を開閉するラッチが設けられている。また、自動植毛装置内において、第1鉤針の初期位置の直上に、ラッチを磁力により開放させる磁石が固定されている。これにより、第1鉤針が初期位置とは別の位置から初期位置に移動した場合、第1鉤針のラッチが開放される。
【先行技術文献】
【特許文献】
【0004】
特許第6533350号公報
【発明の概要】
【発明が解決しようとする課題】
【0005】
しかしながら、上記特許文献1に記載の構成では、植毛を行う第1鉤針の初期位置の直上に磁石が固定されている。このため、この第1鉤針の初期位置から見て上方の位置には、植毛に用いられる他の機構や部材を配置することが困難になる。
【0006】
本発明は、上記のような課題を解決するためになされたものであり、磁石を用いて植毛鉤針のラッチを開放する場合に、植毛鉤針の初期位置から見て上方の空間に当該磁石以外の機構又は部材を配置することが可能な自動植毛装置を提供することを目的とする。
【課題を解決するための手段】
【0007】
上記の目的を達成するために、以下に開示する自動植毛装置は、植毛対象物に毛髪材を植毛する植毛鉤針であって、鉤部分を開閉するラッチを有する植毛鉤針と、植毛対象物に対する植毛鉤針の位置を変化させる鉤針移動機構部と、ラッチを開閉させるラッチ開閉機構部と、を備え、ラッチは、磁性を有する部材を含み、ラッチ開閉機構部は、ラッチを磁力により開放させる磁石と、少なくとも磁石を移動させることにより、磁石と植毛鉤針との相対位置を、磁石が磁力によりラッチを移動させて鉤部分を開放させる開放位置と、開放位置よりも磁石とラッチとが離れた離間位置との間で変化させる磁石移動機構部と、を含む。
【発明の効果】
【0008】
上記の構成によれば、磁石移動機構部により、少なくとも磁石を移動させて、磁石と植毛鉤針との相対位置を、開放位置と離間位置との間で変化させることができる。これにより、植毛鉤針の初期位置の直上に磁石が固定されている場合と異なり、植毛鉤針の初期位置から見て上方の空間に磁石以外の機構又は部材を配置することができる。
【図面の簡単な説明】
【0009】
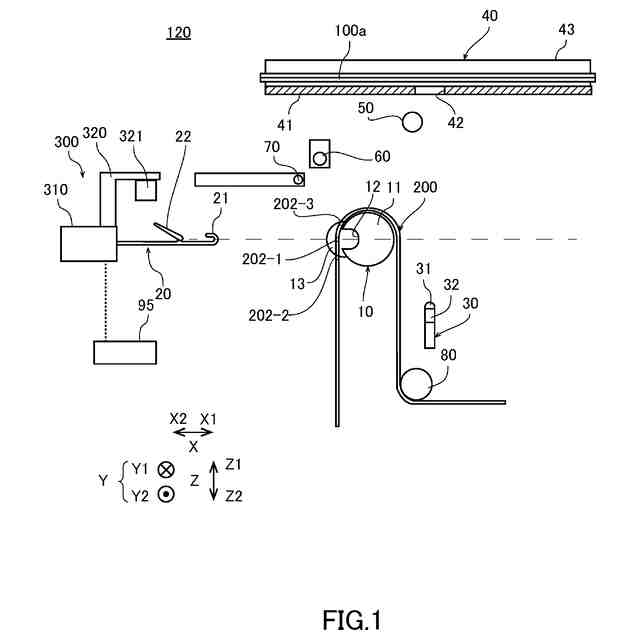
図1は、自動植毛装置120の構造を奥行方向に見た模式図である。
図2は、自動植毛装置120の構造を後方から見た模式図である。
図3は、第1実施形態による移動機構部300の構成を示す正面図である。
図4は、回転軸部材314の構成を示す正面図である。
図5は、移動機構部300の構成を示す側面図である。
図6は、磁石321が植毛鉤針20の先端よりも後方の位置に配置された状態の移動機構部300の構成を示す図である。
図7は、磁石321と植毛鉤針20との相対位置が開放位置となる状態の移動機構部300の構成を示す図である。
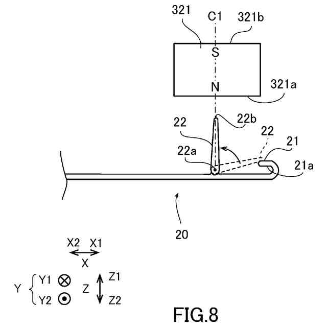
図8は、植毛鉤針20と磁石321との相対位置が開放位置である状態を模式的に示した図である。
図9は、植毛鉤針20と磁石321との相対位置が離間位置である状態を模式的に示した図である。
図10は、磁石321が植毛鉤針20のラッチ22の先端22bよりもX1方向に進んだ状態を模式的に示した図である。
図11は、自動植毛装置120の第1動作から第4動作を示す図であって、自動植毛装置120の構造を奥行方向に見た模式図である。
図12は、図11の一部を拡大した拡大図である。
図13は、自動植毛装置120の第1動作から第4動作を示す図であって、自動植毛装置120の構造を後方から見た模式図である。
図14は、自動植毛装置120の第5動作を示す図である。
図15は、自動植毛装置120の第6動作及び第7動作を示す図である。
図16は、図15の一部を拡大した拡大図である。
図17は、自動植毛装置120の第8動作及び第9動作を示す図である。
図18は、図17の一部を拡大した拡大図である。
図19は、自動植毛装置120の第10動作を示す図である。
図20は、図19の一部を拡大した拡大図である。
図21は、自動植毛装置120の第11動作を示す図である。
図22は、自動植毛装置120の第12動作及び第13動作を示す図である。
図23は、図22の一部を拡大した拡大図である。
図24は、自動植毛装置120の第14動作を示す図である。
図25は、図24の一部を拡大した拡大図である。
図26は、自動植毛装置120の第15動作を示す図である。
図27は、図26の一部を拡大した拡大図である。
図28は、自動植毛装置120の第16動作から第18動作を示す図である。
図29Aは、引出鉤針30側から見た結び目100cを示す図である。
図29Bは、植毛鉤針20側から見た結び目100cを示す図である。
図30は、第2実施形態による自動植毛装置400の構成を説明するためのブロック図である。
図31は、第1及び第2実施形態の第1変形例による自動植毛装置500の構成を説明するため図である。
図32は、第1及び第2実施形態の第2変形例によるラッチ開閉機構部の構成を説明するため図である。
【発明を実施するための形態】
【0010】
以下、本発明の一実施形態を図面に基づいて説明する。なお、本発明は、以下の実施形態に限定されるものではなく、本発明の構成を充足する範囲内で、適宜設計変更を行うことが可能である。また、以下の説明において、同一部分または同様な機能を有する部分には同一の符号を異なる図面間で共通して用い、その繰り返しの説明は省略する。また、実施形態および変形例に記載された各構成は、適宜組み合わされてもよいし、変更されてもよい。また、説明を分かりやすくするために、以下で参照する図面においては、構成が簡略化または模式化して示されたり、一部の構成部材が省略されたりしている。
(【0011】以降は省略されています)
この特許をJ-PlatPat(特許庁公式サイト)で参照する
関連特許
株式会社カネカ
断熱材
12日前
株式会社カネカ
カテーテル
1か月前
株式会社カネカ
カテーテル
1か月前
株式会社カネカ
カテーテル
1か月前
株式会社カネカ
カテーテル
1か月前
株式会社カネカ
カテーテル
1か月前
株式会社カネカ
カテーテル
1か月前
株式会社カネカ
自動植毛装置
今日
株式会社カネカ
酵母含有菓子
1か月前
株式会社カネカ
通報システム
12日前
株式会社カネカ
シーリング材
1か月前
株式会社カネカ
重量物載置架台
1か月前
株式会社カネカ
積層体の製造方法
7日前
株式会社カネカ
可塑性油脂組成物
7日前
株式会社カネカ
太陽電池モジュール
1か月前
株式会社カネカ
気化装置及び製膜装置
1か月前
株式会社カネカ
透湿度測定用封止装置
1か月前
株式会社カネカ
自動車用バンパー芯材
1か月前
株式会社カネカ
多加水パン生地用改良剤
1か月前
株式会社カネカ
冷凍苺及びその製造方法
1か月前
株式会社カネカ
繊維、及び、繊維構造体
1か月前
株式会社カネカ
多加水パン生地用改良剤
1か月前
株式会社カネカ
建材用太陽電池モジュール
1か月前
株式会社カネカ
積層体、及びその製造方法
7日前
株式会社カネカ
太陽電池パネルの検査装置
1か月前
株式会社クラレ
樹脂組成物
1か月前
株式会社カネカ
除細動用カテーテルシステム
1か月前
株式会社カネカ
熱可塑性フィルムの製造方法
29日前
株式会社カネカ
コンクリート塗装用塗料組成物
1か月前
株式会社カネカ
太陽電池および太陽電池製造方法
1か月前
株式会社カネカ
基板カセットおよび基板処理装置
1か月前
株式会社カネカ
塩化ビニル樹脂凝集粒子の製造方法
1か月前
株式会社カネカ
チルド麺類用油脂組成物及びチルド麺類
1か月前
株式会社カネカ
有機エレクトロルミネッセンスデバイス
29日前
株式会社カネカ
メタクリル樹脂組成物及び樹脂フィルム
1か月前
株式会社カネカ
組織標本作製用の挿入具およびその利用
1か月前
続きを見る
他の特許を見る