TOP
|
特許
|
意匠
|
商標
特許ウォッチ
Twitter
他の特許を見る
10個以上の画像は省略されています。
公開番号
2025151729
公報種別
公開特許公報(A)
公開日
2025-10-09
出願番号
2024053291
出願日
2024-03-28
発明の名称
ホットモジュール
出願人
日本特殊陶業株式会社
代理人
弁理士法人真明センチュリー
主分類
C25B
9/65 20210101AFI20251002BHJP(電気分解または電気泳動方法;そのための装置)
要約
【課題】スタックの温度の低い部分の発生を低減できるホットモジュールを提供する。
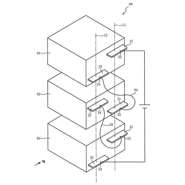
【解決手段】ホットモジュールは、陽極と陰極とを隔離する電解質を含む電解セルが積層され電解セルの複数が直列に接続された積層体と、積層体の、電解セルの積層方向の両側に配置され電解セルと直列に接続された、極性が互いに異なる2つの端子と、を含むスタックと、端子の接続部に接続されスタックの複数を直列に接続する電線と、を含み、電解セルの積層方向に延びるスタックの側面と電線の一部とが近くに位置する近接部を含み、近接部における電線と側面との間の距離は、近接部の最も近くに位置する接続部と近接部における側面との間の距離よりも短い。
【選択図】図5
特許請求の範囲
【請求項1】
陽極と陰極とを隔離する電解質を含む電解セルが積層され前記電解セルの複数が直列に接続された積層体と、
前記積層体の、前記電解セルの積層方向の両側に配置され前記電解セルと直列に接続された、極性が互いに異なる2つの端子と、を含むスタックと、
前記端子の接続部に接続され前記スタックの複数を直列に接続する電線と、を含むホットモジュールであって、
前記電解セルの積層方向に延びる前記スタックの側面と前記電線の一部とが近くに位置する近接部を含み、
前記近接部における前記電線と前記側面との間の距離は、前記近接部の最も近くに位置する前記接続部と前記近接部における前記側面との間の距離よりも短いホットモジュール。
続きを表示(約 460 文字)
【請求項2】
前記電解セルの積層方向に沿って並ぶ前記スタックを含み、
前記近接部は、前記電解セルの積層方向に隣り合う前記スタックを接続する前記電線の一部を含む請求項1記載のホットモジュール。
【請求項3】
前記電解セルの積層方向に並ぶ前記スタックは、極性が異なる前記端子が隣り合い、
前記近接部を含む前記電線は、前記端子のうち前記電解セルの積層方向に隣り合う前記端子以外を接続する請求項2記載のホットモジュール。
【請求項4】
前記電解セルの積層方向に並ぶ前記スタックは、極性が同じ前記端子が隣り合う請求項2記載のホットモジュール。
【請求項5】
前記端子は、前記電解セルの積層方向に延びる同一直線上にない請求項2から4のいずれかに記載のホットモジュール。
【請求項6】
前記電線は、前記近接部の単位長さ当たりの電気抵抗が、前記近接部以外の単位長さ当たりの電気抵抗以上である請求項1から4のいずれかに記載のホットモジュール。
発明の詳細な説明
【技術分野】
【0001】
本発明は電解セルが積層されたスタックを含むホットモジュールに関する。
続きを表示(約 1,200 文字)
【背景技術】
【0002】
陽極と陰極とを隔離する電解質を含む電解セルが複数積層された積層体と、電解セルと直列に接続された端子と、を含むスタックは、スタックに供給された電気や熱のエネルギーを使って水蒸気や二酸化炭素等の燃料ガスを電気分解し、水素や炭化水素等のエネルギーキャリアを生成する。燃料ガスの電気分解は吸熱反応であるため、通常、ジュール熱による発熱と吸熱とがバランスする熱中立点を目標に、スタックにエネルギーが供給される。
【先行技術文献】
【特許文献】
【0003】
特表2016-538420号公報
【発明の概要】
【発明が解決しようとする課題】
【0004】
特許文献1に開示された先行技術では、スタックに供給されるエネルギーに対する、スタックが生成するキャリアのエネルギーの比(エネルギー効率)を高めようとしてスタックに供給するエネルギーを必要量にすると、温度の低い部分がスタックに現れやすくなりエネルギーキャリアの生成量が減り、エネルギー効率が低下することがある。
【0005】
本発明はこの問題点を解決するためになされたものであり、スタックの温度の低い部分の発生を低減できるホットモジュールの提供を目的とする。
【課題を解決するための手段】
【0006】
この目的を達成するためのホットモジュールの第1の態様は、陽極と陰極とを隔離する電解質を含む電解セルが積層され電解セルの複数が直列に接続された積層体と、積層体の、電解セルの積層方向の両側に配置され電解セルと直列に接続された、極性が互いに異なる2つの端子と、を含むスタックと、端子の接続部に接続されスタックの複数を直列に接続する電線と、を含み、電解セルの積層方向に延びるスタックの側面と電線の一部とが近くに位置する近接部を含み、近接部における電線と側面との間の距離は、近接部の最も近くに位置する接続部と近接部における側面との間の距離よりも短い。
【0007】
第2の態様は、第1の態様において、電解セルの積層方向に沿って並ぶスタックを含み、近接部は、電解セルの積層方向に隣り合うスタックを接続する電線の一部を含む。
【0008】
第3の態様は、第2の態様において、電解セルの積層方向に並ぶスタックは、極性が異なる端子が隣り合い、近接部を含む電線は、端子のうち電解セルの積層方向に隣り合う端子以外を接続する。
【0009】
第4の態様は、第2の態様において、電解セルの積層方向に並ぶスタックは、極性が同じ端子が隣り合う。
【0010】
第5の態様は、第2から第4の態様のいずれかにおいて、端子は、電解セルの積層方向に延びる同一直線上にない。
(【0011】以降は省略されています)
この特許をJ-PlatPat(特許庁公式サイト)で参照する
関連特許
株式会社堤水素研究所
水電解装置
24日前
株式会社神戸製鋼所
接点材料
23日前
株式会社ケミカル山本
電解研磨装置用電極
24日前
本田技研工業株式会社
差圧式電解装置
1か月前
一般財団法人電力中央研究所
電解反応装置
1か月前
本田技研工業株式会社
水電解スタック
1か月前
本田技研工業株式会社
CO2電解装置
1か月前
東レ株式会社
液体電解用多孔質輸送層およびその製造方法
23日前
SECカーボン株式会社
カソードアセンブリ
1か月前
株式会社荏原製作所
蒸気発電プラント
1か月前
メルテックス株式会社
極薄電解銅箔及びその製造方法
1か月前
古河電気工業株式会社
端子
1か月前
株式会社デンソー
電解装置
25日前
三菱マテリアル株式会社
皮膜付端子材及びその製造方法
1か月前
旭化成株式会社
電解装置の運転方法
1か月前
株式会社豊田中央研究所
電極
2か月前
大阪瓦斯株式会社
共電解メタネーション装置
1か月前
本田技研工業株式会社
膜電極構造体の製造方法
1か月前
大阪瓦斯株式会社
共電解メタネーション装置
1か月前
三菱重工業株式会社
皮膜形成装置
1か月前
JX金属株式会社
電着金属の搬送システム及び搬送方法
1か月前
株式会社フジタ
水電解装置
24日前
本田技研工業株式会社
電気化学式水素昇圧システム
1か月前
本田技研工業株式会社
電気化学式水素昇圧システム
1か月前
日本特殊陶業株式会社
ホットモジュール
1か月前
三菱マテリアル株式会社
めっき皮膜付銅端子材及びその製造方法
1か月前
トヨタ自動車株式会社
水電解システム
23日前
株式会社デンソー
セル制御システム
1か月前
株式会社ホクトウ
バレルメッキ装置用リード線のリサイクル方法
25日前
株式会社デンソー
電気化学反応装置
4日前
日本特殊陶業株式会社
ホットモジュール
1か月前
日本碍子株式会社
電気化学セル
24日前
株式会社アイシン
電解システム
1か月前
株式会社アイシン
電解システム
1か月前
日本特殊陶業株式会社
固体酸化物形電解セルおよびその利用
1か月前
日本特殊陶業株式会社
固体酸化物形電解セルおよびその利用
1か月前
続きを見る
他の特許を見る