TOP
|
特許
|
意匠
|
商標
特許ウォッチ
Twitter
他の特許を見る
公開番号
2025151588
公報種別
公開特許公報(A)
公開日
2025-10-09
出願番号
2024053097
出願日
2024-03-28
発明の名称
端子
出願人
古河電気工業株式会社
,
古河AS株式会社
代理人
個人
,
個人
主分類
C25D
7/00 20060101AFI20251002BHJP(電気分解または電気泳動方法;そのための装置)
要約
【課題】材料費及び製造工程におけるコストの増加を抑えつつ、かつ、下層を薄層にすることで、曲げ加工時の割れを防止し、経時の使用による温度変化に対する抵抗上昇率を抑える端子を提供する。
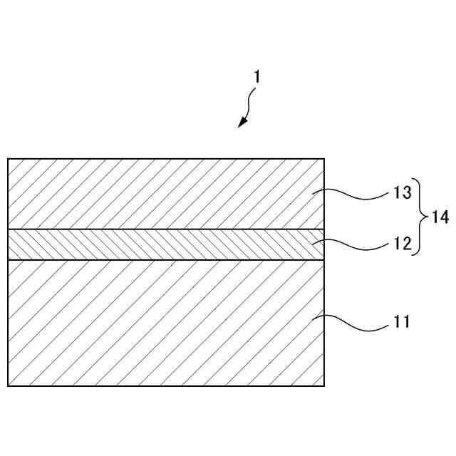
【解決手段】本発明の端子1は、銅又は銅合金からなる銅系基材11と、銅系基材11の上に形成され、0.1μm以上0.5μm以下の範囲の厚さを有する下層12、および、下層12の上に形成され、銀又は銀合金からなる上層13の2層構造の表面被膜14とで構成され、下層12を構成する材料は、ニッケルと合金成分Xとを含むニッケル合金であり、合金成分Xが、ガリウム、ビスマスおよびインジウムのうちの一種類以上の成分である。
【選択図】図1
特許請求の範囲
【請求項1】
銅又は銅合金からなる銅系基材と、
前記銅系基材の上に形成され、0.1μm以上0.5μm以下の範囲の厚さを有する下層、および、前記下層の上に形成され、銀又は銀合金からなる上層の2層構造の表面被膜と、で構成され、
前記下層を構成する材料は、ニッケルと合金成分Xとを含むニッケル合金であり、
前記合金成分Xが、ガリウム、ビスマスおよびインジウムのうちの一種類以上の成分である、端子。
続きを表示(約 130 文字)
【請求項2】
前記ニッケル合金中の前記Xの含有量が、0.2質量%以上7.0質量%以下の範囲である、請求項1に記載の端子。
【請求項3】
前記銅系基材の厚さが、0.1mm以上0.4mm以下の範囲である、請求項1または2に記載の端子。
発明の詳細な説明
【技術分野】
【0001】
本発明は、端子に関する。
続きを表示(約 2,000 文字)
【背景技術】
【0002】
従来、広く用いられている車載用の高電圧コネクタ端子は、電気配線や回路接続に使用される部品で、挿入することで簡単に電気的に接続させることができる。しかし、これら電気配線等が高電圧化するにしたがって、端子間の接続に対して接触抵抗が低いことが求められている。この接触抵抗を低くするために、端子の接点部は、一般的に銅系基材の上に銀めっき層を設けることを実施している。
この高電圧コネクタ端子における銅系基材の銅原子は、上方に位置する銀めっき層に向かって拡散しやすいことから、銀めっき層の銀原子と合金化することで接触抵抗が上昇するという問題がある。この問題に対して、銅系基材と銀めっき層(上層)との間に、ニッケル又はニッケル合金からなる中間層(下層)を設けることで、銅系基材から銅原子が銀めっき層への拡散を防止している。
【0003】
このニッケル又はニッケル合金からなる下層は、層厚が薄いと拡散防止効果が弱く、従来は0.8~1.5μm程度の厚さが必要であった。しかしながら、下層が厚いと、コスト増加の他、抵抗の増加や曲げ加工時のクラック等の割れが生じやすくなるため、これらの観点からすれば、下層の厚さは、できるだけ薄くすることが望ましい。
【0004】
例えば、特許文献1は、銅又は銅合金からなる基材の上に、0.05μm以上5.0μm以下のニッケル層、中間層、銀層がこの順で積層されており、中間層は、厚みが0.02μm以上1.0μm以下であり、銀(Ag)とXとを含む銀合金であり、前記Xが錫、ビスマス、ガリウム、インジウム及びゲルマニウムのうちの一種類以上を含む銀皮膜付端子材を開示している。
【先行技術文献】
【特許文献】
【0005】
特開2019-031732号公報
【発明の概要】
【発明が解決しようとする課題】
【0006】
特許文献1に記載の銀皮膜付端子材は、銅系基材を構成する銅原子の拡散防止のために、銅系基材の上に、ニッケル(Ni)層と、錫等のXを含む銀合金である単層または二層構造の中間層を設けている。
このため、銅系基材の上に、ニッケル層(下層)と、銀(Ag)層(上層)の2層構造の表面被膜を有する従来の高電圧コネクタ端子に対して、特許文献1に記載の銀皮膜付端子材は、銅系基材の上に、ニッケル層(下層)、銀合金からなる単層または二層の中間層、銀層(上層)の3層構造または4層構造の表面被膜を形成しているため、表面被膜を構成する層数が多くなる結果、材料費等のコストの上昇や、製造工程が増えることによる作業性の悪化を招くという問題がある。
【0007】
そこで、本発明は、銅又は銅合金からなる銅系基材の上に形成される表面被膜を、特定の合金成分Xを含有するニッケル合金の下層と、銀又は銀合金からなる上層との2層構造で構成することによって、材料費等のコストの上昇及び製造工程における作業性の悪化を抑えつつ、かつ、下層を薄層にすることで、曲げ加工時の割れを防止し、経時の使用による温度上昇に対する抵抗上昇率を抑える端子を提供することを目的とする。
【課題を解決するための手段】
【0008】
上記目的を達成するため、本発明は、以下のとおりである。
(1)銅又は銅合金からなる銅系基材と、
前記銅系基材の上に形成され、0.1μm以上0.5μm以下の範囲の厚さを有する下層、および、前記下層の上に形成され、銀又は銀合金からなる上層の2層構造の表面被膜と、で構成され、
前記下層を構成する材料は、ニッケルと合金成分Xとを含むニッケル合金であり、
前記合金成分Xが、ガリウム、ビスマスおよびインジウムのうちの一種類以上の成分である、端子。
(2)前記ニッケル合金中の前記Xの含有量が、0.2質量%以上7.0質量%以下の範囲である、(1)に記載の端子。
(3)前記銅系基材の厚さが、0.1mm以上0.4mm以下の範囲である、請求項(1)または(2)に記載の端子。
【発明の効果】
【0009】
本発明は、表面被膜を構成する層数を少なくすることができ、また、層数を少なくすることで材料費等のコストの上昇や、製造工程の数を減らすことにより作業性も向上させることができ、かつ、下層を薄層にすることで、曲げ加工時の割れを防止し、経時の使用による温度上昇に対する抵抗上昇率を抑える端子を提供することができる。
【図面の簡単な説明】
【0010】
図1は、本発明の一の実施形態である端子の構造を示す図である。
【発明を実施するための形態】
(【0011】以降は省略されています)
この特許をJ-PlatPat(特許庁公式サイト)で参照する
関連特許
古河電気工業株式会社
保護部材及びワイヤーハーネス
5日前
古河電気工業株式会社
ケーブル及びケーブルシステム
10日前
古河電気工業株式会社
通信システム、プログラム及び通信方法
4日前
古河電気工業株式会社
通信システム、プログラム及び通信方法
4日前
古河電気工業株式会社
通信システム、プログラム及び通信方法
4日前
古河電気工業株式会社
通信システム、プログラム及び通信方法
4日前
古河電気工業株式会社
皮膜除去方法および皮膜除去装置
4日前
古河電気工業株式会社
磁気ディスク用基板及び磁気ディスク用基板の熱拡散率測定方法、磁気ディスク用基板の検査方法、磁気ディスク用基板の製造方法、ならびに磁気ディスク
6日前
本田技研工業株式会社
差圧式電解装置
11日前
本田技研工業株式会社
水電解スタック
1か月前
一般財団法人電力中央研究所
電解反応装置
1か月前
本田技研工業株式会社
CO2電解装置
1か月前
株式会社荏原製作所
蒸気発電プラント
24日前
SECカーボン株式会社
カソードアセンブリ
27日前
メルテックス株式会社
極薄電解銅箔及びその製造方法
17日前
古河電気工業株式会社
端子
25日前
三菱マテリアル株式会社
皮膜付端子材及びその製造方法
25日前
旭化成株式会社
電解装置の運転方法
13日前
大阪瓦斯株式会社
共電解メタネーション装置
10日前
本田技研工業株式会社
膜電極構造体の製造方法
25日前
大阪瓦斯株式会社
共電解メタネーション装置
10日前
三菱重工業株式会社
皮膜形成装置
24日前
本田技研工業株式会社
電気化学式水素昇圧システム
20日前
JX金属株式会社
電着金属の搬送システム及び搬送方法
10日前
本田技研工業株式会社
電気化学式水素昇圧システム
1か月前
日本特殊陶業株式会社
ホットモジュール
25日前
株式会社デンソー
セル制御システム
24日前
日本特殊陶業株式会社
ホットモジュール
25日前
三菱マテリアル株式会社
めっき皮膜付銅端子材及びその製造方法
1か月前
株式会社アイシン
電解システム
26日前
株式会社アイシン
電解システム
25日前
日本特殊陶業株式会社
固体酸化物形電解セルおよびその利用
25日前
日本特殊陶業株式会社
固体酸化物形電解セルおよびその利用
25日前
一般財団法人電力中央研究所
アンモニア処理設備、発電設備
1か月前
ノリタケ株式会社
燃料極の評価方法および電気化学セルの製造方法
24日前
日本特殊陶業株式会社
固体酸化物形電解セルおよびその利用
25日前
続きを見る
他の特許を見る