TOP
|
特許
|
意匠
|
商標
特許ウォッチ
Twitter
他の特許を見る
公開番号
2025172951
公報種別
公開特許公報(A)
公開日
2025-11-26
出願番号
2025149203,2022151649
出願日
2025-09-09,2022-09-22
発明の名称
絶縁電線、コイル、電気・電子機器、及び電気・電子機器の製造方法
出願人
古河電気工業株式会社
代理人
弁理士法人クオリオ
,
個人
,
個人
主分類
H01B
7/38 20060101AFI20251118BHJP(基本的電気素子)
要約
【課題】端部皮膜の機械的な除去に代えて、レーザー光を用いて端部皮膜を燃焼して除去する技術に関し、遷移金属酸化物粒子のような異物を絶縁皮膜に配合しなくても、レーザー光照射によって、ススや樹脂の導体表面への残留を抑えながら、短時間に、導体表面から絶縁皮膜を十分に除去することを可能とする絶縁電線、この絶縁電線を用いたコイル、このコイルを有する電気・電子機器及びこの電気・電子機器の製造方法を提供する。
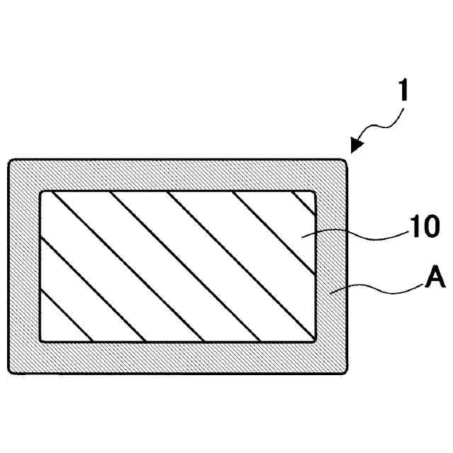
【解決手段】絶縁電線1は、導体10と、導体10に接して配された絶縁樹脂層を含む絶縁被覆層Aとを少なくとも有し、絶縁被覆層A中、引火点0~50℃、且つ、沸点150℃未満の有機溶剤の含有量が500~20000ppmである。
【選択図】図1
特許請求の範囲
【請求項1】
導体と、前記導体に接して配された絶縁樹脂層を含む絶縁被覆層Aとを少なくとも有し、前記絶縁被覆層A中、引火点0~50℃、且つ、沸点150℃未満の有機溶剤の含有量が500~20000ppmである絶縁電線。
続きを表示(約 510 文字)
【請求項2】
前記絶縁被覆層Aの周囲に、前記有機溶剤の含有量が500ppm未満である絶縁被覆層Bを有する、請求項1に記載の絶縁電線。
【請求項3】
前記絶縁被覆層Bがエナメル層及び/又は押出被覆層である、請求項2に記載の絶縁電線。
【請求項4】
前記絶縁被覆層Aがエナメル層である、請求項3に記載の絶縁電線。
【請求項5】
前記絶縁被覆層Aの厚さが3~50μmである、請求項4に記載の絶縁電線。
【請求項6】
前記絶縁被覆層Aを構成するポリマー中の酸素原子の含有量が10原子%以上である、請求項5に記載の絶縁電線。
【請求項7】
前記絶縁被覆層Aがポリイミド及び/又はポリアミドイミドを含む、請求項6に記載の絶縁電線。
【請求項8】
前記導体が、銅又はアルミニウムを含む、請求項7に記載の絶縁電線。
【請求項9】
請求項1~8のいずれか1項に記載の絶縁電線を用いたコイル。
【請求項10】
請求項9に記載のコイルを有する電気・電子機器。
(【請求項11】以降は省略されています)
発明の詳細な説明
【技術分野】
【0001】
本発明は、絶縁電線、コイル、電気・電子機器、及び電気・電子機器の製造方法に関する。
続きを表示(約 3,500 文字)
【背景技術】
【0002】
電気機器には、従来から絶縁電線が用いられる。従来の絶縁電線では、例えば、ポリアミドイミド、ポリイミド、耐熱ポリエステル、又はポリエステルイミド等を含むワニスが導体に塗布・焼付されることにより、当該導体の周囲に絶縁皮膜が形成される。
モーターや変圧器に代表される電気・電子機器では、例えば、絶縁電線をヘアピン状に加工してセグメントコイルとし、このセグメントコイルを固定子コアのスロットに押し込み、固定子コアから突出したセグメントコイル(絶縁電線)の端部同士を溶接して電気的に接続する。この溶接を行うためには、セグメントコイルの端部を覆う絶縁皮膜(端部皮膜)を除去して導体を剥き出しにする必要がある。この端部皮膜の除去は、プレス加工などによって機械的に切削除去する方法が知られている。しかし、この切削除去方法では、絶縁皮膜だけでなく導体部分の表層も削り取られてしまうため、導体断面積が減少してしまう問題がある。また、金属導体の削り屑の処理を要したり、プレス加工に用いる金型に摩耗が生じたりして、製造効率面の問題も生じる。
端部皮膜の機械的な除去に代えて、レーザー光を用いて端部皮膜を燃焼して除去する技術が提案されている。例えば特許文献1には、絶縁電線を絶縁電機子に巻付けた回転機器を製造するに当たり、この絶縁電線の絶縁皮膜にレーザー光を吸収して発熱する遷移金属酸化物の粒子を含有させることにより、当該絶縁電線の末端部分の絶縁皮膜をレーザー光照射により容易に除去できることが記載されている。
【先行技術文献】
【特許文献】
【0003】
特開2010-15907号公報
【発明の概要】
【発明が解決しようとする課題】
【0004】
上記特許文献1記載の技術では、絶縁皮膜の形成に先立ち、比較的多量の遷移金属酸化物粒子を樹脂ワニス中に均一分散させたスラリーを調製する必要があり、作業効率の向上には制約がある。また、絶縁皮膜中に絶縁性樹脂とは異質な物性の遷移金属酸化物粒子を多量に含ませた場合、絶縁皮膜と導体との密着性や、絶縁皮膜を構成する層間の密着性が低下することも懸念される。
【0005】
本発明は、端部皮膜の機械的な除去に代えて、レーザー光を用いて端部皮膜を燃焼して除去する技術に関し、遷移金属酸化物粒子のような異物を絶縁皮膜に配合しなくても、レーザー光照射によって、短時間に、導体表面から絶縁皮膜を十分に除去することを可能とする絶縁電線を提供することを課題とする。また、本発明は、この絶縁電線を用いたコイル、このコイルを有する電気・電子機器、及びこの電気・電子機器の製造方法を提供することを課題とする。
【課題を解決するための手段】
【0006】
本発明者の上記課題は下記手段により解決される。
[1]
導体と、前記導体に接して配された絶縁樹脂層を含む絶縁被覆層Aとを少なくとも有し、前記絶縁被覆層A中、引火点0~50℃、且つ、沸点150℃未満の有機溶剤の含有量が500~20000ppmである絶縁電線。
[2]
前記絶縁被覆層Aの周囲に、前記有機溶剤の含有量が500ppm未満である絶縁被覆層Bを有する、[1]に記載の絶縁電線。
[3]
前記絶縁被覆層Bがエナメル層及び/又は押出被覆層である[2]に記載の絶縁電線。
[4]
前記絶縁被覆層Aがエナメル層である、[1]~[3]のいずれか1つに記載の絶縁電線。
[5]
前記絶縁被覆層Aの厚さが3~50μmである、[1]~[4]のいずれか1つに記載の絶縁電線。
[6]
前記絶縁被覆層Aを構成するポリマー中の酸素原子の含有量が10原子%以上である、[1]~[5]のいずれか1つに記載の絶縁電線。
[7]
前記絶縁被覆層Aがポリイミド及び/又はポリアミドイミドを含む、[1]~[6]のいずれか1つに記載の絶縁電線。
[8]
前記導体が、銅又はアルミニウムを含む、[1]~[7]のいずれか1つに記載の絶縁電線。
[9]
[1]~[8]のいずれか1つに記載の絶縁電線を用いたコイル。
[10]
[9]に記載のコイルを有する電気・電子機器。
[11]
前記電気・電子機器がトランスである、[10]に記載の電気・電子機器。
[12]
[1]~[8]のいずれか1つに記載の絶縁電線のセグメントの端部皮膜をレーザー光照射により除去する工程と、
前記の端部皮膜が除去されたセグメントをコイル状に加工してセグメントコイルとし、固定子コアのスロットに組み込む工程と、
前記セグメントコイルの端部同士を溶接して電気的に接続する工程と
を含む、電気・電子機器の製造方法。
[13]
[1]~[8]のいずれか1つに記載の絶縁電線のセグメントをコイル状に加工してセグメントコイルとし、固定子コアのスロットに組み込む工程と、
前記の固定子コアのスロットに組み込まれた前記セグメントコイルの端部皮膜をレーザー光照射により除去する工程と、
前記セグメントコイルの端部同士を溶接して電気的に接続する工程と
を含む、電気・電子機器の製造方法。
【0007】
本発明及び本明細書において、「~」を用いて表される数値範囲は、「~」の前後に記載される数値を下限値及び上限値として含む範囲を意味する。例えば、「A~B」と記載されている場合、その数値範囲は、「A以上B以下」である。
本発明において「ppm」は質量基準である。
【0008】
本発明及び本明細書において、「絶縁樹脂層」とは、一度の層形成処理によって形成される層を意味し、一度の層形成処理によって形成される層を1層としてカウントする。例えば、樹脂ワニスの塗布・焼付けを1回行って形成されるエナメル層(I)は1層の絶縁樹脂層であり、このエナメル層(I)上に、当該樹脂と同種又は異種の樹脂のワニスを、1回、塗布・焼付けしてエナメル層(II)を形成した場合、エナメル層(I)と(II)の2層の絶縁樹脂層の積層構造となる。また、エナメル層(I)上に、エナメル層(II)に代えて、熱可塑性樹脂を1回、押出被覆して押出被覆層(III)を形成した場合、エナメル層(I)と押出被覆層(III)の2層の絶縁樹脂層の積層構造となる。また、エナメル層(II)上に、熱可塑性樹脂を1回、押出被覆して押出被覆層(III)を形成した場合、エナメル層(I)とエナメル層(II)と押出被覆層(III)の3層の絶縁樹脂層の積層構造となる。
本発明及び本明細書において「絶縁皮膜」とは、絶縁電線を構成する絶縁樹脂層全体を指し示す意味で用いる。また、本発明及び本明細書において「絶縁被覆層」とは、絶縁皮膜を構成する絶縁樹脂層の1層又は2層以上からなる層単位を意味する。本発明及び本明細書において「絶縁皮膜」は1層以上(好ましくは2層以上)の「絶縁被覆層」から構成され、「絶縁被覆層」は1層以上の「絶縁樹脂層」から構成される。
【発明の効果】
【0009】
本発明の絶縁電線は、遷移金属酸化物粒子のような異物を絶縁皮膜に配合しなくても、レーザー光照射によって、短時間に、導体表面から絶縁皮膜を十分に除去することができる。したがって、本発明の絶縁電線を用いたコイルないし電気・電子機器は、導体の損失が抑えられて、電気的な接続状態が良好で性能がより高められる。また、本発明の電気・電子機器の製造方法は、上記本発明の電気・電子機器を製造するのに好適な方法である。
【図面の簡単な説明】
【0010】
本発明の一実施形態に係る絶縁電線の構成例を模式的に示す断面図である。
本発明の他の実施形態に係る絶縁電線の構成例を模式的に示す断面図である。
本発明の電気・電子機器に用いられるステータの好ましい形態を示す概略斜視図である。
本発明の電気・電子機器に用いられるステータの好ましい形態を示す概略斜視図である。
本発明の電気・電子機器の製造方法の一形態を模式的に示す説明図である。
【発明を実施するための形態】
(【0011】以降は省略されています)
この特許をJ-PlatPat(特許庁公式サイト)で参照する
関連特許
東ソー株式会社
絶縁電線
1か月前
APB株式会社
蓄電セル
1か月前
マクセル株式会社
電源装置
1か月前
ローム株式会社
半導体装置
1か月前
日新イオン機器株式会社
イオン源
1か月前
株式会社東芝
端子台
1か月前
株式会社GSユアサ
蓄電設備
1か月前
株式会社GSユアサ
蓄電装置
9日前
富士電機株式会社
電磁接触器
9日前
株式会社GSユアサ
蓄電装置
23日前
株式会社ホロン
冷陰極電子源
1か月前
株式会社GSユアサ
蓄電装置
1か月前
三菱電機株式会社
回路遮断器
17日前
株式会社GSユアサ
蓄電装置
1か月前
株式会社GSユアサ
蓄電設備
1か月前
大電株式会社
電線又はケーブル
1日前
トヨタ自動車株式会社
バッテリ
1か月前
日新イオン機器株式会社
基板処理装置
1か月前
北道電設株式会社
配電具カバー
1か月前
日本特殊陶業株式会社
保持装置
22日前
ホシデン株式会社
複合コネクタ
3日前
トヨタ自動車株式会社
蓄電装置
1日前
日本特殊陶業株式会社
保持装置
1か月前
トヨタ自動車株式会社
冷却構造
1か月前
トヨタ自動車株式会社
蓄電装置
1か月前
株式会社レゾナック
冷却器
17日前
住友電装株式会社
コネクタ
9日前
トヨタ自動車株式会社
電池パック
1か月前
ヒロセ電機株式会社
電気コネクタ
9日前
甲神電機株式会社
変流器及び零相変流器
24日前
株式会社デンソー
電子装置
1か月前
日本無線株式会社
レーダアンテナ
24日前
ローム株式会社
半導体装置
1か月前
ローム株式会社
半導体モジュール
10日前
トヨタ自動車株式会社
密閉型電池
1か月前
住友電装株式会社
コネクタ
1か月前
続きを見る
他の特許を見る