TOP
|
特許
|
意匠
|
商標
特許ウォッチ
Twitter
他の特許を見る
10個以上の画像は省略されています。
公開番号
2025150865
公報種別
公開特許公報(A)
公開日
2025-10-09
出願番号
2024052005
出願日
2024-03-27
発明の名称
固体酸化物形電解セルおよびその利用
出願人
日本特殊陶業株式会社
代理人
個人
,
個人
主分類
C25B
9/00 20210101AFI20251002BHJP(電気分解または電気泳動方法;そのための装置)
要約
【課題】空気極の周縁へのクラックの発生を抑制できる技術を提供する。
【解決手段】
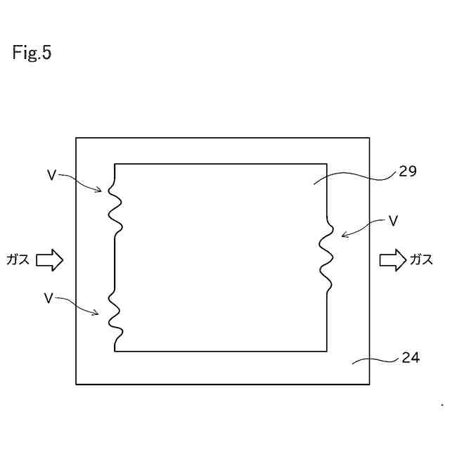
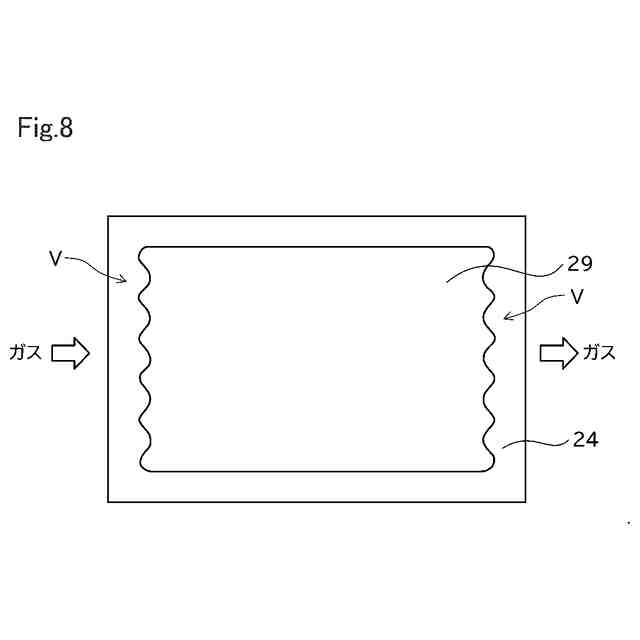
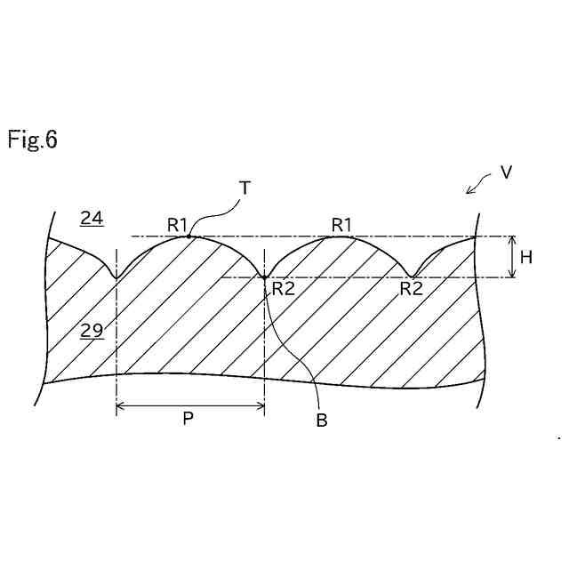
固体酸化物形電解セルは、空気極と、燃料極と、前記空気極と前記燃料極との間に配置された固体電解質層と、を備え、前記空気極の周縁は、一部又は全周において、凹凸が交互に繰り返す凹凸部を有し、前記凹凸部において、頂部と底部はいずれも円弧状であり、前記底部の円弧半径R2に対する前記頂部の円弧半径R1の割合(R1/R2)は、3.0以上である。
【選択図】図5
特許請求の範囲
【請求項1】
空気極と、
燃料極と、
前記空気極と前記燃料極との間に配置された固体電解質層と、
を備え、
前記空気極の周縁は、一部又は全周において、凹凸が交互に繰り返す凹凸部を有し、
前記凹凸部において、頂部と底部はいずれも円弧状であり、
前記底部の円弧半径R2に対する前記頂部の円弧半径R1の割合(R1/R2)は、3.0以上である、
固体酸化物形電解セル。
続きを表示(約 1,000 文字)
【請求項2】
請求項1に記載の固体酸化物形電解セルにおいて、
前記凹凸部が、前記空気極の少なくとも1辺に存在する、
固体酸化物形電解セル。
【請求項3】
請求項2に記載の固体酸化物形電解セルにおいて、
前記凹凸部が、前記1辺に2箇所以上に存在する、
固体酸化物形電解セル。
【請求項4】
請求項1または請求項2に記載の固体酸化物形電解セルにおいて、
前記凹凸部が、酸素を含むガスの流れに対し、少なくとも上流側の1辺に存在する、
固体酸化物形電解セル。
【請求項5】
請求項1または請求項2に記載の固体酸化物形電解セルにおいて、
前記燃料極には、水蒸気を含む燃料ガスが、100~130リットル/(分・cm
2
)の流量で供給されて用いられる、
固体酸化物形電解セル。
【請求項6】
請求項1または請求項2に記載の固体酸化物形電解セルにおいて、
前記空気極には、酸素を含むガスが、30~50リットル/(分・cm
2
)の流量で供給されて用いられる、
固体酸化物形電解セル。
【請求項7】
請求項1または請求項2に記載の固体酸化物形電解セルにおいて、
前記空気極が面する空気室の容積が、9cm
3
~11cm
3
である、
固体酸化物形電解セル。
【請求項8】
請求項1または請求項2に記載の固体酸化物形電解セルと、
前記固体電解質層に配置される、中央が開口したセパレータと、を備える、
セパレータ付きセル。
【請求項9】
請求項1または請求項2に記載の固体酸化物形電解セルを複数積層した電解スタック。
【請求項10】
請求項9に記載の電解スタックと、
前記電解スタックに供給される水蒸気を生成する気化器と、
前記電解スタックに供給されるガスとの間で熱交換を行う熱交換器と、
前記電解スタックを加熱するためのヒータと、
前記電解スタック、前記気化器、前記熱交換器および前記ヒータが内部に配置された断熱材と、を備える、
ホットモジュール。
(【請求項11】以降は省略されています)
発明の詳細な説明
【技術分野】
【0001】
本開示は、固体酸化物形電解セルおよびその利用に関する。
続きを表示(約 1,500 文字)
【背景技術】
【0002】
水素と酸素との電気化学反応を利用して発電を行う固体酸化物形の燃料電池(以下、「SOFC」という。)が知られている。例えば、特許文献1に記載のSOFCの構成単位である燃料電池の単セルは、固体酸化物を含む電解質層と、電解質層に対して一方側に配置された空気極と、電解質層に対して他方側に配置された燃料極とを備える。空気極に供給された酸素から解離された酸素イオンが、固体電解質の酸素伝導度に基づいて燃料極に移動し、燃料極に供給される燃料ガスに含まれる水素と反応し水蒸気を生成するとともに電気を発生する。
【0003】
上記のSOFCは、逆向きに通電することにより、固体酸化物形電解セル(以下、単に「SOEC」という。)として用いることが可能であり、再生可能エネルギーの導入過程で課題となっている余剰電力等を用いて水蒸気を水素に変換する形態の蓄エネルギー技術として用いられることが知られている。燃料極に水蒸気を供給するとともに、空気極と燃料極の間に電流を流すと、水蒸気が電気分解され燃料極から水素が発生し、燃料極で生成した酸素イオンが固体電解質の酸素伝導度に基づいて空気極に移動し、空気極から酸素が発生する。
【先行技術文献】
【特許文献】
【0004】
特開2023-080459号公報
【発明の概要】
【発明が解決しようとする課題】
【0005】
SOFCは、反応の際に発熱する。このため、SOFCは温度が上昇する傾向にある。これに対し、SOECは、運転開始時から熱中立点に到達する間において温度が下降する傾向となる時が存在する。このため、SOFCは温度上昇により空気極が膨張することによって空気極にクラックが発生する虞があるのに対し、SOECは温度下降により空気極が収縮することによって空気極にクラックが発生する虞がある。
【課題を解決するための手段】
【0006】
本開示は、以下の形態として実現することができる。
【0007】
(1)本開示の一形態によれば、固体酸化物形電解セルが提供される。この固体酸化物形電解セルは、空気極と、燃料極と、前記空気極と前記燃料極との間に配置された固体電解質層と、を備え、前記空気極の周縁は、一部又は全周において、凹凸が交互に繰り返す凹凸部を有し、前記凹凸部において、頂部と底部はいずれも円弧状であり、前記底部の円弧半径R2に対する前記頂部の円弧半径R1の割合(R1/R2)は、3.0以上である。この形態の固体酸化物形電解セルによれば、空気極の周縁へのクラックの発生を抑制することができる。
【0008】
(2)上記(1)に記載の固体酸化物形電解セルにおいて、前記凹凸部が、前記空気極の少なくとも1辺に存在してもよい。この形態の固体酸化物形電解セルによれば、空気極の周縁へのクラックの発生を効率的に抑制することができる。
【0009】
(3)上記(2)に記載の固体酸化物形電解セルにおいて、前記凹凸部が、前記1辺に2箇所以上に存在してもよい。この形態の固体酸化物形電解セルによれば、空気極の周縁へのクラックの発生を効率的に抑制することができる。
【0010】
(4)上記(1)から(3)までのいずれか一項に記載の固体酸化物形電解セルにおいて、前記凹凸部が、酸素を含むガスの流れに対し、少なくとも上流側の1辺に存在してもよい。この形態の固体酸化物形電解セルによれば、空気極の周縁へのクラックの発生を効率的に抑制することができる。
(【0011】以降は省略されています)
この特許をJ-PlatPat(特許庁公式サイト)で参照する
関連特許
日本特殊陶業株式会社
センサ
27日前
日本特殊陶業株式会社
センサ
27日前
日本特殊陶業株式会社
センサ
27日前
日本特殊陶業株式会社
センサ
27日前
日本特殊陶業株式会社
センサ
27日前
日本特殊陶業株式会社
センサ
13日前
日本特殊陶業株式会社
加熱装置
20日前
日本特殊陶業株式会社
圧電素子
13日前
日本特殊陶業株式会社
保持部材
20日前
日本特殊陶業株式会社
保持装置
16日前
日本特殊陶業株式会社
化学センサ
1日前
日本特殊陶業株式会社
圧電発音体
27日前
日本特殊陶業株式会社
電極埋設部材
今日
日本特殊陶業株式会社
セラミック部品
28日前
日本特殊陶業株式会社
スパークプラグ
20日前
日本特殊陶業株式会社
ホットモジュール
28日前
日本特殊陶業株式会社
無鉛圧電磁器組成物
13日前
日本特殊陶業株式会社
アンモニアの合成装置
9日前
日本特殊陶業株式会社
アンモニアの合成装置
9日前
日本特殊陶業株式会社
圧電セラミック積層体
27日前
日本特殊陶業株式会社
電極および蓄電デバイス
今日
日本特殊陶業株式会社
電極および蓄電デバイス
今日
日本特殊陶業株式会社
アンモニアの合成システム
9日前
日本特殊陶業株式会社
回路基板、およびパワーデバイス
22日前
日本特殊陶業株式会社
回路基板、およびパワーデバイス
22日前
日本特殊陶業株式会社
セラミック組成物、およびセラミック部品
28日前
日本特殊陶業株式会社
電気化学反応用触媒、電極、および電気化学デバイス
20日前
日本特殊陶業株式会社
センサ素子、ガスセンサ、およびセンサ素子の製造方法
今日
日本特殊陶業株式会社
電気化学セル、固体酸化物形電解セル、セルスタック、ホットモジュール、および水素製造装置
27日前
日本特殊陶業株式会社
インターカレーションのための溶液、インターカレーション方法、電極の製造方法、電極および電気化学素子
9日前
日本特殊陶業株式会社
電気化学セル、固体酸化物形電解セル、セルスタック、ホットモジュール、およびガス製造装置
13日前
有限会社 ナプラ
端子
2か月前
株式会社カネカ
電解装置
2か月前
株式会社ノーリツ
電解水生成装置
2か月前
株式会社堤水素研究所
水電解装置
今日
SMD株式会社
めっき処理装置
2か月前
続きを見る
他の特許を見る