TOP
|
特許
|
意匠
|
商標
特許ウォッチ
Twitter
他の特許を見る
公開番号
2025156976
公報種別
公開特許公報(A)
公開日
2025-10-15
出願番号
2024059768
出願日
2024-04-02
発明の名称
回路基板、およびパワーデバイス
出願人
日本特殊陶業株式会社
代理人
弁理士法人プロスペック特許事務所
主分類
H01L
23/13 20060101AFI20251007BHJP(基本的電気素子)
要約
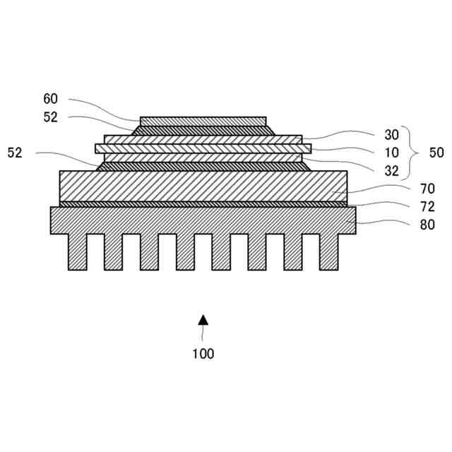
【課題】セラミックス基板と導体層との間の伝熱性を維持しつつ、セラミックス基板と導体層との接合強度を高くすることができ、信頼性を向上できる回路基板及びパワーデバイスを提供する。
【解決手段】窒化ケイ素を主成分とする材料からなるセラミックス基板10と、前記セラミックス基板10の一方の主面12に形成されたチタン又はチタンを含む化合物を含む接合層20と、前記接合層20を介して前記セラミックス基板10に接合された銅を含む導体層30と、を備え、前記接合層20は、チタン又はチタンを含む化合物を主成分とし、銅又は銅を含む化合物からなる微粒子24を含む接合強化層22を含む回路基板50。
【選択図】図1
特許請求の範囲
【請求項1】
窒化ケイ素を主成分とする材料からなるセラミックス基板と、
前記セラミックス基板の一方の主面に形成されたチタン又はチタンを含む化合物を含む接合層と、
前記接合層を介して前記セラミックス基板に接合された銅を含む導体層と、を備え、
前記接合層は、チタン又はチタンを含む化合物を主成分とし、銅又は銅を含む化合物からなる微粒子を含む接合強化層を含むことを特徴とする、回路基板。
続きを表示(約 470 文字)
【請求項2】
前記微粒子は、前記セラミックス基板と前記接合層との界面から0.3μm以内に面積比で5%以上存在することを特徴とする、請求項1に記載の回路基板。
【請求項3】
前記セラミックス基板と前記接合層との界面に形成された空孔に対し、前記空孔の端部から前記接合層側の0.2μm以内に前記微粒子が存在することを特徴とする、請求項1又は請求項2に記載の回路基板。
【請求項4】
前記セラミックス基板の前記一方の主面に対向する他方の主面に形成されたチタン又はチタンを含む化合物を含む第2の接合層と、
前記第2の接合層を介して前記セラミックス基板に接合された銅を含む第2の導体層と、を更に備え、
前記回路基板の前記一方の主面に垂直な方向の熱伝導率は、118W/mK以上であることを特徴とする請求項1又は請求項2に記載の回路基板。
【請求項5】
請求項1又は請求項2に記載の回路基板と、
前記導体層に搭載されたパワー半導体と、を備えることを特徴とするパワーデバイス。
発明の詳細な説明
【技術分野】
【0001】
本発明は、回路基板、およびパワーデバイスに関する。
続きを表示(約 1,600 文字)
【背景技術】
【0002】
窒化ケイ素は高い熱伝導率と強度を有する事から、EV(Electric Vehicle)やHV(Hybrid Vehicle)に搭載されるインバーター用パワーモジュールの絶縁性放熱基板として注目されている。従来、絶縁性の放熱基板材料としては窒化アルミニウムが多く用いられてきたが、EVなどの大電流用パワーモジュールの場合、250℃程度まで高温化し、接合された銅などの金属との熱膨張差から基板に大きな熱応力が発生し、強度の低い窒化アルミニウムはクラックや割れが発生してしまっていた。その為、熱伝導は窒化アルミニウムには劣るものの、一般的な絶縁性セラミックスの中では高熱伝導であり、更に高い強度を有する窒化ケイ素の採用が進んでいる。窒化ケイ素放熱基板と導体層との接合は、一般的には金属を含むろう材を介在させたろう付け法により行われている。
【0003】
特許文献1には、窒化珪素基板の少なくとも一方の表面側に、銅又は銅合金からなる導体層を積層してなる金属セラミック接合基板であって、前記窒化珪素基板と導体層との間に、窒化チタン、窒化ジルコニウム、窒化バナジウム、及び、窒化アルミニウムからなる群から選択される少なくとも一種の化合物を含み且つ銀を含まない接合層が介在し、該接合層の介在下で、前記窒化珪素基板と導体層とが接合されてなり、前記接合層中の酸素濃度が3×10
19
atoms/cm
3
以上である金属セラミック接合基板が開示されている。
【先行技術文献】
【特許文献】
【0004】
特許第6499545号公報
【発明の概要】
【発明が解決しようとする課題】
【0005】
特許文献1は、窒化珪素基板と導体層とを、比較的薄い厚みの接合層によって接合させることで、微細な回路パターンを形成可能とし、また所要の放熱性能を発揮することができると記載されている。しかしながら、特許文献1に記載された接合強度では、冷熱サイクルに対する耐性が十分でない場合があった。
【0006】
このようなことから、パワーデバイスの回路基板として窒化ケイ素放熱基板と導体層とを接合した回路基板を使用する場合、放熱性を維持しつつ、接合強度をより高めた回路基板が要望されていた。
【0007】
本発明は、このような事情に鑑みてなされたものであり、セラミックス基板と導体層との間の伝熱性を維持しつつ、セラミックス基板と導体層との接合強度を高くすることができ、信頼性を向上できる回路基板及びパワーデバイスを提供することを目的とする。
【課題を解決するための手段】
【0008】
(1)上記の目的を達成するため、本発明の回路基板は、以下の手段を講じた。すなわち、本発明の適用例の回路基板は、窒化ケイ素を主成分とする材料からなるセラミックス基板と、前記セラミックス基板の一方の主面に形成されたチタン又はチタンを含む化合物を含む接合層と、前記接合層を介して前記セラミックス基板に接合された銅を含む導体層と、を備え、前記接合層は、チタン又はチタンを含む化合物を主成分とし、銅又は銅を含む化合物からなる微粒子を含む接合強化層を含む。
【0009】
(2)また、上記(1)の適用例の回路基板において、前記微粒子は、前記セラミックス基板と前記接合層との界面から0.3μm以内に面積比で5%以上存在する。
【0010】
(3)また、上記(1)または(2)の適用例の回路基板において、前記セラミックス基板と前記接合層との界面に形成された空孔に対し、前記空孔の端部から前記接合層側の0.2μm以内に前記微粒子が存在する。
(【0011】以降は省略されています)
この特許をJ-PlatPat(特許庁公式サイト)で参照する
関連特許
日本特殊陶業株式会社
電極
1か月前
日本特殊陶業株式会社
電極
1か月前
日本特殊陶業株式会社
電極
1か月前
日本特殊陶業株式会社
電極
1か月前
日本特殊陶業株式会社
センサ
28日前
日本特殊陶業株式会社
センサ
28日前
日本特殊陶業株式会社
センサ
28日前
日本特殊陶業株式会社
センサ
28日前
日本特殊陶業株式会社
センサ
28日前
日本特殊陶業株式会社
センサ
14日前
日本特殊陶業株式会社
加熱装置
21日前
日本特殊陶業株式会社
保持装置
17日前
日本特殊陶業株式会社
保持装置
1か月前
日本特殊陶業株式会社
圧電素子
14日前
日本特殊陶業株式会社
保持部材
21日前
日本特殊陶業株式会社
化学センサ
2日前
日本特殊陶業株式会社
圧電発音体
28日前
日本特殊陶業株式会社
電極埋設部材
1日前
日本特殊陶業株式会社
セラミック部品
29日前
日本特殊陶業株式会社
スパークプラグ
21日前
日本特殊陶業株式会社
ホットモジュール
29日前
日本特殊陶業株式会社
ホットモジュール
29日前
日本特殊陶業株式会社
無鉛圧電磁器組成物
14日前
日本特殊陶業株式会社
圧電セラミック積層体
28日前
日本特殊陶業株式会社
アンモニアの合成装置
10日前
日本特殊陶業株式会社
アンモニアの合成装置
10日前
日本特殊陶業株式会社
ガスセンサの製造方法
1か月前
日本特殊陶業株式会社
電極および蓄電デバイス
1日前
日本特殊陶業株式会社
電極および蓄電デバイス
1日前
日本特殊陶業株式会社
アンモニアの合成システム
10日前
日本特殊陶業株式会社
金属有機構造体、および賦形体
1か月前
日本特殊陶業株式会社
回路基板、およびパワーデバイス
23日前
日本特殊陶業株式会社
回路基板、およびパワーデバイス
23日前
日本特殊陶業株式会社
固体酸化物形電解セルおよびその利用
29日前
日本特殊陶業株式会社
固体酸化物形電解セルおよびその利用
29日前
日本特殊陶業株式会社
固体酸化物形電解セルおよびその利用
29日前
続きを見る
他の特許を見る