TOP
|
特許
|
意匠
|
商標
特許ウォッチ
Twitter
他の特許を見る
公開番号
2025161302
公報種別
公開特許公報(A)
公開日
2025-10-24
出願番号
2024064386
出願日
2024-04-12
発明の名称
無鉛圧電磁器組成物
出願人
日本特殊陶業株式会社
代理人
弁理士法人暁合同特許事務所
主分類
C04B
35/495 20060101AFI20251017BHJP(セメント;コンクリート;人造石;セラミックス;耐火物)
要約
【課題】圧電特性に優れた無鉛圧電磁器組成物を提供する。
【解決手段】無鉛圧電磁器組成物は、ニオブ酸アルカリ系ペロブスカイト型酸化物からなる第1結晶相で形成された主相と、Liが添加されたM-Nb-O系タングステンブロンズ型化合物(元素Mは1から4価の元素)からなる第2結晶相を含む副相と、を含む。
【選択図】図1
特許請求の範囲
【請求項1】
ニオブ酸アルカリ系ペロブスカイト型酸化物からなる第1結晶相で形成された主相と、
Liが添加されたM-Nb-O系タングステンブロンズ型化合物(元素Mは1から4価の元素)からなる第2結晶相を含む副相と、
を含む、無鉛圧電磁器組成物。
続きを表示(約 210 文字)
【請求項2】
前記元素Mは、K,Baのうちの少なくとも1種である、請求項1に記載の無鉛圧電磁器組成物。
【請求項3】
前記Liが添加されたM-Nb-O系タングステンブロンズ型化合物は、
組成式M
x
NbO
3-δ
(ただし、δは酸素の欠損あるいは過剰を示す値)で表され、かつ、xが0≦x≦1を満たす化合物を主成分とする、請求項1又は2に記載の無鉛圧電磁器組成物。
発明の詳細な説明
【技術分野】
【0001】
本開示は、無鉛圧電磁器組成物に関する。
続きを表示(約 1,500 文字)
【背景技術】
【0002】
従来、圧電磁器(圧電セラミックス)の多くは、PZT(チタン酸ジルコン酸鉛)系の材料で構成されている。しかしながら、PZTに含まれる鉛成分が、環境負荷の原因となるため、問題視されている。このため、近年、鉛を含まない無鉛圧電磁器の材料の開発が進められている。以下、鉛を含まない無鉛圧電磁器の材料を、無鉛圧電磁器組成物という。
【0003】
無鉛圧電磁器組成物の一例として、特許文献1に記載の無鉛圧電磁器組成物が知られている。特許文献1は、ニオブ酸アルカリ系ペロブスカイト型酸化物からなる第1結晶相で形成された主相と、M-Ti-O系スピネル型化合物(元素Mは1から4価の元素)からなる第2結晶相を含む副相とを有する無鉛圧電磁器組成物を開示している。特許文献1は、第1結晶相を形成するニオブ酸アルカリ系ペロブスカイト型酸化物及び第2結晶相を構成するM-Ti-O系スピネル型化合物のそれぞれが、Li元素を含んで構成されることによって、無鉛圧電磁器組成物の焼結性及び圧電特性が改善することを開示している。
【先行技術文献】
【特許文献】
【0004】
特許第5715309号公報
【発明の概要】
【発明が解決しようとする課題】
【0005】
ニオブ酸アルカリ系ペロブスカイト型酸化物を主相とした、圧電特性に優れた無鉛圧電磁器組成物の開発が望まれている。
【0006】
本開示は、圧電特性に優れた無鉛圧電磁器組成物を提供することを目的とする。
【課題を解決するための手段】
【0007】
本開示の無鉛圧電磁器組成物は、ニオブ酸アルカリ系ペロブスカイト型酸化物からなる第1結晶相で形成された主相と、Liが添加されたM-Nb-O系タングステンブロンズ型化合物(元素Mは1から4価の元素)からなる第2結晶相を含む副相と、を含む。
【発明の効果】
【0008】
本開示によれば、圧電特性に優れた無鉛圧電磁器組成物を提供することができる。
【図面の簡単な説明】
【0009】
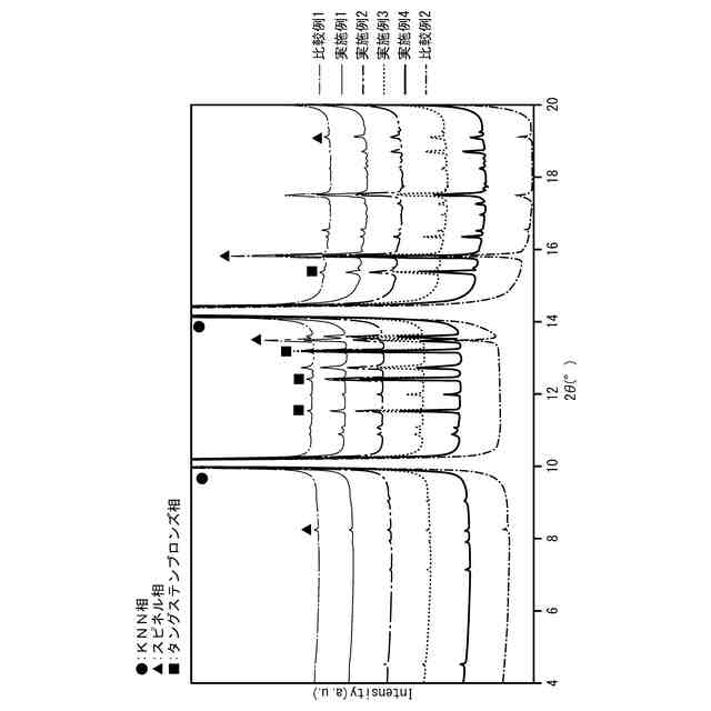
図1は、実施例1~4及び比較例1,2の各測定サンプルについての、回折角2θが4°~20°の範囲の放射線XRDパターンを示す図である。
図2は、実施例1~4及び比較例1,2の各測定サンプルについての、誘導結合プラズマ質量分析法による元素分析結果を示す図である。
図3は、実施例1~4に対応する、Liを含む測定サンプルの表面のうち、主にKNN相とスピネル相とが存在する領域に対する、飛行時間二次イオン質量分析によるイオンのマッピング測定結果を示す図である。
図4は、実施例1~4に対応する、Liを含む測定サンプルの表面のうち、主にKNN相とタングステンブロンズ相とが存在する領域に対する、飛行時間二次イオン質量分析によるイオンのマッピング測定結果を示す図である。
図5は、実施例1~4及び比較例1,2に係る圧電素子のそれぞれについて熱サイクル試験を実施した結果を示す図である。
【発明を実施するための形態】
【0010】
最初に本開示の実施形態を列挙して説明する。
<1>本開示の無鉛圧電磁器組成物は、ニオブ酸アルカリ系ペロブスカイト型酸化物からなる第1結晶相で形成された主相と、Liが添加されたM-Nb-O系タングステンブロンズ型化合物(元素Mは1から4価の元素)からなる第2結晶相を含む副相と、を含む。
(【0011】以降は省略されています)
この特許をJ-PlatPat(特許庁公式サイト)で参照する
関連特許
日本特殊陶業株式会社
センサ
1か月前
日本特殊陶業株式会社
センサ
23日前
日本特殊陶業株式会社
センサ
1か月前
日本特殊陶業株式会社
センサ
1か月前
日本特殊陶業株式会社
保持部材
1か月前
日本特殊陶業株式会社
加熱装置
1か月前
日本特殊陶業株式会社
保持装置
26日前
日本特殊陶業株式会社
圧電素子
23日前
日本特殊陶業株式会社
保持装置
2日前
日本特殊陶業株式会社
保持装置
9日前
日本特殊陶業株式会社
ガスセンサ
4日前
日本特殊陶業株式会社
化学センサ
11日前
日本特殊陶業株式会社
圧電発音体
1か月前
日本特殊陶業株式会社
電極埋設部材
10日前
日本特殊陶業株式会社
スパークプラグ
9日前
日本特殊陶業株式会社
スパークプラグ
1か月前
日本特殊陶業株式会社
無鉛圧電磁器組成物
23日前
日本特殊陶業株式会社
セルスタックシステム
9日前
日本特殊陶業株式会社
アンモニアの合成装置
19日前
日本特殊陶業株式会社
アンモニアの合成装置
19日前
日本特殊陶業株式会社
電極および蓄電デバイス
10日前
日本特殊陶業株式会社
検知装置および検知方法
9日前
日本特殊陶業株式会社
電極および蓄電デバイス
10日前
日本特殊陶業株式会社
アンモニアの合成システム
19日前
日本特殊陶業株式会社
回路基板、およびパワーデバイス
1か月前
日本特殊陶業株式会社
回路基板、およびパワーデバイス
1か月前
日本特殊陶業株式会社
磁性コイル、および無線給電用デバイス
9日前
日本特殊陶業株式会社
酸素発生反応用触媒、電極、および電気化学デバイス
2日前
日本特殊陶業株式会社
電気化学反応用触媒、電極、および電気化学デバイス
1か月前
日本特殊陶業株式会社
センサ素子、ガスセンサ、およびセンサ素子の製造方法
10日前
日本特殊陶業株式会社
インターカレーションのための溶液、インターカレーション方法、電極の製造方法、電極および電気化学素子
19日前
日本特殊陶業株式会社
電気化学セル、固体酸化物形電解セル、セルスタック、ホットモジュール、およびガス製造装置
23日前
個人
吸収材
9日前
個人
振動吸収材
9日前
個人
水質浄化剤
9日前
個人
空気清浄材
9日前
続きを見る
他の特許を見る