TOP
|
特許
|
意匠
|
商標
特許ウォッチ
Twitter
他の特許を見る
公開番号
2025158654
公報種別
公開特許公報(A)
公開日
2025-10-17
出願番号
2024061409
出願日
2024-04-05
発明の名称
電気化学反応用触媒、電極、および電気化学デバイス
出願人
日本特殊陶業株式会社
代理人
個人
,
個人
主分類
C25B
11/077 20210101AFI20251009BHJP(電気分解または電気泳動方法;そのための装置)
要約
【課題】貴金属の使用を削減しつつ、電気化学反応用触媒の活性を向上させる。
【解決手段】酸素または水素の電気化学反応用触媒は、ペロブスカイト型酸化物またはスピネル型酸化物によって構成され、コバルト(Co)と、鉄(Fe)またはニッケル(Ni)と、を含むと共に、3種以上の遷移金属元素を含み、ペロブスカイト型酸化物またはスピネル型酸化物に含まれる金属元素全体に対する、鉄(Fe)とニッケル(Ni)の合計の割合は、20モル%より多く、金属元素全体に対する、鉄(Fe)とニッケル(Ni)とコバルト(Co)の合計の割合は、40モル%以上である。
【選択図】図2
特許請求の範囲
【請求項1】
酸素または水素の電気化学反応用触媒であって、
ペロブスカイト型酸化物またはスピネル型酸化物によって構成され、
コバルト(Co)と、鉄(Fe)またはニッケル(Ni)と、を含むと共に、3種以上の遷移金属元素を含み、
前記ペロブスカイト型酸化物またはスピネル型酸化物に含まれる金属元素全体に対する、鉄(Fe)とニッケル(Ni)の合計の割合は、20モル%より多く、
前記金属元素全体に対する、鉄(Fe)とニッケル(Ni)とコバルト(Co)の合計の割合は、40モル%以上であることを特徴とする
電気化学反応用触媒。
続きを表示(約 420 文字)
【請求項2】
請求項1に記載の電気化学反応用触媒であって、
貴金属を含有しないことを特徴とする
電気化学反応用触媒。
【請求項3】
請求項1に記載の電気化学反応用触媒であって、
前記金属元素全体に対するコバルト(Co)の割合は、10モル%以上であることを特徴とする
電気化学反応用触媒。
【請求項4】
請求項1に記載の電気化学反応用触媒であって、
前記遷移金属元素としてマンガン(Mn)を含む場合には、鉄(Fe)とニッケル(Ni)の合計に対するマンガン(Mn)の割合は、20モル%以下であることを特徴とする
電気化学反応用触媒。
【請求項5】
請求項1から4までのいずれか一項に記載の電気化学反応用触媒を備えることを特徴とする電極。
【請求項6】
請求項5に記載の電極を備えることを特徴とする電気化学デバイス。
発明の詳細な説明
【技術分野】
【0001】
本開示は、電気化学反応用触媒、電極、および電気化学デバイスに関する。
続きを表示(約 3,200 文字)
【背景技術】
【0002】
エネルギ変換を伴う種々の電気化学デバイスで進行する電気化学反応として、例えば、酸素発生反応(OER:Oxygen Evolution Reaction)や酸素還元反応(ORR:Oxygen Reduction Reaction)や水素発生反応(HER:Hydrogen evolution reaction)等が知られており、これらの電気化学反応を促進するための種々の電気化学反応用触媒や電極が提案されている。例えば、特許文献1には、酸素発生反応(OER)を進行させる電解用アノードとして、金属元素Mを含む層状岩塩型白金含有複合酸化物(MPtO
2
)を用いる構成が開示されている。また、特許文献2には、酸素発生反応(OER)を進行させる金属空気電池の空気極や水電解装置の水電解アノードとして、LaNi
1-x-y
Cu
x
Fe
y
O
3-δ
(式中、x>0、y>0、x+y<1、0≦δ≦0.4)で表される電極が開示されている。
【先行技術文献】
【特許文献】
【0003】
特開2019-163508号公報
国際公開第2016/147720号
【発明の概要】
【発明が解決しようとする課題】
【0004】
特許文献1では、酸素発生反応(OER)用触媒として一般的に用いられている貴金属触媒である酸化イリジウム(IrO
2
)を超える活性を有する触媒を検討している。そして、白金ブロンズに比べてPtの使用量を相対的に少なくすることを可能にしている。しかしながら、特許文献1に記載の電極は、貴金属である白金を必須の元素として用いており、希少かつ高価な貴金属のさらなる削減が望まれていた。また、特許文献2に記載の電極は、貴金属を含まない複合酸化物を用いているが、触媒活性に関しては改善の余地があり、電気化学デバイスにおけるさらなる触媒活性の向上が望まれていた。
【課題を解決するための手段】
【0005】
本開示は、以下の形態として実現することが可能である。
[1]本開示の一形態によれば、酸素または水素の電気化学反応用触媒が提供される。この電気化学反応用触媒は、ペロブスカイト型酸化物またはスピネル型酸化物によって構成され、コバルト(Co)と、鉄(Fe)またはニッケル(Ni)と、を含むと共に、3種以上の遷移金属元素を含み、前記ペロブスカイト型酸化物またはスピネル型酸化物に含まれる金属元素全体に対する、鉄(Fe)とニッケル(Ni)の合計の割合は、20モル%より多く、前記金属元素全体に対する、鉄(Fe)とニッケル(Ni)とコバルト(Co)の合計の割合は、40モル%以上である。
この形態の電気化学反応用触媒によれば、電気化学反応用触媒をペロブスカイト型酸化物またはスピネル型酸化物によって構成された電気化学反応用触媒において、含有する遷移金属元素の種類および含有割合を上記のように調整することにより、電気化学反応用触媒の導電性を高めて触媒活性を向上させることができる。そのため、電気化学反応用触媒において、貴金属の使用を削減、あるいは不要としつつ、高い触媒活性を確保することが可能になる。
[2]上記形態の電気化学反応用触媒において、貴金属を含有しないこととしてもよい。このような構成とすれば、電気化学反応用触媒において貴金属の使用を不要としつつ、高い触媒活性を実現し、コストを低減することが可能になる。
[3]上記形態の電気化学反応用触媒において、前記金属元素全体に対するコバルト(Co)の割合は、10モル%以上であることとしてもよい。このような構成とすれば、電気化学反応用触媒における触媒活性を高めることが容易になる。
[4]上記形態の電気化学反応用触媒において、前記遷移金属元素としてマンガン(Mn)を含む場合には、鉄(Fe)とニッケル(Ni)の合計に対するマンガン(Mn)の割合は、20モル%以下であることとしてもよい。このような構成とすれば、電気化学反応用触媒において高い触媒活性を確保することが容易になる。
[5]本開示の他の一形態によれば、電極が提供される。この電極は、[1]から[4]までのいずれか一項に記載の電気化学反応用触媒を備える。
この形態の電極によれば、貴金属の使用を削減あるいは不要とした電極を用いつつ、電極で進行する電気化学反応の活性を高めることができる。
[6]本開示のさらに他の一形態によれば、上記形態の電極を備える電気化学デバイスが提供される。
この形態の電気化学デバイスによれば、貴金属の使用を削減あるいは不要とした電極を用いつつ、電極で進行する電気化学反応の活性を高めて、電気化学デバイスの性能を高めることができる。
本開示は、上記以外の種々の形態で実現可能であり、例えば、酸素還元反応(ORR)用触媒、酸素還元反応(ORR)用触媒、水素発生反応(HER)用触媒、電気化学反応用触媒の製造方法、上記触媒を含む電極を備えたアルカリ水電解装置、金属空気2次電池、光電極システム、および、固体酸化物形電解セルなどの形態で実現することが可能である。
【図面の簡単な説明】
【0006】
実施形態の電気化学反応用触媒の製造方法の一例を示すフローチャート。
実施例の各サンプルの構成および評価結果を示す説明図。
OERに関する触媒活性評価のための電気化学測定結果を示す説明図。
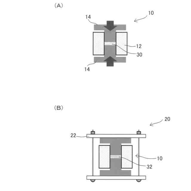
実施例の各サンプルの圧粉体の導電率の評価方法を示す説明。
【発明を実施するための形態】
【0007】
A.電気化学反応用触媒:
本実施形態の電気化学反応用触媒は、酸素または水素の電気化学反応を促進する触媒である。「酸素または水素の電気化学反応」とは、「酸素および水素の少なくとも一方を、反応物または生成物とする電気化学反応」を指す。具体的には、「酸素または水素の電気化学反応」としては、酸素発生反応(OER:Oxygen Evolution Reaction)や酸素還元反応(ORR:Oxygen Reduction Reaction)や水素発生反応(HER:Hydrogen evolution reaction)等を挙げることができる。
【0008】
酸素発生反応(OER)は、以下の(1)式あるいは(2)式で表される反応であり、水の酸化過程で生じる反応である。酸素還元反応(ORR)は、以下の(3)式で表される反応であり、酸素分子が水や過酸化水素に還元される反応である。水素発生反応(HER)は、以下の(4)式で表される反応であり、プロトンが還元されて水素を生じる反応である。
【0009】
4OH
-
→O
2
+2H
2
O+4e
-
… (1)
2H
2
O → O
2
+4H
+
+4e
-
… (2)
O
2
+4H
+
+4e
-
→ 2H
2
O … (3)
2H
+
+2e
-
→ H
2
… (4)
【0010】
本実施形態の電気化学反応用触媒は、ペロブスカイト型酸化物またはスピネル型酸化物によって構成されている。
(【0011】以降は省略されています)
この特許をJ-PlatPat(特許庁公式サイト)で参照する
関連特許
他の特許を見る