TOP
|
特許
|
意匠
|
商標
特許ウォッチ
Twitter
他の特許を見る
公開番号
2025135171
公報種別
公開特許公報(A)
公開日
2025-09-18
出願番号
2024032838
出願日
2024-03-05
発明の名称
電解装置
出願人
本田技研工業株式会社
代理人
弁理士法人桐朋
主分類
C25B
9/00 20210101AFI20250910BHJP(電気分解または電気泳動方法;そのための装置)
要約
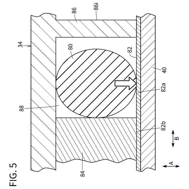
【解決手段】電解装置200は、電解セル12を備える。電解セル12は、第1電極42aと第2電極42bとの間に電解質膜40が介在する膜電極構造体30と、互いの間に膜電極構造体30を挟む第1セパレータ32及び第2セパレータ34とを有する。電解装置200は、シール部材80及び保護部材82をさらに備える。保護部材82は、第2電極42bの外周を囲む。保護部材82は、電解質膜40とシール部材80との間に介在する第1部分82aと、電解質膜40と第2セパレータ34との間に介在する第2部分82bとを有する。
【選択図】図5
特許請求の範囲
【請求項1】
第1電極と第2電極との間に電解質膜が介在する膜電極構造体と、互いの間に前記膜電極構造体を挟む第1セパレータ及び第2セパレータとを有する電解セルを備える電解装置であって、
前記第1電極に対し、電解反応に関与する流体を供給する流体供給部と、
前記第1電極と前記第2電極との間に電圧を印加する電源と、
前記第2電極の外周を囲み、前記電解質膜と前記第2セパレータとの間に介在するシール部材と、
前記第2電極の外周を囲むとともに、前記電解質膜と前記シール部材との間に介在する第1部分と、前記第1部分と別の部分であって、前記電解質膜と前記第2セパレータとの間に介在する第2部分とを有する保護部材と、
を備える、電解装置。
続きを表示(約 740 文字)
【請求項2】
請求項1に記載の電解装置において、前記シール部材の外周に向かい合う外周側壁部と、前記シール部材の内周に向かい合い外周を前記シール部材に囲まれる内周側壁部と、前記外周側壁部と前記内周側壁部との間に形成される環状溝とを備え、前記シール部材は前記環状溝に挿入され、
前記保護部材の内周側端部は、前記内周側壁部の内周側端部よりも内方に位置する、電解装置。
【請求項3】
請求項1に記載の電解装置において、前記シール部材の外周に向かい合う外周側壁部と、前記第2電極の外周面と前記外周側壁部の内周面との間に形成されて前記シール部材が移動可能に収容される空間部と、を備え、
前記保護部材の内周側端部は、前記シール部材の内周側端部よりも内方に位置する、電解装置。
【請求項4】
請求項1に記載の電解装置において、前記保護部材の内周面は、前記第2電極の外周部に当接する、電解装置。
【請求項5】
請求項1~4のいずれか1項に記載の電解装置において、前記保護部材は金属シートから形成されている、電解装置。
【請求項6】
請求項1~4のいずれか1項に記載の電解装置において、前記保護部材はゴムシートから形成されている、電解装置。
【請求項7】
請求項1~4のいずれか1項に記載の電解装置において、前記保護部材は金属シートとゴムシートとの積層シートを有する、電解装置。
【請求項8】
請求項1に記載の電解装置において、前記流体として供給された水を電気分解する水電解装置であり、前記第2電極にて生成されたガスが、前記第1電極にて生成されたガスよりも高圧である、電解装置。
発明の詳細な説明
【技術分野】
【0001】
本発明は、流体を電気分解するための電解装置に関する。
続きを表示(約 1,300 文字)
【背景技術】
【0002】
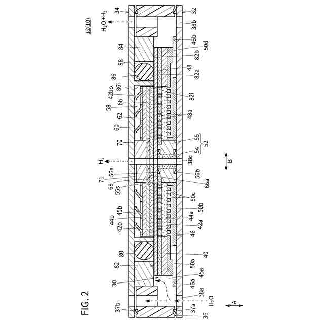
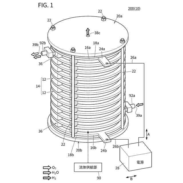
電解装置の1種として、水を電気分解して水素及び酸素を得る水電解装置が知られている(例えば、特許文献1参照)。水電解装置は電解セルを備える。電解セルは、膜電極構造体と、互いの間に膜電極構造体を挟む第1セパレータ及び第2セパレータとを有する。膜電極構造体は、第1電極と、第2電極と、第1電極と第2電極との間に介在する電解質膜とを有する。第1電極はアノード極又はカソード極の一方であり、第2電極はアノード極又はカソード極の他方である。
【0003】
電解質膜がプロトン伝導体である場合、カソード極では、電子、プロトン及び酸素が生成され、アノード極では水素が生成される。水素は酸素に比べて高圧にされる。電解質膜がアニオン伝導体である場合、カソード極では、水素及び水酸化物イオンが生成され、アノード極では酸素、水及び電子が生成される。酸素は水素に比べて高圧にされる。このように、水電解装置では、第1電極又は第2電極の一方に高圧ガスが生じる。
【先行技術文献】
【特許文献】
【0004】
特開2019-157213号公報
【発明の概要】
【発明が解決しようとする課題】
【0005】
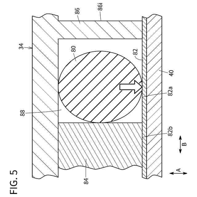
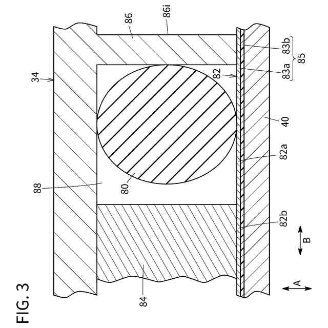
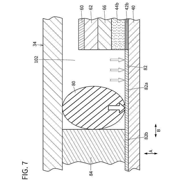
電解装置では、高圧ガスが生じる電極の外周を囲み、且つセパレータと電解質膜との間に介在するシール部材が設けられる。場合によっては、シール部材の内周に内周側壁部が設けられる。この構成では、内周側壁部において、電解質膜を向く面が電解質膜を押圧することがあり得る。このような状況下では、内周側壁部で押された電解質膜が変形する懸念がある。
【0006】
また、シール部材は、高圧ガスの圧力を受けて変形する。これに伴い、変形したシール部材で電解質膜が押圧される。この場合、シール部材で押された電解質膜が変形する懸念がある。
【0007】
本発明は、上述した課題を解決することを目的とする。
【課題を解決するための手段】
【0008】
本発明の態様は、第1電極と第2電極との間に電解質膜が介在する膜電極構造体と、互いの間に前記膜電極構造体を挟む第1セパレータ及び第2セパレータとを有する電解セルを備える電解装置である。
【0009】
電解装置は、前記第1電極に対し、電解反応に関与する流体を供給する流体供給部と、前記第1電極と前記第2電極との間に電圧を印加する電源と、前記第2電極の外周を囲み、前記電解質膜と前記第2セパレータとの間に介在するシール部材と、前記第2電極の外周を囲む保護部材とを備える。保護部材は、前記電解質膜と前記シール部材との間に介在する第1部分と、前記電解質膜と前記第2セパレータとの間に介在する第2部分とを有する。前記第1部分と前記第2部分とは互いに別の部分である。
【発明の効果】
【0010】
保護部材において、電解質膜とシール部材との間に介在する第1部分は、例えば、高圧ガスの圧力を受けたシール部材が変形した際、電解質膜を保護する。これにより、電解質膜が変形することが回避される。
【図面の簡単な説明】
(【0011】以降は省略されています)
この特許をJ-PlatPat(特許庁公式サイト)で参照する
関連特許
本田技研工業株式会社
車両
1か月前
本田技研工業株式会社
飛行体
1日前
本田技研工業株式会社
回転電機
3日前
本田技研工業株式会社
灯火器構造
1日前
本田技研工業株式会社
冷却液タンク
8日前
本田技研工業株式会社
蓄電システム
10日前
本田技研工業株式会社
差圧式電解装置
1か月前
本田技研工業株式会社
スポット溶接方法
1か月前
本田技研工業株式会社
回転電機用ロータ
17日前
本田技研工業株式会社
回転電機のロータ
1か月前
本田技研工業株式会社
電動無段変速装置
1か月前
本田技研工業株式会社
加水分解処理装置
1日前
本田技研工業株式会社
駆動装置ユニット
1か月前
本田技研工業株式会社
非接触電力伝送システム
10日前
本田技研工業株式会社
水素同位体分離システム
1日前
本田技研工業株式会社
金属シリコンの製造方法
17日前
本田技研工業株式会社
積層体、積層体の製造方法
9日前
本田技研工業株式会社
電力変換装置、および車両
9日前
本田技研工業株式会社
制御装置、および、制御方法
1か月前
本田技研工業株式会社
情報処理方法及びプログラム
29日前
本田技研工業株式会社
軟磁性鋼板およびその製造方法
1日前
本田技研工業株式会社
有機物処理装置および有機物処理方法
1日前
本田技研工業株式会社
有機物処理装置および有機物処理方法
1日前
本田技研工業株式会社
電解システムの制御装置および電解システム
2日前
本田技研工業株式会社
音声認識装置、音声認識方法、及びプログラム
3日前
本田技研工業株式会社
情報処理装置、情報処理方法、およびプログラム
29日前
本田技研工業株式会社
三次元モデル生成装置及び三次元モデル評価システム
1日前
本田技研工業株式会社
作動装置
29日前
本田技研工業株式会社
移動体の制御装置、移動体の制御方法、およびプログラム
24日前
本田技研工業株式会社
制御装置
1か月前
株式会社ダイセル
アルミニウム合金製摺動部材用潤滑剤
1日前
本田技研工業株式会社
学習装置、推定装置、学習方法、推定方法及びプログラム
1か月前
本田技研工業株式会社
車両、制御方法、プログラム、記憶媒体、及び情報処理装置
29日前
本田技研工業株式会社
有機物処理装置、有機物処理方法、および燃料ガスの製造方法
1日前
本田技研工業株式会社
電池の充電状態の補正方法、電池均等化方法、端末機器及び車両
16日前
タイガースポリマー株式会社
二次電池用加圧袋およびその製造方法
1日前
続きを見る
他の特許を見る