TOP
|
特許
|
意匠
|
商標
特許ウォッチ
Twitter
他の特許を見る
10個以上の画像は省略されています。
公開番号
2025121192
公報種別
公開特許公報(A)
公開日
2025-08-19
出願番号
2024016491
出願日
2024-02-06
発明の名称
バレルめっき装置
出願人
睦技研株式会社
代理人
弁理士法人豊栖特許事務所
主分類
C25D
17/20 20060101AFI20250812BHJP(電気分解または電気泳動方法;そのための装置)
要約
【課題】バレル内の中央部のスペースを有効活用して被めっき物の投入量を増加しながら、めっき品質、効率を維持または改善する。
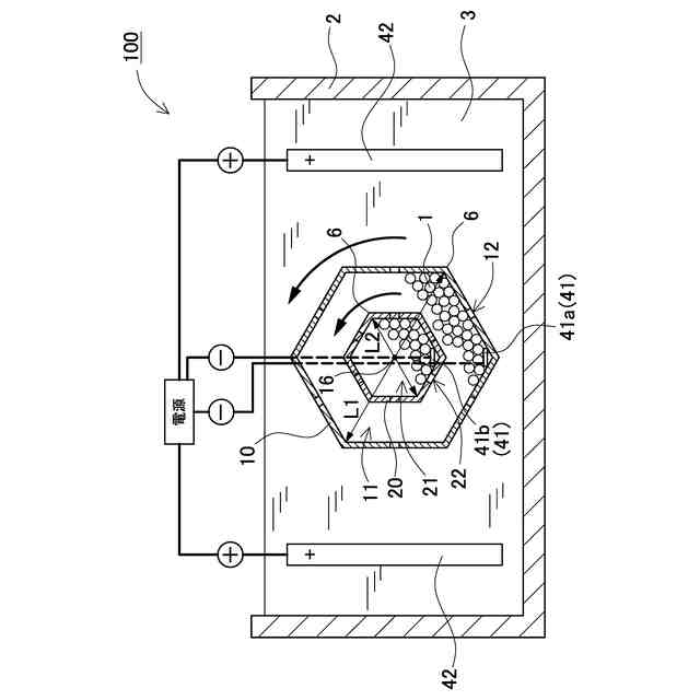
【解決手段】バレルめっき装置は、めっき液2が充填されてなるめっき槽3と、被めっき物1を収容する第1収容部11を有し、めっき液2が通液する第1通液開口12が設けられた第1バレル10と、第1バレル10内の中央部に配置され、被めっき物1が収容する第2収容部21を有し、めっき液2が通液する第2通液開口22が設けられた第2バレル20と、第1バレル10及び/または第2バレル20を回転する回転機構30と、第1バレル10と第2バレル20内に配置される被めっき物1をマイナス電位として、めっき液2をプラス電位とする電源40とを備え、第1バレル10と第2バレル20が浸漬位置で回転してめっきを施す。
【選択図】図1
特許請求の範囲
【請求項1】
めっき液が充填されてなるめっき槽と、
被めっき物を収容する第1収容部を有し、前記めっき液が通液する第1通液開口が設けられた第1バレルと、
前記第1バレル内の中央部に配置され、
被めっき物が収容する第2収容部を有し、前記めっき液が通液する第2通液開口が設けられた第2バレルと、
前記第1バレル及び/または前記第2バレルを回転する回転機構と、
前記第1バレルと前記第2バレル内に配置される前記被めっき物をマイナス電位として、前記めっき液をプラス電位とする電源とを備え、
前記第1バレルと前記第2バレルが前記めっき槽の前記めっき液に浸漬された浸漬位置で回転して前記被めっき物にめっきを施すバレルめっき装置。
続きを表示(約 1,200 文字)
【請求項2】
請求項1に記載のバレルめっき装置であって、
前記第2バレルの中心軸が、前記第1バレルの中心軸から前記第1バレルの直径または対角線の20%以内に配置されるバレルめっき装置。
【請求項3】
請求項1に記載のバレルめっき装置であって、
前記第2バレルの直径または対角線(L2)が、前記第1バレルの直径または対角線(L1)の1/5以上であるバレルめっき装置。
【請求項4】
請求項1に記載のバレルめっき装置であって、
前記第2バレルは、前記第1バレルと同じ方向に回転するバレルめっき装置。
【請求項5】
請求項1に記載のバレルめっき装置であって、
前記第2バレルが、前記第1バレルと異なる方向に回転するバレルめっき装置。
【請求項6】
請求項1に記載のバレルめっき装置であって、
前記第1バレル及び前記第2バレルが同一の前記回転機構で回転する、
または、前記第1バレルと前記第2バレルのいずれか一方の回転を利用して他方を回転するバレルめっき装置。
【請求項7】
請求項1に記載のバレルめっき装置であって、
前記第2バレルは、前記第1収容部内の前記被めっき物を撹拌する撹拌部を有するバレルめっき装置。
【請求項8】
請求項1に記載のバレルめっき装置であって、
前記第1バレル内に1または複数の第2バレルを備えるバレルめっき装置。
【請求項9】
請求項1ないし8のいずれか一項に記載のバレルめっき装置であって、
前記電源のマイナス側の電極端子に接続されて前記被めっき物をマイナス電位とする通電回路を有し、
前記通電回路が、
前記第1収容部内の前記被めっき物に接触する第1陰極と、
前記第1陰極と前記電源のマイナス側の電極端子とを接続する第1導入部と、
前記第2収容部内の前記被めっき物に接触する第2陰極と、
前記第2陰極と前記電源のマイナス側の電極端子とを接続する第2導入部と、
を有し、
前記第1バレルまたは/及び前記第2バレルの端面部に配置される回転軸が、前記第2導入部を挿通する挿通部を有し、前記挿通部が前記第2収容部に連通されるバレルめっき装置。
【請求項10】
請求項9に記載のバレルめっき装置であって、
前記第1導入部または/及び前記第2導入部が、
前記電源の前記マイナス側の電極端子に接続される電源側の陰極導入部と、
前記電源側の陰極導入部と分断され、前記第1陰極または/及び前記第2陰極に接続される陰極側の陰極導入部と、
前記電源側の陰極導入部と前記陰極側の陰極導入部とを電気的に接続する接続部とを有するバレルめっき装置。
発明の詳細な説明
【技術分野】
【0001】
本開示は、バレルめっき装置に関する。
続きを表示(約 2,500 文字)
【背景技術】
【0002】
電気めっき法の一手法として、バレルめっき(回転めっき)がある。回転式のバレルめっきは、筒状の樽(バレル、Barrel)の形をした容器に被めっき物(ワーク)を入れ、バレルを回転しながらめっきする。バレルめっき装置は、バレル内で被めっき物を適切に転動、混合し、堆積物の表層面に表出させる必要があり、めっき膜厚の均一化、めっき品質を維持するために、バレル内への被めっき物の投入量が一定量に制限される。バレル内に投入された適量の被めっき物は、バレル内の下方に塊状で堆積し、回転方向に持ち上げられながら、適切に転動、混合し、表層面に表出されることで、膜厚の均一化を図ることができ、めっき品質を維持できる。被めっき物の適量は、被めっき物の形状、サイズなどに応じて異なり、例えばバレルの容積に対し約1/4~1/3程度である。しかし、被めっき物を適切な投入量に制限した場合、被めっき物が存在しない、すなわちめっき処理できないデッドスペースがバレルの容積の約3/4~2/3程度と大きく生じる。被めっき物はバレル内の底部に塊状で堆積するため、バレル内の中央部のスペースを十分に有効活用できない問題がある。
【0003】
他方で、バレル内に被めっき物を適量以上に入れ過ぎた場合、被めっき物が適切に転動、混合されず、堆積する塊の内部に滞在し表層面に表出されない時間、非通電状態が長くなり、まためっき液との接触が不十分、不安定になり、めっき膜厚の均一化が図れず、めっき品質を維持できない問題が生じる。また、めっきに長時間を要し、めっき効率の低下を招く問題が生じる。バレル内のスペースを有効活用することと、めっき品質またはめっき効率の向上、維持することは、被めっき物を適量に制限するか否かの点で相反し、同時に実現することが難しい。
【先行技術文献】
【特許文献】
【0004】
特開平5-214597号公報
特開平5-222593号公報
【発明の概要】
【発明が解決しようとする課題】
【0005】
特許文献1に開示されるバレルめっき装置800は、図9に示すように、周部の一部が二重構造の渦巻き状で横軸の周りに回転するメッキドラム(バレル)を有し、被めっき物の出し入れを容易としてバレルめっきの自動化を図るものであるが、バレル内の中央部のスペースを有効活用できず、被めっき物の投入量を増加できない。むしろ、バレル周部の一部が二重構造の渦巻き状とすることで、バレルの最外周で一重のバレルを設けた場合よりも、被めっき物を収容量(投入量)は減少する。バレルの半径(または対角線の半分)が小さくなることは収容量を減少することを意味し、外周部の方が中央部よりも収容量の減少の程度は大きい。また被めっき物の堆積物の表層面を小さくし、被めっき物の転動、移動、混合を減少し、めっき品質に影響を及ぼし、または/及び品質を維持できる収容量が減少する問題がある。
【0006】
特許文献2に開示されるバレルめっき装置900は、図10に示すように、バレル容器内面に金網状の陰極を固定して設置する。このバレルめっき装置は、金網状内に収容される被めっき物の衝突による被めっき物の損傷をある程度防止できるが、中央部のスペースを有効活用できず、バレル内の投入量を増加できない。金網状内の被めっき物の撹拌、転動、移動、姿勢変更は制限され、めっき品質に影響を及ぼし、品質を維持のために時間を要する、金網状内の被めっき物とバレル内の被めっき物とを同様のめっき品質、めっき時間にすることは容易ではない。特許文献2のバレルめっき装置は、バレル内の中央部のスペースを有効活用して被めっき物の投入量を増加しながら、めっき品質、効率を維持または改善するという問題を解消できない。
【0007】
本発明は、以上の弊害を解消することを目的に開発されたもので、本発明の目的の1つは、バレル内の中央部のスペースを有効活用して被めっき物の投入量を増加しながら、めっき品質、効率を維持または改善することにある。
【課題を解決するための手段】
【0008】
本開示に係るある態様のバレルめっき装置は、めっき液が充填されてなるめっき槽と、内部に被めっき物を収容する第1収容部を有し、めっき液が通液する第1通液開口が設けられた第1バレルと、第1バレル内の中央部に配置され、被めっき物が収容する第2収容部を有し、めっき液が通液する第2通液開口が設けられた第2バレルと、第1バレル及び/または第2バレルを回転する回転機構と、第1バレルと第2バレル内に配置される被めっき物をマイナス電位として、めっき液をプラス電位とする電源とを備え、第1バレルと第2バレルがめっき槽のめっき液に浸漬された浸漬位置で回転して被めっき物にめっきを施す。
【発明の効果】
【0009】
以上のバレルめっき装置は、バレル内の中央部のスペースを有効活用して被めっき物の投入量を増加しながら、めっき品質、効率を維持または改善できる特長がある。
【図面の簡単な説明】
【0010】
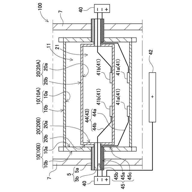
本開示の一実施形態に係るバレルめっき装置を示す模式斜視図である。
バレルめっき装置の他の例を示す模式断面図である。
バレルの他の例を示す模式断面図である。
本開示の他の実施例に係るバレルめっき装置を示す模式断面図である。
本開示の他の実施例に係るバレルめっき装置を示す模式断面図である。
本開示の他の実施形態に係るバレルめっき装置を示す模式断面図である。
本開示の他の実施形態に係るバレルめっき装置を示す模式断面図である。
本開示の他の実施形態に係るバレルめっき装置を示す模式断面図である。
特許文献1で示される従来のバレル式電気めっき装置の概略図である。
特許文献2で示される従来のバレル式電気めっき装置の概略図である。
【発明を実施するための形態】
(【0011】以降は省略されています)
この特許をJ-PlatPat(特許庁公式サイト)で参照する
関連特許
睦技研株式会社
バレルめっき装置
2か月前
本田技研工業株式会社
電解装置
1か月前
株式会社カネカ
可撓性ガス拡散電極
26日前
株式会社東芝
アルマイト処理方法
1か月前
本田技研工業株式会社
水電解システム
1か月前
本田技研工業株式会社
水電解スタック
22日前
本田技研工業株式会社
差圧式電解装置
2日前
一般財団法人電力中央研究所
電解反応装置
22日前
株式会社荏原製作所
蒸気発電プラント
15日前
SECカーボン株式会社
カソードアセンブリ
18日前
本田技研工業株式会社
電気化学スタック
1か月前
本田技研工業株式会社
CO2電解装置
22日前
メルテックス株式会社
極薄電解銅箔及びその製造方法
8日前
本田技研工業株式会社
電解セルの製造方法
1か月前
古河電気工業株式会社
端子
16日前
旭化成株式会社
電解装置の運転方法
4日前
三菱マテリアル株式会社
皮膜付端子材及びその製造方法
16日前
ナミックス株式会社
銅部材
1か月前
NOK株式会社
セルユニット
26日前
NOK株式会社
セルユニット
26日前
NOK株式会社
セルユニット
26日前
株式会社豊田中央研究所
電極
26日前
株式会社神戸製鋼所
導電材料およびその製造方法
1か月前
NOK株式会社
セルユニット
26日前
本田技研工業株式会社
膜電極構造体の製造方法
16日前
大阪瓦斯株式会社
共電解メタネーション装置
1日前
大阪瓦斯株式会社
共電解メタネーション装置
1日前
東京瓦斯株式会社
水電解システム
1か月前
三菱重工業株式会社
皮膜形成装置
15日前
本田技研工業株式会社
電気化学式水素昇圧システム
11日前
JX金属株式会社
電着金属の搬送システム及び搬送方法
1日前
本田技研工業株式会社
電気化学式水素昇圧システム
22日前
株式会社アイシン
電解システム
17日前
株式会社デンソー
セル制御システム
15日前
株式会社アイシン
電解システム
16日前
株式会社東芝
電解装置及び電解方法
1か月前
続きを見る
他の特許を見る