TOP
|
特許
|
意匠
|
商標
特許ウォッチ
Twitter
他の特許を見る
10個以上の画像は省略されています。
公開番号
2025167807
公報種別
公開特許公報(A)
公開日
2025-11-07
出願番号
2024072734
出願日
2024-04-26
発明の名称
水電解システムおよび水電解装置の制御方法
出願人
株式会社豊田中央研究所
代理人
個人
,
個人
主分類
C25B
15/027 20210101AFI20251030BHJP(電気分解または電気泳動方法;そのための装置)
要約
【課題】水電解装置の劣化を抑制しつつ、高い水素生成効率を実現する。
【解決手段】水電解システムは、水の電気分解を行う水電解部と、水電解部に電力を供給する電力供給部と、電力供給部から水電解部に供給される電流の大きさを検出する電流検出部と、電気分解される水の温度である水温度を取得する温度取得部と、取得された水温度が予め設定された上限温度以下となるように、電力供給部から水電解部に供給される電力を制御する制御部と、を備え、制御部は、電流検出部により検出された検出電流の増加に応じて、上限温度を低下させる
【選択図】図1
特許請求の範囲
【請求項1】
水電解システムであって、
水の電気分解を行う水電解部と、
前記水電解部に電力を供給する電力供給部と、
前記電力供給部から前記水電解部に供給される電流の大きさを検出する電流検出部と、
電気分解される水の温度である水温度を取得する温度取得部と、
取得された前記水温度が予め設定された上限温度以下となるように、前記電力供給部から前記水電解部に供給される電力を制御する制御部と、
を備え、
前記制御部は、前記電流検出部により検出された検出電流の増加に応じて、前記上限温度を低下させる、水電解システム。
続きを表示(約 1,300 文字)
【請求項2】
請求項1に記載の水電解システムであって、さらに、
前記水電解部に印加される電圧を取得する電圧取得部を備え、
前記制御部は、
取得された電圧が上限電圧を超える場合に、前記検出電流が、前記上限電圧が前記水電解部に印加された際に前記水電解部に供給される上限電流以下となるように、前記水電解部に供給される電力を低下させる、水電解システム。
【請求項3】
請求項1に記載の水電解システムであって、
前記制御部は、前記検出電流と前記上限温度とがマップまたは式で関連付けられた電流温度関係に基づいて前記上限温度を変化させる、水電解システム。
【請求項4】
請求項3に記載の水電解システムであって、
前記電流温度関係は、
前記検出電流と、前記上限温度としての第1上限温度とがマップまたは式で関連付けられた第1関係と、
前記検出電流と、前記上限温度として前記第1上限温度よりも高い第2上限温度とがマップまたは式で関連付けられた第2関係と、
を有し、
前記制御部は、前記第2関係に基づいて前記検出電流に応じて前記上限温度を変化させている場合に、前記水温度が前記第1上限温度以上で所定時間経過したときに、前記第1関係を用いて前記検出電流に基づいて前記上限温度を変化させる、水電解システム。
【請求項5】
請求項4に記載の水電解システムであって、さらに、
前記水電解部に供給される水を冷却する冷却部を備え、
前記制御部は、前記水温度が前記上限温度を超える場合に、前記冷却部を用いて前記水電解部に供給される水を冷却する、水電解システム。
【請求項6】
請求項5に記載の水電解システムであって、
前記制御部は、前記第2関係を用いて前記検出電流に応じて前記上限温度を変化させている場合に、前記水温度が前記第1上限温度以上の状態が所定時間経過したときに、前記水温度が前記第1上限温度以下になるまで、前記冷却部を用いて前記水電解部に供給される水を冷却する、水電解システム。
【請求項7】
請求項1から請求項6までのいずれか一項に記載の水電解システムであって、さらに、
前記水電解部に供給される水を加熱する加熱部を備え、
前記制御部は、前記水温度が前記上限温度未満の場合に、前記加熱部を用いて前記水電解部に供給される水を加熱する、水電解システム。
【請求項8】
水の電気分解を行う水電解装置の制御方法であって、制御装置が、
前記水電解装置に電力を供給する電力供給工程と、
前記水電解装置に供給される電流の大きさを検出する電流検出工程と、
電気分解される水の温度である水温度を取得する温度取得工程と、
取得された前記水温度が予め設定された上限温度以下となるように、前記水電解装置に供給される電力を制御する制御工程と、
を実行し、
前記制御工程では、検出された電流の増加に応じて、前記上限温度が低下させられる、制御方法。
発明の詳細な説明
【技術分野】
【0001】
本発明は、水電解システムおよび水電解装置の制御方法に関する。
続きを表示(約 1,900 文字)
【背景技術】
【0002】
水の電気分解(水電解)により水素を得る技術が知られている(例えば、特許文献1,2参照)。特許文献1には、水電解装置に供給される水と、水電解装置から排出される水との温度が検出される制御装置が記載されている。この制御装置は、排出される水の温度が規定温度を超えた場合に、水電解装置に供給される水を冷却する。特許文献2には、水電解装置の起動時に、定格運転時よりも電流密度を下げて温度を監視ながら起動する電流制御方法が記載されている。
【先行技術文献】
【特許文献】
【0003】
特開2017-203203号公報
特開2012-153965号公報
【発明の概要】
【発明が解決しようとする課題】
【0004】
水電解では、電気分解される水の温度が高いほど水素の生成効率が良くなる。一方で、温度が高すぎると水電解装置の劣化が進行する。生成効率を高めた上で水電解装置の劣化を抑制するため、特許文献1に記載された技術では、水電解装置から排出される水が規定温度を超えないように、水電解装置の発熱量が推定され、供給される水の温度が制御される。しかしながら、この技術では、排出される水の規定温度が超えないように制御することにより水電解装置の劣化を抑制するだけで、水素の生成効率の向上には改善の余地があった。
【0005】
特許文献2に記載された制御方法では、水電解装置の起動時と、定格運転時との比較により電流密度が制御されている。しかしながら、例えば再生エネルギーの変動に追随して水電解を行う場合には、定格運転だけではなく、部分負荷での運転が必要になる。すなわち、特許文献2に記載された技術では、複数の運転条件に対応する水電解装置の制御について考慮されていない。また、水電解装置の劣化には電流密度以外の温度等も関係するが、温度変化が水電解装置の劣化に与える影響について考慮されていない。
【0006】
本発明は、上述した課題の少なくとも一部を解決するためになされたものであり、水電解装置の劣化を抑制しつつ、高い水素生成効率を実現することを目的とする。
【課題を解決するための手段】
【0007】
本発明は、上述の課題の少なくとも一部を解決するためになされたものであり、以下の形態として実現できる。
【0008】
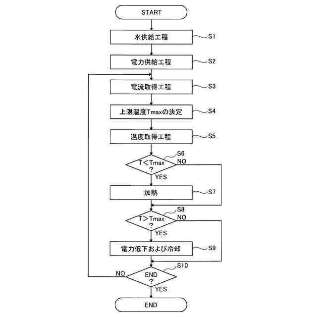
(1)本発明の一形態によれば、水電解システムが提供される。この水電解システムは、水の電気分解を行う水電解部と、前記水電解部に電力を供給する電力供給部と、前記電力供給部から前記水電解部に供給される電流の大きさを検出する電流検出部と、電気分解される水の温度である水温度を取得する温度取得部と、取得された前記水温度が予め設定された上限温度以下となるように、前記電力供給部から前記水電解部に供給される電力を制御する制御部と、を備え、前記制御部は、前記電流検出部により検出された検出電流の増加に応じて、前記上限温度を低下させる。
【0009】
この構成によれば、電力供給部から水電解部に供給された電力により水の電気分解が行われる。水の電気分解では、水電解部の抵抗に基づく発熱等により、電気分解される水が加熱されて水温度が上昇する。本構成では、固定値としての上限温度ではなく、電気分解の進行に伴い増減する検出電流に応じて変化する上限温度と、水温度との比較により水電解部への供給電力が制御される。検出電流が低い、すなわち、電気分解の進行度合いが高くない場合に、本構成では、上限温度が高く設定される。一方で、検出電流が高い、すなわち、電気分解の進行度合いが高い場合には、上限温度が低く設定される。可変の上限温度に応じて供給電力が制御されることで、水電解部の劣化を抑制しつつ、高い水素生成効率を実現できる。
【0010】
(2)上記態様の水電解システムにおいて、さらに、前記水電解部に印加される電圧を取得する電圧取得部を備え、前記制御部は、取得された電圧が上限電圧を超える場合に、前記検出電流が、前記上限電圧が前記水電解部に印加された際に前記水電解部に供給される上限電流以下となるように、前記水電解部に供給される電力を低下させてもよい。
この構成によれば、電気分解時の抵抗が高いと、水温度が上限温度以下であっても水電解部に印加される電圧が高い場合に、印加電圧が上限電圧以下に抑制される。これにより、水温度が上限温度以下であっても、上限電圧を超えた高い電圧が水電解部に印加されることによる水電解部の劣化の進行を抑制できる。
(【0011】以降は省略されています)
この特許をJ-PlatPat(特許庁公式サイト)で参照する
関連特許
株式会社豊田中央研究所
分散電源システム
今日
株式会社豊田中央研究所
ガスセンサ及びその製造方法
8日前
株式会社豊田中央研究所
吸着器の製造方法および吸着器
5日前
株式会社豊田中央研究所
水電解システムおよび水電解装置の制御方法
5日前
株式会社豊田中央研究所
水電解システム、水供給システム、および水供給方法
5日前
株式会社豊田中央研究所
情報処理システム、情報処理方法、及び情報処理プログラム
今日
株式会社豊田中央研究所
非水系二次電池の不活性化剤及び非水系二次電池の不活性化方法
8日前
株式会社豊田中央研究所
水電解システム、水電解方法、および、コンピュータプログラム
8日前
株式会社豊田中央研究所
走行軌跡生成装置、走行軌跡生成方法、及び走行軌跡生成プログラム
8日前
株式会社豊田中央研究所
電池評価装置、電池保護システム、電池評価方法および電池製造方法
14日前
株式会社堤水素研究所
水電解装置
6日前
株式会社神戸製鋼所
接点材料
5日前
本田技研工業株式会社
電解装置
1か月前
株式会社ケミカル山本
電解研磨装置用電極
6日前
株式会社カネカ
可撓性ガス拡散電極
1か月前
株式会社東芝
アルマイト処理方法
2か月前
本田技研工業株式会社
水電解スタック
1か月前
一般財団法人電力中央研究所
電解反応装置
1か月前
本田技研工業株式会社
差圧式電解装置
20日前
本田技研工業株式会社
CO2電解装置
1か月前
本田技研工業株式会社
電気化学スタック
2か月前
株式会社荏原製作所
蒸気発電プラント
1か月前
東レ株式会社
液体電解用多孔質輸送層およびその製造方法
5日前
SECカーボン株式会社
カソードアセンブリ
1か月前
本田技研工業株式会社
電解セルの製造方法
1か月前
メルテックス株式会社
極薄電解銅箔及びその製造方法
26日前
古河電気工業株式会社
端子
1か月前
NOK株式会社
セルユニット
1か月前
NOK株式会社
セルユニット
1か月前
旭化成株式会社
電解装置の運転方法
22日前
NOK株式会社
セルユニット
1か月前
株式会社豊田中央研究所
電極
1か月前
株式会社デンソー
電解装置
7日前
NOK株式会社
セルユニット
1か月前
株式会社神戸製鋼所
導電材料およびその製造方法
2か月前
三菱マテリアル株式会社
皮膜付端子材及びその製造方法
1か月前
続きを見る
他の特許を見る