TOP
|
特許
|
意匠
|
商標
特許ウォッチ
Twitter
他の特許を見る
公開番号
2025154702
公報種別
公開特許公報(A)
公開日
2025-10-10
出願番号
2024057847
出願日
2024-03-29
発明の名称
燃料製造方法及び燃料製造装置
出願人
トヨタ自動車株式会社
代理人
弁理士法人太陽国際特許事務所
主分類
C25B
3/26 20210101AFI20251002BHJP(電気分解または電気泳動方法;そのための装置)
要約
【課題】燃料製造する際の安全性に優れた燃料製造方法及び燃料製造装置を提供する。
【解決手段】工程1及び工程2を、この順で繰り返し行うことによりCH
4
を製造する燃料製造方法であって、工程1は、Ni
2
O
3
Hを表面に有する正極と、水素吸蔵合金を含む負極と、KHCO
3
水溶液とを備える電気化学セルを、正極と負極とにそれぞれ接続する電位制御装置により充電することにより、負極において水素吸蔵合金に水素を蓄積させ、その後充電を停止することを含み、工程2は、電気化学セルに、CO
2
及びKHCO
3
水溶液のうち少なくとも1つを含む原料を供給することにより、負極においてCH
4
を生成させ、その後原料の供給を停止することを含み、電気化学セルは、使用後のニッケル水素二次電池である燃料製造方法及び燃料製造装置による。
【選択図】図2
特許請求の範囲
【請求項1】
工程1及び工程2を繰り返し行うことによりCH
4
を製造する燃料製造方法であって、
前記工程1は、Ni
2
O
3
Hを表面に有する正極と、水素吸蔵合金を含む負極と、KHCO
3
水溶液とを備える電気化学セルを、前記正極と前記負極とにそれぞれ接続する電位制御装置により充電することにより、前記負極において前記水素吸蔵合金に水素を吸蔵させ、その後充電を停止することを含み、
前記工程2は、前記電気化学セルに、CO
2
及びKHCO
3
水溶液のうち少なくとも1つを含む原料を供給することにより、前記負極においてCH
4
を生成させ、その後前記原料の供給を停止することを含み、
前記電気化学セルは、使用後のニッケル水素二次電池である燃料製造方法。
続きを表示(約 810 文字)
【請求項2】
前記工程1に先立って、前記正極の表面にNi
2
O
3
Hを形成させる前処理工程を行い、
前記前処理工程は、Niを含む前記正極をアルカリ水溶液中に浸漬した状態で、前記正極に対して、互いに異なる第1電位及び第2電位を交互に繰り返し印加することを含む請求項1に記載の燃料製造方法。
【請求項3】
前記工程2を行う際に工程3を行い、
前記工程3は、前記工程2において生成したK
2
CO
3
溶液を回収し、前記K
2
CO
3
溶液と空気とを混合することによりKHCO
3
水溶液を生成し、生成したKHCO
3
水溶液を原料として前記電気化学セルに供給することを含む請求項1に記載の燃料製造方法。
【請求項4】
CH
4
を生成する第1ユニットと、CH
4
の原料を前記第1ユニットに供給する第2ユニットとを含み、
前記第1ユニットは、Ni
2
O
3
Hを表面に有する正極と、水素吸蔵合金を含み、CH
4
を生成する負極と、KHCO
3
水溶液とを有する電気化学セル、及び、前記正極と前記負極とにそれぞれ接続する電位制御装置を備え、
前記第2ユニットは、前記第1ユニットから回収したK
2
CO
3
溶液と空気とを混合する混合手段と、前記混合手段により生成したKHCO
3
水溶液を前記原料として前記第1ユニットに供給する供給手段とを備える燃料製造装置。
【請求項5】
前記電気化学セルは、使用後のニッケル水素二次電池である請求項4に記載の燃料製造装置。
発明の詳細な説明
【技術分野】
【0001】
本開示は、燃料製造方法及び燃料製造装置に関する。
続きを表示(約 2,900 文字)
【背景技術】
【0002】
ニッケルを触媒として、水素と二酸化炭素からメタンと水とを生成するサバティエ反応に始まり、電気化学反応を用いて、メタン、水素等の燃料を製造する各種の技術が開発されている。
例えば、アルカリ二次電池の負極に使用される水素吸蔵合金が含む水素を二酸化炭素と反応させることにより、炭化水素を生成する方法が知られている(特許文献1)。
また、プラチナ電極を用いた電気化学反応により、水溶液から水素ガスを発生させるシステムが知られている(特許文献2)。
【先行技術文献】
【特許文献】
【0003】
特開平10-008280号公報
特開2021-001403号公報
【発明の概要】
【発明が解決しようとする課題】
【0004】
電気化学反応によりメタン等の燃料を製造する際は、安全性、熱収支、コスト等にも優れることが望まれる。
例えば、電気化学反応により同一セル内でメタンと酸素とが発生する場合は、これらが反応するおそれがあるため、酸素を回収する等の手段が必要になる(特許文献1)。
また、電極に高価なプラチナを使用する場合には、燃料製造のコストを抑えることが難しくなる可能性がある(特許文献2)。
【0005】
本開示の一実施形態が解決しようとする課題は、燃料製造する際の安全性に優れた燃料製造方法及び燃料製造装置を提供することにある。
【課題を解決するための手段】
【0006】
課題を解決するための手段には、以下の態様が含まれる。
<1>工程1及び工程2を繰り返し行うことによりCH
4
を製造する燃料製造方法であって、工程1は、Ni
2
O
3
Hを表面に有する正極と、水素吸蔵合金を含む負極と、KHCO
3
水溶液とを備える電気化学セルを、正極と負極とにそれぞれ接続する電位制御装置により充電することにより、負極において水素吸蔵合金に水素を吸蔵させ、その後充電を停止することを含み、工程2は、電気化学セルに、CO
2
及びKHCO
3
水溶液のうち少なくとも1つを含む原料を供給することにより、負極においてCH
4
を生成させ、その後原料の供給を停止することを含み、電気化学セルは、使用後のニッケル水素二次電池である燃料製造方法。
<2>工程1に先立って、正極の表面にNi
2
O
3
Hを形成させる前処理工程を行い、前処理工程は、Niを含む正極をアルカリ水溶液中に浸漬した状態で、正極に対して、互いに異なる第1電位及び第2電位を交互に繰り返し印加することを含む<1>に記載の燃料製造方法。
<3>工程2を行う際に工程3を行い、工程3は、工程2において生成したK
2
CO
3
溶液を回収し、K
2
CO
3
溶液と空気とを混合することによりKHCO
3
水溶液を生成し、生成したKHCO
3
水溶液を原料として電気化学セルに供給することを含む<1>又は<2>に記載の燃料製造方法。
<4>CH
4
を生成する第1ユニットと、CH
4
の原料を第1ユニットに供給する第2ユニットとを含み、第1ユニットは、Ni
2
O
3
Hを表面に有する正極と、水素吸蔵合金を含み、CH
4
を生成する負極と、KHCO
3
水溶液とを有する電気化学セル、及び、正極と負極とにそれぞれ接続する電位制御装置を備え、第2ユニットは、第1ユニットから回収したK
2
CO
3
溶液と空気とを混合する混合手段と、混合手段により生成したKHCO
3
水溶液を原料として第1ユニットに供給する供給手段とを備える燃料製造装置。
<5>電気化学セルは、使用後のニッケル水素二次電池である<4>に記載の燃料製造装置。
【発明の効果】
【0007】
本開示の一実施形態によれば、燃料製造する際の安全性に優れた燃料製造方法及び燃料製造装置を提供が提供される。
【図面の簡単な説明】
【0008】
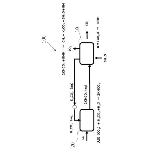
図1は、第1ユニットの構成を説明する説明図である。
図2は、燃料製造装置の構成を説明する説明図である。
図3は、第2ユニットの構成を説明する説明図である。
【発明を実施するための形態】
【0009】
以下、本開示の実施形態について図面を参照して説明する。
本開示において実施形態を図面を参照して説明する場合、当該実施形態の構成は図面に示された構成に限定されない。各図面において同一の符号を用いて示す構成要素は、同一の構成要素であることを意味する。図面において、一部の構成要素にのみ符号を付す場合がある。図面における寸法の比率は、必ずしも実際の寸法の比率を表すものではない。
本開示において、「~」を用いて示された数値範囲は、「~」の前後に記載される数値をそれぞれ最小値及び最大値として含む範囲を意味する。
本開示に段階的に記載されている数値範囲において、ある数値範囲で記載された上限値又は下限値は、他の段階的な記載の数値範囲の上限値又は下限値に置き換えてもよい。本開示に記載されている数値範囲において、ある数値範囲で記載された上限値又は下限値は、実施例に示されている値に置き換えてもよい。
本開示において、「工程」という語は、独立した工程だけでなく、他の工程と明確に区別できない場合であっても、その工程の所期の目的が達成されれば、本用語に含まれる。
本開示において、2以上の好ましい態様の組み合わせは、より好ましい態様である。
本開示において、各成分の量は、各成分に該当する物質が複数種存在する場合には、特に断らない限り、複数種の物質の合計量を意味する。
【0010】
<燃料製造装置>
本開示の燃料製造装置は、第1ユニットを含む。
図1に示すように、第1ユニット10は、電気化学セル11と、電位制御装置12とを備える。電気化学セル11は、Ni
2
O
3
Hを表面に有する正極13と、水素吸蔵合金を含む負極14と、電解質であるKHCO
3
水溶液15とを含む。
電気化学セル11は、さらに、生成したCH
4
、K
2
CO
3
溶液等を回収する回収口16、及び、生成するCH
4
の原料等を供給する供給口17を備えることが好ましい。
(【0011】以降は省略されています)
この特許をJ-PlatPat(特許庁公式サイト)で参照する
関連特許
トヨタ自動車株式会社
電池
9日前
トヨタ自動車株式会社
車体
1か月前
トヨタ自動車株式会社
電池
23日前
トヨタ自動車株式会社
方法
1か月前
トヨタ自動車株式会社
電池
1か月前
トヨタ自動車株式会社
配管
18日前
トヨタ自動車株式会社
電池
9日前
トヨタ自動車株式会社
車両
18日前
トヨタ自動車株式会社
電池
17日前
トヨタ自動車株式会社
車両
1か月前
トヨタ自動車株式会社
車両
1か月前
トヨタ自動車株式会社
方法
1か月前
トヨタ自動車株式会社
車両
3日前
トヨタ自動車株式会社
方法
2日前
トヨタ自動車株式会社
車両
17日前
トヨタ自動車株式会社
車両
1か月前
トヨタ自動車株式会社
電池
1か月前
トヨタ自動車株式会社
車両
1か月前
トヨタ自動車株式会社
車両
1か月前
トヨタ自動車株式会社
方法
1か月前
トヨタ自動車株式会社
車両
1か月前
トヨタ自動車株式会社
治具
1か月前
トヨタ自動車株式会社
車両
1か月前
トヨタ自動車株式会社
車両
1か月前
トヨタ自動車株式会社
車両
1か月前
トヨタ自動車株式会社
方法
1か月前
トヨタ自動車株式会社
方法
1か月前
トヨタ自動車株式会社
モータ
1か月前
トヨタ自動車株式会社
電動車
18日前
トヨタ自動車株式会社
ロータ
18日前
トヨタ自動車株式会社
自動車
1か月前
トヨタ自動車株式会社
電動機
1か月前
トヨタ自動車株式会社
正極層
1か月前
トヨタ自動車株式会社
電動車
17日前
トヨタ自動車株式会社
モータ
1か月前
トヨタ自動車株式会社
タンク
2日前
続きを見る
他の特許を見る