TOP
|
特許
|
意匠
|
商標
特許ウォッチ
Twitter
他の特許を見る
公開番号
2025178171
公報種別
公開特許公報(A)
公開日
2025-12-05
出願番号
2025083322
出願日
2025-05-19
発明の名称
貯蔵装置および水素の製造方法
出願人
日本特殊陶業株式会社
代理人
弁理士法人真明センチュリー
主分類
F17C
13/00 20060101AFI20251128BHJP(ガスまたは液体の貯蔵または分配)
要約
【課題】固体酸化物形の電解質を含むセルの破壊を低減できる貯蔵装置および水素の製造方法を提供する。
【解決手段】貯蔵装置は、燃料極と空気極とを隔離する固体酸化物形の電解質を含むセルが複数設けられたスタックと、スタックが発生する水素ガスを貯める貯蔵タンクと、スタックと貯蔵タンクとをつなぐガス管に接続され水素ガスを昇圧し貯蔵タンクへ送る昇圧装置と、スタックと昇圧装置との間の水素ガスの圧力を検知する第1の圧力計と、を備える。水素の製造方法は、スタックが発生する水素ガスを昇圧し貯蔵タンクへ送る昇圧装置とスタックとの間の水素ガスの圧力を第1の圧力計を用いて検知し、第1の圧力計の検知結果に基づいて昇圧装置の稼働の状態を制御する。
【選択図】図1
特許請求の範囲
【請求項1】
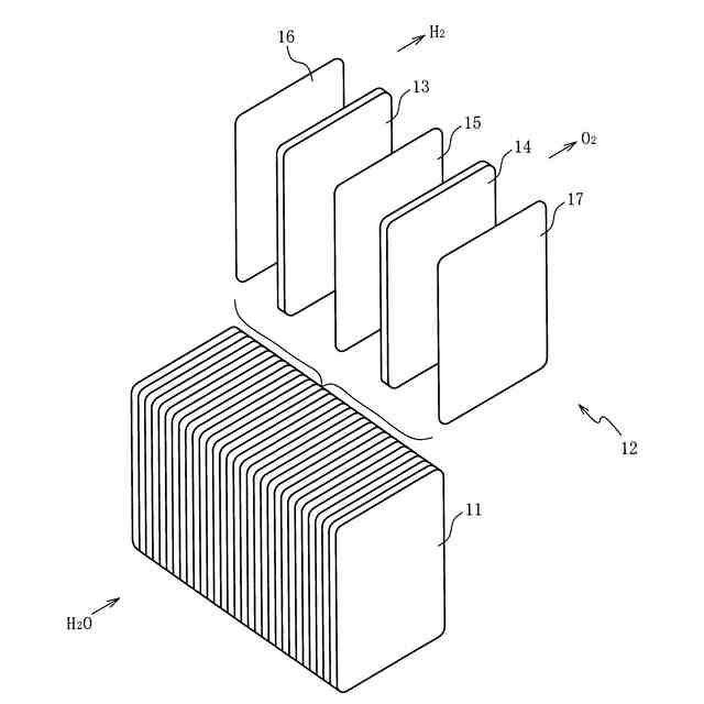
燃料極と空気極とを隔離する固体酸化物形の電解質を含むセルが複数設けられたスタックと、
前記スタックが発生する水素ガスを貯める貯蔵タンクと、を備える貯蔵装置であって、
前記スタックと前記貯蔵タンクとをつなぐガス管に接続され水素ガスを昇圧し前記貯蔵タンクへ送る昇圧装置と、
前記スタックと前記昇圧装置との間の水素ガスの圧力を検知する第1の圧力計と、を備える貯蔵装置。
続きを表示(約 1,000 文字)
【請求項2】
前記スタックと前記昇圧装置との間の前記ガス管に接続されたバッファタンクを備え、
前記第1の圧力計は、前記バッファタンクの中の水素ガスの圧力を検知する請求項1記載の貯蔵装置。
【請求項3】
燃料極と空気極とを隔離する固体酸化物形の電解質を含むセルが複数設けられたスタックと、
前記スタックにつながるガス管に接続され前記スタックが発生する水素ガスを昇圧する昇圧装置と、
前記スタックと前記昇圧装置との間の水素ガスの圧力を検知する第1の圧力計と、を備える貯蔵装置。
【請求項4】
前記第1の圧力計の検知結果に基づいて前記昇圧装置の稼働の状態を制御する制御装置をさらに備える請求項1から3のいずれかに記載の貯蔵装置。
【請求項5】
前記貯蔵タンクの中の水素ガスの圧力を検知する第2の圧力計を備える請求項1又は2に記載の貯蔵装置。
【請求項6】
前記第2の圧力計の検知結果に基づいて前記昇圧装置の稼働の状態を制御する制御装置をさらに備える請求項5記載の貯蔵装置。
【請求項7】
前記スタックと前記昇圧装置との間の前記ガス管に接続された、水素ガスを冷やす熱交換器と、
前記熱交換器の下流の前記ガス管に配置された、水素ガスの温度を検知する温度計と、を備える請求項1から3のいずれかに記載の貯蔵装置。
【請求項8】
燃料極と空気極とを隔離する固体酸化物形の電解質を含むセルが複数設けられたスタックが発生する水素ガスを貯蔵タンクに貯める水素の製造方法であって、
前記スタックが発生する水素ガスを昇圧し前記貯蔵タンクへ送る昇圧装置と前記スタックとの間の水素ガスの圧力を第1の圧力計を用いて検知し、前記第1の圧力計の検知結果に基づいて前記昇圧装置の稼働の状態を制御する水素の製造方法。
【請求項9】
前記貯蔵タンクの中の水素ガスの圧力を第2の圧力計を用いて検知し、前記第2の圧力計の検知結果に基づいて前記昇圧装置の稼働の状態を制御する請求項8記載の水素の製造方法。
【請求項10】
燃料極と空気極とを隔離する固体酸化物形の電解質を含むセルが複数設けられたスタックが発生する水素ガスを昇圧する昇圧装置と前記スタックとの間の水素ガスの圧力を第1の圧力計を用いて検知し、前記第1の圧力計の検知結果に基づいて前記昇圧装置の稼働の状態を制御する水素の製造方法。
発明の詳細な説明
【技術分野】
【0001】
本発明は水素ガスの貯蔵装置および水素の製造方法に関する。
続きを表示(約 1,400 文字)
【背景技術】
【0002】
イオン伝導性を有する電解質を含むセルが複数設けられたスタックを用いて水を電気分解し、発生した水素ガスを貯蔵タンクに貯める貯蔵装置は、貯蔵タンクに充填された水素ガスの圧力によってセルが破壊される可能性がある。セルの破壊を低減するため、特許文献1に開示された先行技術は、固体高分子形の電解質を含むスタックを水素貯蔵タンクの中に配置し、水素貯蔵タンクの中に水を貯める。スタックが発生した酸素ガスと水を貯める酸素貯蔵タンクと、水素貯蔵タンクと酸素貯蔵タンクとの間をつなぐ管と、管に配置されたバルブと、をさらに備え、水素貯蔵タンクの圧力と酸素貯蔵タンクの圧力との差が、セルが破壊しない範囲になるようにバルブを開閉し、管を使って水を水素貯蔵タンクと酸素貯蔵タンクとの間を行き来させる。
【先行技術文献】
【特許文献】
【0003】
特開2003-342773号公報
【発明の概要】
【発明が解決しようとする課題】
【0004】
先行技術における固体高分子形の電解質を含むスタックの作動温度は60℃から80℃程度のため、水が収容された水素貯蔵タンクの中にスタックを配置できる。しかし固体酸化物形の電解質を含むスタックを使う場合、固体高分子形の電解質の作動温度よりも作動温度が高く、スタックを作動温度に加熱すると水素貯蔵タンクに収容された水が気化してしまうため、先行技術が使えないという問題点がある。また、固体酸化物形の電解質を含むセルは、固体高分子形の電解質を含むセルに比べて靭性が低いため、燃料極側と空気極側との間の圧力差により破壊しやすいという問題点がある。
【0005】
本発明はこの問題点を解決するためになされたものであり、固体酸化物形の電解質を含むセルの破壊を低減できる貯蔵装置および水素の製造方法の提供を目的とする。
【課題を解決するための手段】
【0006】
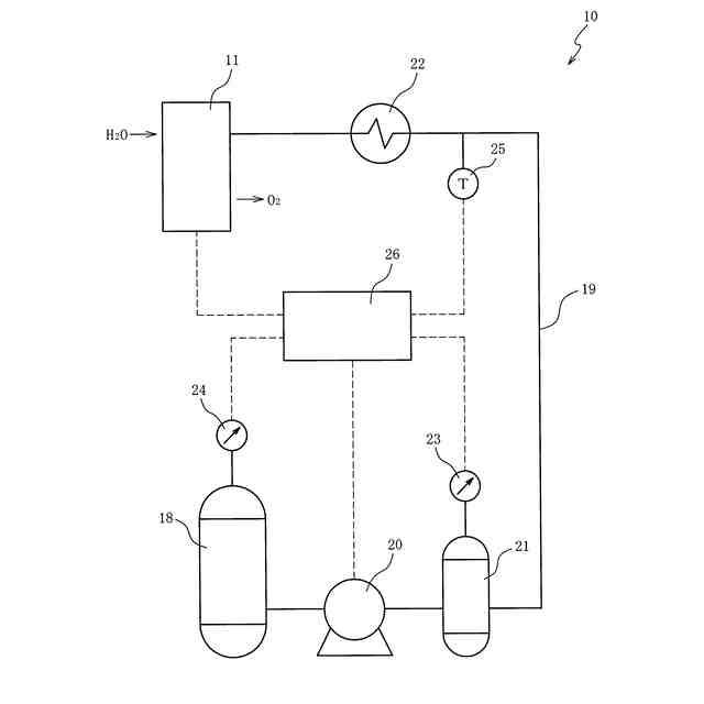
この目的を達成するための第1の態様は水素ガスの貯蔵装置であって、燃料極と空気極とを隔離する固体酸化物形の電解質を含むセルが複数設けられたスタックと、スタックが発生する水素ガスを貯める貯蔵タンクと、スタックと貯蔵タンクとをつなぐガス管に接続され水素ガスを昇圧し貯蔵タンクへ送る昇圧装置と、スタックと昇圧装置との間の水素ガスの圧力を検知する第1の圧力計と、を備える。
【0007】
第2の態様は、第1の態様において、スタックと昇圧装置との間のガス管に接続されたバッファタンクを備え、第1の圧力計は、バッファタンクの中の水素ガスの圧力を検知する。
【0008】
第3の態様は水素ガスの貯蔵装置であって、燃料極と空気極とを隔離する固体酸化物形の電解質を含むセルが複数設けられたスタックと、スタックにつながるガス管に接続されスタックが発生する水素ガスを昇圧する昇圧装置と、スタックと昇圧装置との間の水素ガスの圧力を検知する第1の圧力計と、を備える。
【0009】
第4の態様は、第1から第3の態様のいずれかにおいて、第1の圧力計の検知結果に基づいて昇圧装置の稼働の状態を制御する制御装置をさらに備える。
【0010】
第5の態様は、第1又は第2の態様において、貯蔵タンクの中の水素ガスの圧力を検知する第2の圧力計を備える。
(【0011】以降は省略されています)
この特許をJ-PlatPat(特許庁公式サイト)で参照する
関連特許
日本特殊陶業株式会社
賦形体
18日前
日本特殊陶業株式会社
センサ
11日前
日本特殊陶業株式会社
保持装置
23日前
日本特殊陶業株式会社
反応装置
4日前
日本特殊陶業株式会社
加熱装置
2日前
日本特殊陶業株式会社
ガスセンサ
2日前
日本特殊陶業株式会社
ガスセンサ
3日前
日本特殊陶業株式会社
ガスセンサ
9日前
日本特殊陶業株式会社
ガスセンサ
25日前
日本特殊陶業株式会社
アンテナ装置
4日前
日本特殊陶業株式会社
アンテナ装置
4日前
日本特殊陶業株式会社
FETセンサ
2日前
日本特殊陶業株式会社
アンテナ装置
4日前
日本特殊陶業株式会社
スパークプラグ
1か月前
日本特殊陶業株式会社
積層磁石及びモーター
2日前
日本特殊陶業株式会社
積層磁石及びモーター
2日前
日本特殊陶業株式会社
積層磁石及びモーター
2日前
日本特殊陶業株式会社
積層磁石及びモーター
2日前
日本特殊陶業株式会社
積層磁石及びモーター
2日前
日本特殊陶業株式会社
積層磁石及びモーター
2日前
日本特殊陶業株式会社
コンデンサモジュール
2日前
日本特殊陶業株式会社
検知装置および検知方法
1か月前
日本特殊陶業株式会社
超音波トランスデューサ
9日前
日本特殊陶業株式会社
超音波トランスデューサ
9日前
日本特殊陶業株式会社
非接触給電用のコイルユニット
3日前
日本特殊陶業株式会社
貯蔵装置および水素の製造方法
2日前
日本特殊陶業株式会社
無線給電用コイル、および無線給電用デバイス
17日前
日本特殊陶業株式会社
多孔性担体、触媒体、および多孔性担体の製造方法
11日前
日本特殊陶業株式会社
屋内緑化システム、制御方法、および制御プログラム
10日前
日本特殊陶業株式会社
酸素発生反応用触媒、電極、および電気化学デバイス
23日前
株式会社石井鐵工所
低温タンクの揚液装置
7か月前
株式会社石井鐵工所
低温タンクの揚液装置
5か月前
川崎重工業株式会社
竪型タンク
6か月前
川崎重工業株式会社
三重殻タンク
9か月前
川崎重工業株式会社
三重殻タンク
9か月前
川崎重工業株式会社
極低温流体用配管設備
2か月前
続きを見る
他の特許を見る