TOP
|
特許
|
意匠
|
商標
特許ウォッチ
Twitter
他の特許を見る
公開番号
2025177518
公報種別
公開特許公報(A)
公開日
2025-12-05
出願番号
2024084428
出願日
2024-05-23
発明の名称
FETセンサ
出願人
日本特殊陶業株式会社
代理人
個人
,
個人
主分類
G01N
27/414 20060101AFI20251128BHJP(測定;試験)
要約
【課題】センサの感度を向上させる技術を提供する。
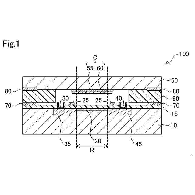
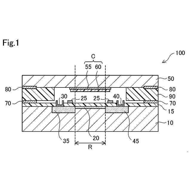
【解決手段】センサは、ソース電極と、ドレイン電極と、前記ソース電極と前記ドレイン電極と電気的に接続されたチャネル領域と、を備えた基板と、少なくとも前記チャネル領域を覆い、前記基板に積層されて形成される絶縁層と、前記基板に対向し、少なくとも、積層方向における前記チャネル領域と前記絶縁層が重なっている重なり領域において、前記絶縁層と離間して配置されるゲート電極と、を備えるFETセンサであって、前記ゲート電極は、前記チャネル領域に向かって突き出す凸部を備え、前記凸部は、前記ゲート電極と接する面から順に、金属層と、標的を捕捉するための捕捉膜と、が積層されていることを特徴とする。
【選択図】図1
特許請求の範囲
【請求項1】
ソース電極と、ドレイン電極と、前記ソース電極と前記ドレイン電極と電気的に接続されたチャネル領域と、を備えた基板と、少なくとも前記チャネル領域を覆い、前記基板に積層されて形成される絶縁層と、
前記基板に対向し、少なくとも、積層方向における前記チャネル領域と前記絶縁層が重なっている重なり領域において、前記絶縁層と離間して配置されるゲート電極と、を備えるFETセンサであって、
前記ゲート電極は、前記チャネル領域に向かって突き出す凸部を備え、
前記凸部は、前記ゲート電極と接する面から順に、金属層と、標的を捕捉するための捕捉膜と、が積層されている、
ことを特徴とする、FETセンサ。
続きを表示(約 380 文字)
【請求項2】
請求項1に記載のFETセンサにおいて、
前記金属層の面積は、前記チャネル領域の面積よりも大きい、
ことを特徴とする、FETセンサ。
【請求項3】
請求項1または請求項2に記載のFETセンサにおいて、
前記捕捉膜は、標的物質を捕捉するための空間が形成された分子インプリントポリマーを含む、
ことを特徴とする、FETセンサ。
【請求項4】
請求項1または請求項2に記載のFETセンサにおいて、
前記金属層は、貴金属によって形成されている、
ことを特徴とする、FETセンサ。
【請求項5】
請求項1または請求項2に記載のFETセンサにおいて、
前記ゲート電極は、卑金属によって形成されている、
ことを特徴とする、FETセンサ。
発明の詳細な説明
【技術分野】
【0001】
本開示は、FETセンサに関する。
続きを表示(約 1,200 文字)
【背景技術】
【0002】
従来から、電界効果トランジスタを用いたFETセンサが提案されている。例えば、非特許文献1には、チャネル領域の上に、外気の影響やごみの付着を防ぐ層が設けられたセンサが開示されている。
【先行技術文献】
【非特許文献】
【0003】
M. Burgmair, et al., Sensors and Actuators, B 95, (2003) 183-188.
【発明の概要】
【発明が解決しようとする課題】
【0004】
しかしながら、特許文献1に記載の技術には、センサの感度を向上させる観点において改善の余地があった。このため、センサの感度を向上させることができる技術が求められていた。
【課題を解決するための手段】
【0005】
本開示は、以下の形態として実現することができる。
【0006】
(1)本開示の一形態によれば、FETセンサが提供される。このセンサは、ソース電極と、ドレイン電極と、前記ソース電極と前記ドレイン電極と電気的に接続されたチャネル領域と、を備えた基板と、少なくとも前記チャネル領域を覆い、前記基板に積層されて形成される絶縁層と、前記基板に対向し、少なくとも、積層方向における前記チャネル領域と前記絶縁層が重なっている重なり領域において、前記絶縁層と離間して配置されるゲート電極と、を備えるFETセンサであって、前記ゲート電極は、前記チャネル領域に向かって突き出す凸部を備え、前記凸部は、前記ゲート電極と接する面から順に、金属層と、標的を捕捉するための捕捉膜と、が積層されていることを特徴とする。この形態のセンサによれば、ゲート電極と捕捉膜との間に金属層を備えることによって、捕捉膜とチャネル領域との距離を小さくできることにより、センサの感度を向上させることができる。
【0007】
(2)上記(1)に記載のセンサにおいて、前記金属層の面積は、前記チャネル領域の面積よりも大きくてもよい。この形態のセンサによれば、センサの感度を効率的に向上させることができる。
【0008】
(3)上記(1)または上記(2)に記載のセンサにおいて、前記捕捉膜は、標的物質を捕捉するための空間が形成された分子インプリントポリマーを含んでもよい。この形態のセンサによれば、センサの感度を向上させることができる。
【0009】
(4)上記(1)から上記(3)のいずれか一項に記載のセンサにおいて、前記金属層は、貴金属によって形成されていてもよい。この形態のセンサによれば、センサの感度を向上させることができる。
【0010】
(5)上記(1)から上記(4)のいずれか一項に記載のセンサにおいて、前記ゲート電極は、卑金属によって形成されていてもよい。この形態のセンサによれば、センサの感度を向上させることができる。
(【0011】以降は省略されています)
この特許をJ-PlatPat(特許庁公式サイト)で参照する
関連特許
日本特殊陶業株式会社
賦形体
18日前
日本特殊陶業株式会社
センサ
11日前
日本特殊陶業株式会社
保持装置
23日前
日本特殊陶業株式会社
反応装置
4日前
日本特殊陶業株式会社
加熱装置
2日前
日本特殊陶業株式会社
ガスセンサ
3日前
日本特殊陶業株式会社
ガスセンサ
9日前
日本特殊陶業株式会社
ガスセンサ
2日前
日本特殊陶業株式会社
アンテナ装置
4日前
日本特殊陶業株式会社
アンテナ装置
4日前
日本特殊陶業株式会社
FETセンサ
2日前
日本特殊陶業株式会社
アンテナ装置
4日前
日本特殊陶業株式会社
積層磁石及びモーター
2日前
日本特殊陶業株式会社
積層磁石及びモーター
2日前
日本特殊陶業株式会社
積層磁石及びモーター
2日前
日本特殊陶業株式会社
積層磁石及びモーター
2日前
日本特殊陶業株式会社
積層磁石及びモーター
2日前
日本特殊陶業株式会社
積層磁石及びモーター
2日前
日本特殊陶業株式会社
コンデンサモジュール
2日前
日本特殊陶業株式会社
超音波トランスデューサ
9日前
日本特殊陶業株式会社
超音波トランスデューサ
9日前
日本特殊陶業株式会社
非接触給電用のコイルユニット
3日前
日本特殊陶業株式会社
貯蔵装置および水素の製造方法
2日前
日本特殊陶業株式会社
無線給電用コイル、および無線給電用デバイス
17日前
日本特殊陶業株式会社
多孔性担体、触媒体、および多孔性担体の製造方法
11日前
日本特殊陶業株式会社
屋内緑化システム、制御方法、および制御プログラム
10日前
個人
視触覚センサ
2日前
日本精機株式会社
検出装置
1か月前
個人
採尿及び採便具
1か月前
個人
アクセサリー型テスター
1か月前
個人
計量機能付き容器
27日前
個人
高精度同時多点測定装置
1か月前
株式会社ミツトヨ
測定器
1か月前
甲神電機株式会社
電流検出装置
1か月前
日本精機株式会社
発光表示装置
10日前
株式会社カクマル
境界杭
17日前
続きを見る
他の特許を見る