TOP
|
特許
|
意匠
|
商標
特許ウォッチ
Twitter
他の特許を見る
10個以上の画像は省略されています。
公開番号
2025177290
公報種別
公開特許公報(A)
公開日
2025-12-05
出願番号
2024083964
出願日
2024-05-23
発明の名称
積層磁石及びモーター
出願人
日本特殊陶業株式会社
,
NDFEB株式会社
,
株式会社エフ・シー・シー
代理人
弁理士法人グランダム特許事務所
主分類
H01F
1/08 20060101AFI20251128BHJP(基本的電気素子)
要約
【課題】積層磁石の部位による磁気性能のバラツキを低減する。
【解決手段】絶縁接合層13を介して、複数の板磁石11が、積層された積層磁石10である。積層磁石断面を積層方向に垂直な方向に3等分して、順に第1領域R1、第2領域R2、及び第3領域R3に分けた際に、第1領域R1内に含まれる各絶縁接合層13の平均厚みを求め、これらを平均した第1平均厚みAは、15μm以上35μm以下であり、第2領域R2内に含まれる各絶縁接合層13の平均厚みを求め、これらを平均した第2平均厚みBは、15μm以上35μm以下であり、第3領域R3内に含まれる各絶縁接合層13の平均厚みを求め、これらを平均した第3平均厚みCは、15μm以上35μm以下である。第1平均厚みA、第2平均厚みB、及び第3平均厚みCのうちの最大値から、第1平均厚みA、第2平均厚みB、及び第3平均厚みCのうちの最小値を引いた値は、5.0μm以下である。
【選択図】図4
特許請求の範囲
【請求項1】
絶縁接合層を介して、複数の板磁石が、積層された積層磁石であって、
隣接する2つの前記板磁石は、前記絶縁接合層によって分断されることで、相互に非接触状態とされ、
前記板磁石は希土類元素を含み、
前記積層磁石の重心を通り積層方向に延びる仮想直線をとり、前記仮想直線を含む仮想平面で、前記積層磁石の断面積が最も大きくなるように切断した積層磁石断面を観察した場合に、
前記積層磁石断面を積層方向に垂直な方向に3等分して、順に第1領域、第2領域、及び第3領域に分けた際に、
前記第1領域内に含まれる各前記絶縁接合層の平均厚みを求め、これらを平均した第1平均厚みAは、15μm以上35μm以下であり、
前記第2領域内に含まれる各前記絶縁接合層の平均厚みを求め、これらを平均した第2平均厚みBは、15μm以上35μm以下であり、
前記第3領域内に含まれる各前記絶縁接合層の平均厚みを求め、これらを平均した第3平均厚みCは、15μm以上35μm以下であり、
前記第1平均厚みA、前記第2平均厚みB、及び前記第3平均厚みCのうちの最大値から、前記第1平均厚みA、前記第2平均厚みB、及び前記第3平均厚みCのうちの最小値を引いた値は、5.0μm以下である、積層磁石。
続きを表示(約 280 文字)
【請求項2】
前記積層磁石断面を観察した場合に、
前記板磁石と前記絶縁接合層との界面から前記板磁石側の深さ10μmまでの範囲には、前記板磁石の中央部よりもNdの濃度が10%以上高いNdリッチ相が存在している、請求項1に記載の積層磁石。
【請求項3】
前記絶縁接合層は、無機結晶を含有し、
前記無機結晶は、周期表第2A族フッ化物、及び軽希土類酸化物からなる群より選ばれる1種以上である、請求項1又は請求項2に記載の積層磁石。
【請求項4】
請求項1又は請求項2に記載の積層磁石を有する、モーター。
発明の詳細な説明
【技術分野】
【0001】
本開示は、積層磁石及びモーターに関する。
続きを表示(約 2,500 文字)
【背景技術】
【0002】
特許文献1は、磁石素体の表面に形成された抵抗層を備える希土類磁石を開示する。そして、複数の希土類磁石が積層され、樹脂でモールドされて用いられる積層磁石が示されている。
また、渦電流損失を低減することを目的として、種々の磁石が提案されている(例えば、特許文献2-4)。
【先行技術文献】
【特許文献】
【0003】
特開2017-174962号公報
特開2013-219911号公報
特開2007-157903号公報
特開2003-164083号公報
【発明の概要】
【発明が解決しようとする課題】
【0004】
近年、積層磁石には種々の要求がある。例えば、積層磁石の部位による磁気性能のバラツキが大きい場合があり、このバラツキを低減したいという要求がある。
本開示は、上記実情を鑑みてなされたものであり、積層磁石の部位による磁気性能のバラツキを低減することを目的とする。本開示は、以下の形態として実現することが可能である。
【課題を解決するための手段】
【0005】
〔1〕
絶縁接合層を介して、複数の板磁石が、積層された積層磁石であって、
隣接する2つの前記板磁石は、前記絶縁接合層によって分断されることで、相互に非接触状態とされ、
前記板磁石は希土類元素を含み、
前記積層磁石の重心を通り積層方向に延びる仮想直線をとり、前記仮想直線を含む仮想平面で、前記積層磁石の断面積が最も大きくなるように切断した積層磁石断面を観察した場合に、
前記積層磁石断面を積層方向に垂直な方向に3等分して、順に第1領域、第2領域、及び第3領域に分けた際に、
前記第1領域内に含まれる各前記絶縁接合層の平均厚みを求め、これらを平均した第1平均厚みAは、15μm以上35μm以下であり、
前記第2領域内に含まれる各前記絶縁接合層の平均厚みを求め、これらを平均した第2平均厚みBは、15μm以上35μm以下であり、
前記第3領域内に含まれる各前記絶縁接合層の平均厚みを求め、これらを平均した第3平均厚みCは、15μm以上35μm以下であり、
前記第1平均厚みA、前記第2平均厚みB、及び前記第3平均厚みCのうちの最大値から、前記第1平均厚みA、前記第2平均厚みB、及び前記第3平均厚みCのうちの最小値を引いた値は、5.0μm以下である、積層磁石。
【発明の効果】
【0006】
本開示によれば、積層磁石の部位によるバラツキを低減できる。
【図面の簡単な説明】
【0007】
積層磁石の一例を模式的に表す斜視図である。
積層磁石の上面図である。
積層磁石を仮想平面で切断した断面図である。
積層磁石を仮想平面で切断した断面図である。
厚みの測定対象たる絶縁接合層を説明する断面図である。
積層磁石の他の例2を模式的に表す斜視図である。
積層磁石の他の例2の上面図である。
図7の積層磁石を仮想平面で切断した断面図である。
モーターの一部を模式的に表す断面図である。
ローターの平面図である。
【発明を実施するための形態】
【0008】
〔2〕
前記積層磁石断面を観察した場合に、
前記板磁石と前記絶縁接合層との界面から前記板磁石側の深さ10μmまでの範囲には、前記板磁石の中央部よりもNdの濃度が10%以上高いNdリッチ相が存在している、〔1〕に記載の積層磁石。
〔3〕
前記絶縁接合層は、無機結晶を含有し、
前記無機結晶は、周期表第2A族フッ化物、及び軽希土類酸化物からなる群より選ばれる1種以上である、〔1〕又は〔2〕に記載の積層磁石。
〔4〕
〔1〕又は〔2〕に記載の積層磁石を有する、モーター。
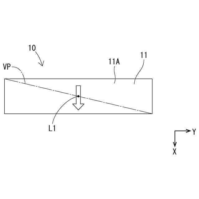
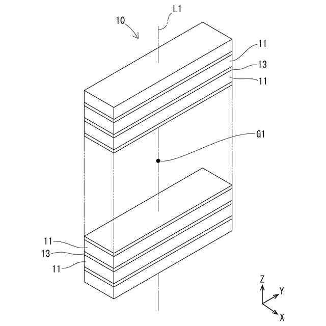
以下、本開示を詳しく説明する。なお、本明細書において、数値範囲について「-」を用いた記載では、特に断りがない限り、下限値及び上限値を含むものとする。例えば、「10-20」という記載では、下限値である「10」、上限値である「20」のいずれも含むものとする。すなわち、「10-20」は、「10以上20以下」と同じ意味である。また、本明細書において、各数値範囲の上限値及び下限値は、任意に組み合わせることができる。以下、各図におけるZ軸方向は、複数の板磁石11の並び方向(積層方向)である。Z軸方向と直交する一の方向をX軸方向(横方向とも称する)とし、Z軸方向及びX軸方向と直交する方向をY軸方向(縦方向とも称する)とする。
なお、いずれの図面も開示内容を説明するための概念図であり、実際の寸法を正確に示したものではない。
【0009】
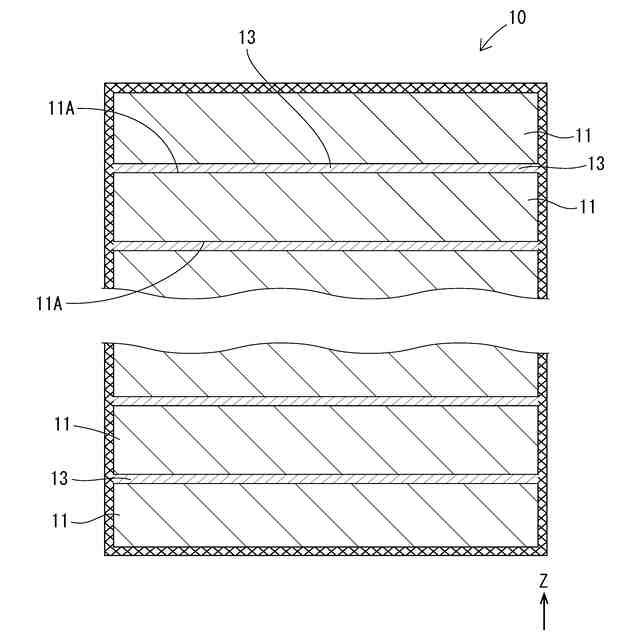
1.積層磁石10
積層磁石10は、絶縁接合層13を介して、複数の板磁石11が、積層されている。隣接する2つの板磁石11,11は、絶縁接合層13によって分断されることで、相互に非接触状態とされている。
【0010】
(1)板磁石11
板磁石11は希土類元素を含み、板磁石11全体を100質量%とした場合に、
総希土類元素量は、28.50質量%以上31.75質量%以下、
Co(コバルト)の含有量は、0.80質量%以上1.00質量%以下、
Cu(銅)の含有量は、0.02質量%以上0.18質量%以下、
Al(アルミニウム)の含有量は、0.12質量%以上0.28質量%以下、
Ga(ガリウム)の合計含有量は、0.15質量%以上0.25質量%以下、
B(ホウ素)の含有量は、0.92質量%以上1.02質量%以下であり、
残部はFe(鉄)及び不可避的不純物からなることが好ましい。
(【0011】以降は省略されています)
この特許をJ-PlatPat(特許庁公式サイト)で参照する
関連特許
日本特殊陶業株式会社
賦形体
17日前
日本特殊陶業株式会社
センサ
10日前
日本特殊陶業株式会社
センサ
1か月前
日本特殊陶業株式会社
保持装置
29日前
日本特殊陶業株式会社
保持装置
22日前
日本特殊陶業株式会社
反応装置
3日前
日本特殊陶業株式会社
加熱装置
1日前
日本特殊陶業株式会社
圧電素子
1か月前
日本特殊陶業株式会社
保持装置
1か月前
日本特殊陶業株式会社
加熱装置
1か月前
日本特殊陶業株式会社
化学センサ
1か月前
日本特殊陶業株式会社
ガスセンサ
1日前
日本特殊陶業株式会社
ガスセンサ
2日前
日本特殊陶業株式会社
ガスセンサ
8日前
日本特殊陶業株式会社
ガスセンサ
24日前
日本特殊陶業株式会社
電極埋設部材
1か月前
日本特殊陶業株式会社
アンテナ装置
3日前
日本特殊陶業株式会社
アンテナ装置
3日前
日本特殊陶業株式会社
アンテナ装置
3日前
日本特殊陶業株式会社
FETセンサ
1日前
日本特殊陶業株式会社
スパークプラグ
29日前
日本特殊陶業株式会社
スパークプラグ
1か月前
日本特殊陶業株式会社
無鉛圧電磁器組成物
1か月前
日本特殊陶業株式会社
アンモニアの合成装置
1か月前
日本特殊陶業株式会社
積層磁石及びモーター
1日前
日本特殊陶業株式会社
積層磁石及びモーター
1日前
日本特殊陶業株式会社
アンモニアの合成装置
1か月前
日本特殊陶業株式会社
積層磁石及びモーター
1日前
日本特殊陶業株式会社
積層磁石及びモーター
1日前
日本特殊陶業株式会社
積層磁石及びモーター
1日前
日本特殊陶業株式会社
セルスタックシステム
29日前
日本特殊陶業株式会社
コンデンサモジュール
1日前
日本特殊陶業株式会社
積層磁石及びモーター
1日前
日本特殊陶業株式会社
検知装置および検知方法
29日前
日本特殊陶業株式会社
超音波トランスデューサ
8日前
日本特殊陶業株式会社
電極および蓄電デバイス
1か月前
続きを見る
他の特許を見る